ГОСТ ISO 11050-2013
МЕЖГОСУДАРСТВЕННЫЙ СТАНДАРТ
МУКА ПШЕНИЧНАЯ И КРУПКА ИЗ ТВЕРДОЙ ПШЕНИЦЫ
Метод определения загрязнений животного происхождения
Wheat flour and durum wheat semolina. Determination of impurities of animal origin
МКС 67.060
Дата введения 2014-07-01
Предисловие
Цели, основные принципы и основной порядок проведения работ по межгосударственной стандартизации установлены ГОСТ 1.0-92 "Межгосударственная система стандартизации. Основные положения" и ГОСТ 1.2-2009 "Межгосударственная система стандартизации. Стандарты межгосударственные, правила и рекомендации по межгосударственной стандартизации. Правила разработки, принятия, применения, обновления и отмены"
Сведения о стандарте
1 ПОДГОТОВЛЕН Государственным научным учреждением Всероссийским научно-исследовательским институтом зерна и продуктов его переработки Российской академии сельскохозяйственных наук (ГНУ ВНИИЗ Россельхозакадемии)
2 ВНЕСЕН Федеральным агентством по техническому регулированию и метрологии (ТК 002)
3 ПРИНЯТ Межгосударственным советом по стандартизации, метрологии и сертификации (протокол от 7 июня 2013 г. N 43)
За принятие проголосовали:
Краткое наименование страны по МК (ИСО 3166) 004-97 | Код страны по МК (ИСО 3166) 004-97 | Сокращенное наименование национального органа по стандартизации |
Кыргызстан | KG | Кыргызстандарт |
Казахстан | KZ | Госстандарт Республики Казахстан |
Российская Федерация | RU | Росстандарт |
Таджикистан | TJ | Таджикстандарт |
Узбекистан | UZ | Узстандарт |
4 Настоящий стандарт идентичен международному стандарту ISO 11050:1993* "Wheat flour and durum wheat semolina - Determination of impurities of animal origin" (Мука пшеничная и крупка из твердой пшеницы. Метод определения загрязнений животного происхождения)
________________
* Доступ к международным и зарубежным документам, упомянутым в тексте, можно получить, обратившись в Службу поддержки пользователей. - .
Международный стандарт разработан подкомитетом SC 4 "Зерновые и бобовые" технического комитета по стандартизации ISO/TC 34 "Пищевые продукты" Международной организации по стандартизации (ISO).
Перевод с английского языка (en).
Официальные экземпляры международного стандарта, на основе которого подготовлен настоящий стандарт, и международных стандартов, на которые даны ссылки, имеются в национальных (государственных) органах по стандартизации указанных выше государств.
Степень соответствия - идентичная (IDT).
Настоящий стандарт подготовлен на основе применения ГОСТ Р ИСО 11050-99
5 Приказом Федерального агентства по техническому регулированию и метрологии от 28 июня 2013 г. N 295-ст межгосударственный стандарт ГОСТ ISO 11050-2013 введен в действие в качестве национального стандарта Российской Федерации с 1 июля 2014 г.
6 ВВЕДЕН ВПЕРВЫЕ
Информация об изменениях к настоящему стандарту публикуется в ежегодно издаваемом информационном указателе "Национальные стандарты", а текст изменений и поправок - в ежемесячно издаваемом информационном указателе "Национальные стандарты". В случае пересмотра (замены) или отмены настоящего стандарта соответствующее уведомление будет опубликовано в ежемесячно издаваемом информационном указателе "Национальные стандарты". Соответствующая информация, уведомление и тексты размещаются также в информационной системе общего пользования - на официальном сайте Федерального агентства по техническому регулированию и метрологии в сети Интернет
1 Область применения
Настоящий стандарт устанавливает метод определения содержания загрязнений животного происхождения в пшеничной муке с добавками или без добавок, характеризующейся зольностью не более 0,63% (по массе), и в крупках из твердой пшеницы.
Данный метод заключается в выделении и количественном определении загрязнений животного происхождения (например, насекомых на всех стадиях их развития, частиц насекомых, клещей и их частиц, щетинок грызунов и их частиц).
2 Термины и определения
В настоящем стандарте применен следующий термин с соответствующим определением.
2.1 загрязнения животного происхождения: Компоненты животного происхождения [яйца, личинки, нимфы, имаго (взрослые особи) насекомых и их частицы, щетинки грызунов и их частицы, клещи и их частицы], выделяемые из продукта по методу, установленному в настоящем стандарте.
3 Сущность метода
Гидролиз исследуемой навески в растворе соляной кислоты при температуре кипения. Концентрация нерастворимых частиц (помимо загрязнений животного происхождения могут присутствовать иные загрязнения) определяется на границе раздела вода - углеводород. Выделение путем фильтрации на фильтровальную бумагу или фильтрующую мембрану, микроскопическое исследование и подсчет при отраженном свете загрязнений животного происхождения.
4 Реактивы
Следует использовать реактивы официально признанной аналитической чистоты и дистиллированную или деминерализованную воду, либо воду эквивалентной чистоты.
Все используемые реактивы должны быть тщательно профильтрованы перед использованием или после их приготовления. Такого рода фильтрация может быть осуществлена с использованием фильтровальной ткани с максимальным размером ячейки от 10 до 30 мкм, стойкой к действию кислот и растворителей (из нейлонового или полиэтиленового волокна).
4.1 Этанол или метанол, 95% (по объему).
4.2 Раствор этанола или метанола, 50% (по объему).
4.3 Этанол/глицерин, смесь в пропорции 1:1 по объему.
4.4 Раствор соляной кислоты, концентрированный (
1,18 г/см).
4.5 Парафиновое масло (известное под названием "вазелиновое масло"), жидкое, характеризующееся вязкостью, не превышающей 60 мПа·с при температуре 20 °С.
4.6 Жидкое моющее вещество, непенящееся.
4.7 Жидкое моющее вещество, 1%-ный (по объему) раствор моющего вещества (4.6) в промывалке.
5 Аппаратура
Используют обычную аппаратуру, в том числе приведенную ниже.
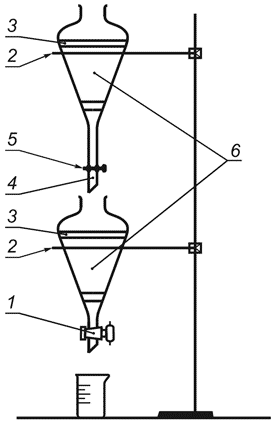
5.1 Делительные воронки, конические, вместимостью 1000 см, оснащенные несмазываемым краном с гибкой трубкой и зажимом Мора (зажимом для резиновых трубок) (см. фильтровальную установку, изображенную на рисунке 1).

1 - политетрафторэтиленовый кран; 2 - поддерживающее кольцо; 3 - легкая углеводородная фаза; 4 - гибкая трубка; 5 - зажим Мора; 6 - "тяжелая" водная фаза
Рисунок 1 - Фильтровальная установка
5.2 Высокий химический стакан вместимостью 800 см, оснащенный часовым стеклом, имеющим соответствующие размеры для того, чтобы служить в качестве крышки.
5.3 Кювета-кристаллизатор или чаша-кристаллизатор вместимостью не менее 5 дм, высотой чуть меньше высоты химического стакана (5.2), пригодный для использования в качестве охлаждающей ванны.
5.4 Градуированные (мерные) цилиндры вместимостью 25, 50 и 500 см.
5.5 Промывалки вместимостью 1 дм, градуированные шагом 50 см
и оснащенные гибкой трубкой.
5.6 Эластичная защитная пленка, парафинированная или из пластичного материала.
5.7 Бумага фильтровальная, беззольная, с быстрыми фильтрационными характеристиками, диаметром, соответствующим диаметру фильтровальной установки (8.8), то есть 50 или 90 мм, или фильтрующая мембрана диаметром от 47 до 50 мм, изготовленная из нитроцеллюлозы и обладающая пористостью 5 или 8 мкм, на которую шариковой ручкой или твердым графитовым карандашом наносят тонкие параллельные линии, расположенные на расстоянии 5 мм друг от друга.
_______________
Whatman 41 является примером фильтровальной бумаги, имеющейся в продаже. Информация приведена для удобства пользователей настоящим стандартом; утверждение марки фильтровальной бумаги организацией ИСО не требуется.
5.8 Фильтровальная установка типа воронки Бюхнера, пригодная для размещения фильтра (5.7) и оснащенная конической втулкой-держателем для подсоединения к колбе при фильтровании (5.16).
5.9 Аналитические весы, с допустимой погрешностью взвешивания ±0,1 г.
5.10 Оптический или стереоскопический микроскоп, известный под названием "бинокулярное увеличительное стекло", дающий возможность получать увеличения, близкие к 25- и 50-кратному увеличению, с очень высокими оптическими характеристиками, используемый в сочетании с:
a) окулярами, обеспечивающими 15- или 20-кратное увеличение (предоставляющими, таким образом, возможность получения 75- или 80-кратного общего максимального увеличения наблюдаемого объекта в зависимости от модели оборудования), и
b) окуляром с микрометрическим перемещением нити, предназначенным для определения размеров любых загрязнений.
5.11 Чашка Петри, стерильная, выполненная из пластика или стекла, диаметром 90 мм.
5.12 Тонкая игла, выполненная из стали, установленная в зажимном иглодержателе.
5.13 Стеклянная палочка, снабженная резиновым или пластиковым защитным наконечником.
5.14 Магнитная мешалка-нагреватель, с терморегулятором, позволяющая доводить температуру воды до кипения.
5.15 Пружинные зажимы, пригодные для удерживания фильтровальной бумаги или фильтрующих мембран (5.7).
5.16 Колба для фильтрования вместимостью 1 дм, соединяющаяся с вакуумным насосом (5.18) или с водовсасывающим насосом (5.18).
5.17 Капельница.
5.18 Вакуумный или водовсасывающий насос, дающий возможность добиваться остаточного давления ниже 1000 Па (10 мбар).
Примечание - При использовании водовсасывающего насоса увеличивается продолжительность фильтрования.
5.19 Термостат, поддерживающий температуру от 37 °С до 40 °С.
6 Отбор проб
При использовании данного метода испытаний важно, чтобы все оборудование, используемое для отбора проб, в промежутках между отдельными процедурами по отбору проб подвергалось тщательной очистке сжатым воздухом. Не допускается использование щеток или текстильных материалов.
Настоятельно рекомендуется, чтобы пользователи настоящего стандарта, по возможности, могли удостовериться, что установленные требования соблюдались в течение всей процедуры отбора проб.
Отбор проб не является частью метода, изложенного в настоящем стандарте. Рекомендуемый метод отбора проб изложен в [1].
Масса отобранной лабораторной пробы должна быть не менее 600 г.
7 Проведение анализа
Важное замечание: Все процедуры при анализе должны проводиться в чистых помещениях, вдали от сквозняков или предпочтительно под непроветриваемым навесом. Всю стеклянную аппаратуру следует вымыть, ополоснуть в воде, высушить досуха, а затем накрыть защитной пленкой (5.6) до ее использования.
7.1 Анализируемая навеска
Отобранную пробу, хранящуюся в упаковке, тщательно размешивают, используя для этого шпатель с длинной ручкой. Отобрав навеску в нескольких местах в химический стакан (5.2), взвешивают 50 г продукта.
7.2 Гидролиз
7.2.1 Добавляют 100 см профильтрованной воды небольшими частями к анализируемой навеске в химическом стакане, осуществляя при этом постоянное перемешивание стеклянной палочкой (5.13) во избежание образования комков. Предварительно ополаскивают стенки химического стакана и стеклянную палочку в 200 см
профильтрованной воды. Стеклянную палочку помещают в сосуд, чтобы защитить ее от пыли, например в цилиндр, снабженный крышкой.
7.2.2 Помещают химический стакан на магнитную мешалку (5.14). Вводят стержневой (полосовой) магнит, предварительно прополоскав его в профильтрованной воде, а затем устанавливают мешалку на низкую скорость вращения. Добавляют в раствор небольшими порциями 20 см концентрированной соляной кислоты (4.4), отмеренной градуированным цилиндром (5.4). Накрывают химический стакан часовым стеклом. Включают нагревательный элемент магнитной мешалки и постепенно доводят температуру содержимого химического стакана до кипения (во избежание карбонизации из-за образования крахмальной пасты). После того как будет достигнута однородность пасты, добавляют 30 см
парафинового масла (4.5), отмеренного градуированным цилиндром (5.4), и кипятят в течение 30 мин при слабом вращении мешалки.
7.2.3 Закрывают химический стакан защитной пленкой (5.6) и дают остыть до температуры, близкой к температуре окружающей среды, в кювете или чаше-кристаллизаторе (5.3), в которых циркулирует холодная вода.
7.3 Выделение загрязнений
7.3.1 Устанавливают делительные воронки (5.1) таким образом, чтобы жидкость из верхней воронки вытекала непосредственно в нижнюю воронку (см. рисунок 1).
7.3.2 Вливают 30 см парафинового масла (4.5) в нижнюю делительную воронку.
7.3.3 Извлекают стержневой (полосовой) магнит из химического стакана и ополаскивают его, используя для этого раствор спирта (4.2), собирают жидкость, оставшуюся после ополаскивания, в химический стакан. Переливают содержимое химического стакана при помощи стеклянной палочки, как описано в 7.2.1, в верхнюю делительную воронку. Ополаскивают стеклянную палочку и стенки химического стакана, используя промывалку (5.5), раствором спирта в количестве от 30 до 50 см (4.2), тщательно очищают стенки химического стакана стеклянной палочкой и сливают жидкость, оставшуюся после ополаскивания, в верхнюю делительную воронку. При необходимости ополаскивание проводят с использованием около 10 см
этанола или метанола (4.1) с применением той же процедуры, которая описана выше.
7.3.4 Дополняют содержимое верхней делительной воронки раствором спирта (4.2) таким образом, чтобы уровень жидкости достиг самой широкой части воронки (необходимо будет добавить от 100 до 250 см раствора спирта в зависимости от тех количеств, которые использовались во время ополаскивания).
Снимают делительную воронку с держателя и, удерживая ее в вертикальном положении, круговыми движениями добиваются завихрения содержимого в течение 2 мин, чтобы заставить жидкость тонким слоем стекать по стенкам в круговом направлении. Возвращают делительную воронку на держатель и оставляют ее в этом положении, как минимум, на 1 ч.
7.3.5 Сливают при помощи зажима Мора основную часть водной фазы в нижнюю делительную воронку, оставив в верхней воронке жидкость толщиной слоя около 3 см.
7.3.6 Снимают нижнюю делительную воронку с держателя и добиваются завихрения содержимого тем же способом, что и в 7.3.4. Возвращают делительную воронку на держатель и оставляют ее в этом положении на 1 ч.
7.3.7 Сливают основную часть водной фазы, оставив в нижней воронке жидкость толщиной слоя около 3 см.
7.3.8 Добавляют непосредственно в верхнюю делительную воронку 300 см раствора спирта (4.2) так, чтобы раствор стекал по стенке. Создают завихрение содержимого в течение 2 мин точно также, как это описано в 7.3.4, и оставляют содержимое отстаиваться на 1 ч.
7.3.9 Сливают основную часть водной фазы в нижнюю делительную воронку, оставив в верхней воронке жидкость толщиной слоя около 3 см.
7.3.10 Добавляют 300 см раствора спирта (4.2) в каждую из делительных воронок так, чтобы раствор стекал по стенке. Создают завихрение содержимого каждой из воронок в течение 2 мин тем же способом, который описан в 7.3.4, и оставляют содержимое отстаиваться на 30 мин.
7.3.11 Сливают основную часть водной фазы из каждой воронки, оставив несколько миллилитров.
7.3.12 В случае необходимости повторяют процедуры, описанные в 7.3.10.
Примечание - Содержимое обеих воронок должно быть готово для фильтрования приблизительно в одно и то же время.
7.4 Фильтрование
7.4.1 Помещают фильтр (5.7) в фильтровальную установку (5.8). Прикрепляют установку к колбе для фильтрования (5.16) и соединяют колбу с вакуумным насосом (5.18). Смачивают фильтр небольшим количеством парафинового масла (4.5) и включают вакуумный насос.
7.4.2 Переливают содержимое двух делительных воронок непосредственно в фильтровальную установку.
7.4.3 Добавляют, используя капельницу (5.17), около четырех капель моющего вещества (4.6) в верхнюю делительную воронку, а затем добавляют 10 см профильтрованной воды. Вставляют пробку в воронку и энергично размешивают содержимое, создавая его завихрение по стенкам в круговом направлении и несколько раз перевернув воронку.
Возвращают делительную воронку на подставку и дают возможность содержимому воронки стечь в нижнюю делительную воронку. Вставляют пробку в нижнюю делительную воронку и размешивают ее содержимое, как описано выше. Возвращают делительную воронку на подставку и дают возможность содержимому воронки стечь в фильтровальную установку.
7.4.4 Ополаскивают стенки каждой из делительных воронок, используя промывалку (5.5), раствором спирта (4.2) в количестве 20 см, промыв сначала верхнюю делительную воронку, а затем нижнюю. Дают возможность раствору стечь на фильтр в фильтровальной установке и промывают резервуар фильтровальной установки раствором спирта. Промывают основание цилиндрической части этанолом или метанолом (4.1), а затем, пользуясь промывалкой, небольшим количеством раствора моющего вещества (4.7) для того, чтобы любые загрязнения, остающиеся вне поля зрения, попали на фильтр.
7.4.5 Извлекают фильтр, пользуясь пружинным зажимом (5.15), и помещают его на дно чашки Петри. Затем чашку Петри, частично накрытую крышкой или перевернутой воронкой (во избежание случайного загрязнения), помещают в термостат (5.19), отрегулированный на температуру от 37 °С до 40 °С. Если фильтр высох, смачивают его несколькими каплями смеси этанол/глицерин (4.3), пользуясь капельницей (5.17).
7.5 Применение микроскопа
Микроскопическое проведение анализа осуществляют в соответствии с приложениями А и D.
Важное замечание: Лаборант должен иметь соответствующую квалификацию, чтобы быть способным отличать остатки насекомых или клещей от частиц околоплодника (перикарпия), которые присутствуют в муке порой в больших количествах.
Пользуясь микроскопом (5.10) с 25-кратным, а затем 50-кратным увеличением, идентифицируют следующие категории загрязнений на каждой нанесенной полосе фильтра:
- щетинка грызуна и частицы щетинки;
- целые насекомые (личинка, нимфа или жук);
- частицы насекомых (включая чешуйки бабочек), яйца насекомых, целые клещи и их частицы.
Подсчитывают число загрязнений размером, превышающим 30 мкм, в каждой категории и, если потребуется, определяют минимальный размер загрязнений в каждой категории, пользуясь окуляром с микрометрическим перемещением нити. В случае необходимости отдельно может быть определено количество загрязнений, сгруппированных вместе, в категории .
Может оказаться необходимым использование 75- или 80-кратного увеличения для исследования загрязнений, которые трудно идентифицировать.
Может оказаться целесообразным использование закрепленной иглы (5.12) для исследования (взятия проб) различных органических веществ, присутствующих на фильтре, или для их перемещения в чистую область в центре фильтра.
Кроме того, отмечают наличие и характер любых загрязнений, которые не имеют человеческого или животного происхождения, а также любые загрязнения человеческого или животного происхождения, но не определенных выше в категориях . Составляют детальное описание таких загрязнений, с целью их точного указания в протоколе испытаний (например, цветные нити синтетического материала, металлический мусор, минеральные частицы, человеческие волосы, кошачья шерсть, птичьи перья или пух и т.д.).
7.6 Число определений
Проводят два определения с использованием навесок, отобранных из одной и той же лабораторной пробы.
8 Обработка результатов анализа
Если требования к повторяемости (раздел 9) удовлетворяются, результаты выражают отдельно для каждого фильтра в форме количества загрязнений, обнаруженных в каждой из категорий.
Если требования к повторяемости не удовлетворяются, проводят два новых определения после тщательного перемешивания лабораторной пробы.
Если хотя бы одна щетинка грызуна или частица щетинки будет обнаружена в одной из анализируемых навесок, проводят четыре новых определения и протоколируют результаты отдельно для каждого из шести определений.
9 Повторяемость
Абсолютное значение расхождения между двумя независимыми единичными результатами испытаний, полученными при использовании одного и того же метода определения, на одном и том же испытуемом материале, в одной и той же лаборатории, одним и тем же оператором, с использованием одного и того же оборудования в пределах короткого интервала времени, не должно превышать десяти частиц.
10 Протокол испытаний
Пример протокола испытаний приведен в приложении В.
В протоколе испытаний должны быть четко указаны:
- метод отбора проб (если он известен) и были ли удовлетворены особые требования, изложенные в разделе 7;
- используемый метод;
- полученный результат (результаты) анализов;
- при условии соблюдения повторяемости, полученный окончательный результат.
Необходимо упомянуть все подробности проведения испытаний, не указанные конкретно в настоящем стандарте или рассматриваемые в качестве необязательных, с указанием обстоятельств, способных повлиять на результаты.
Протокол испытаний должен включать всю информацию, необходимую для полной идентификации пробы.
Приложение А
(справочное)
Определения и характеристики частиц, обнаруженных на фильтрах
А.1 Определения
В настоящем приложении применяются следующие термины с соответствующими определениями:
А.1.1 брюшко: Задняя часть тела насекомого, за исключением головы и грудной клетки, обычно с восемью или большим числом сегментов в случае их целостности.
А.1.2 придатки: Отчетливо различимые продолжения тела членистоногого, например лапки, крылья, сяжки или усики, хвостовые отростки.
А.1.3 щетинки: Тонкие, но жесткие волоски любой длины, имеющие место на кутикуле насекомых.
Примечание - Особые чувствительные волоски называются щетиной или трихоидными сенсиллами.
А.1.4 гусеница: Личинки насекомых отряда чешуекрылых или бабочек.
Примечание - Бабочка или мотылек представляет собой имагинальную стадию (стадию взрослого насекомого), а кокон - стадию куколки.
А.1.5 цефалическая сумка (головная сумка): Твердая часть сбрасываемого покрова, в который помещалась только голова личинки.
А.1.6 кутикулярный сброшенный покров (линька): Сбрасывание ювенильной кутикулы насекомого, благодаря чему имеет место возможность роста (развития).
Примечание - Старая кутикула носит название сброшенного при линьке покрова.
А.1.7 покровы, сброшенные при линьке: Кутикула, сброшенная в период линьки.
А.1.8 фальшножки (ложные ножки): Толстые удлинения нижней части брюшка некоторых личинок, иногда с венчиком из хитиновых зацепок (крючков). Они способствуют прикреплению к субстрату, а также оказывают помощь при движении. Гусеницы имеют, как минимум, две пары ложных ножек, направленных в сторону задней части тела.
А.1.9 щупики: Ненаучный термин для обозначения чувствительных придатков, расположенных на головной сумке насекомых. Они могут располагаться вблизи глаз и называются сяжками, либо могут быть связаны с ротовыми органами и называются обычными щупальцами.
А.1.10 насекомые: Класс беспозвоночных, относящихся к филуму (типу) членистоногих, некоторые из которых признаны вредителями запасов продуктов питания.
А.1.11 ювенильные (молодые) стадии: Предимагинальные стадии насекомых (яйцо, личинка, нимфа и куколка).
Примечание - Данный термин чаще всего применяется в отношении стадии активного развития личинки и нимфы.
А.1.12 ламбур: Верхняя губа некоторых насекомых на стадии личинки и жука, прикрывающая открытый рот.
А.1.13 мандибулы: Жесткие (затвердевшие) ротовые органы насекомых, используемые для разрывания на части или размельчения пищи.
А.1.14 клещи: Очень мелкие членистоногие, принадлежащие к классу паукообразных (арахнид), к отряду слитнотелых пауков, часто обитающие большими колониями.
А.1.15 околоплодник (перикарпий): Наружная оболочка семян, образующая отруби после раздробления зерна и отсеивания муки.
А.1.16 чешуйки: Щетинки, которые превратились в плотно прилегающие структуры, имеющие сходство с рыбьей чешуей, и которые покрывают части тела определенных насекомых, в частности крылья насекомых отряда чешуекрылых или бабочек.
А.1.17 стадия: Состояние развития насекомого или клеща (яйцо, личинка, нимфа, куколка, жук).
А.1.18 хвостовые отростки: Остроконечные удлинения кутикулы концевого брюшного сегмента личинок некоторых насекомых. Они являются общими, а иногда диагностическими признаками многих насекомых отряда жесткокрылых или жуков.
Примечание - Брюшные удлинения тараканов называются церки.
А.1.19 надкрылье (элитра): Хитинизированное переднее крыло насекомых отряда жесткокрылых или жуков, используемое в качестве неподвижного крыла в полете и в качестве защитной оболочки для перепончатого заднего крыла.
А.2 Характеристики
Различие между частицами растительного и животного происхождения основывается на их общем внешнем виде и структурных характеристиках.
Целые насекомые и клещи ювенильных стадий распознаются легко. Частицы насекомых и некоторых сильно хитинизированных клещей различаются по цвету от светло-коричневого до серо-коричневого и имеют блестящую поверхность либо поверхность с рисунком, составленным из небольших бугорков, вмятин, ямок или геометрически правильных бороздок. Клещи, обитающие в зернохранилищах, на вид обычно полупрозрачные, белые. Частицы растительного происхождения с виду матовые и, как правило, светло-красновато-бурого цвета.
Обнаруживаемые частицы насекомых или клещей чаще всего будут представлять собой частицы придатков (лапок и сяжков) или таких особо прочных частей тела, как мандибулы. Фрагменты других частей тела (например головы, надкрылий, брюшка и т.д.) можно распознать по их полупрозрачной внешности, а наиболее крупные экземпляры - по их строению, представляющему собой наслаивающиеся друг на друга чешуйки. В отличие от частиц околоплодника семян, которые обнаруживают стенки клеточного строения (видимые при увеличениях, указанных в методике) с тонкими мембранами из клетчатки, при исследовании под микроскопом нельзя различить никакой клеточной структуры в кутикуле насекомых. Поверхность частиц насекомых обнаруживает, как правило, узор неправильной формы из мелких впалых пятен, покрытый маленькими круглыми впадинами, в центре которых иногда можно различить основание волосков или щетинок (см. рисунок А.1).

а) Щетинки грызунов

b) Частицы эпидермы семени (отруби)

с) Жесткокрылые или жуки

d) Чешуекрылые или бабочки

е) Клещ
Рисунок А.1 - Различные типы частиц, обнаруживаемых на фильтрах
Щетинки грызунов характеризуются внутренней структурой, имеющей вид поперечных черных штрихов неправильной формы, наблюдаемых по всей длине щетинки. Данные штрихи могут быть более или менее отчетливыми, в зависимости от состояния перегнивания щетинки. Человеческие же волосы и шерсть домашних животных имеют непрерывную структуру без штрихов.
Кутикулы целых насекомых имеют вид очень тонких фрагментов, которые могут быть довольно крупными по размеру. Идентифицировать их довольно легко, поскольку они еще имеют на себе волоски (щетинки) или имеют характерные формы того органа, который был в них заключен (цефалическая сумка головы, форма конечностей, кольцеобразные крючки на ложных ножках гусениц и т.д.).
Приложение В
(справочное)
Образец протокола испытаний. Определение загрязнений животного происхождения в соответствии с настоящим стандартом
Идентификация пробы:
- тип продукта;
- эталон пробы;
- дата получения пробы;
- информация, касающаяся метода отбора пробы;
- дата проведения анализа.
Таблица В.1 - Результаты анализа
Наименование частиц, обнаруженных на фильтрах | Номер анализируемой навески | |||||
1 | 2 | 3 | 4 | 5 | 6 | |
Число обнаруженных щетинок грызунов или частиц щетинок (волос) | ||||||
Щетинка грызуна или частица щетинки (волоса) | ||||||
Целые насекомые (личинка, нимфа или жук) | ||||||
Частицы насекомых (в том числе чешуйки бабочек), яйца насекомых, целые клещи и их частицы | ||||||
Наблюдения
Замечания по загрязнениям животного происхождения:
- число крупных частиц насекомых размером более 200 мкм;
- число клещей или частиц клещей.
Замечания:
- по рабочей процедуре;
- по ходу анализа.
Наличие загрязнений, отличных от загрязнений животного происхождения (число на тип загрязнения).
Прочие наблюдения.
Приложение С
(справочное)
Схема проведения анализа

Рисунок С.1 - Схема проведения анализа
Приложение D
(справочное)
Последовательность процедур и их продолжительность
Этап I. Подготовка аппаратуры и приготовление анализируемой навески, гидролиз соляной кислотой в течение периода от 1 ч 30 мин до 2 ч (см. таблицу D.1).
Таблица D.1
Наименование процедуры | Продолжительность | |
мин. | макс. | |
1 Ополаскивание и просушивание стеклянной посуды, накрывание резервуаров пленкой, фильтрование реагентов | 10 мин | 20 мин |
2 Перемешивание пробы, составление анализируемой навески, взвешивание | 5 мин | 10 мин |
3 Добавление воды к анализируемой навеске, промывка стеклянного стержня и стенок химического стакана | 5 мин | 10 мин |
4 Размешивание, добавление соляной кислоты, образование крахмальной пасты, добавление парафинового масла, кипячение в течение 30 мин, охлаждение | 1 ч 10 мин | 1 ч 20 мин |
Этап II. Концентрирование загрязнений и смывание водной фазы за период от 2 ч 30 мин (как минимум) до 3 ч (в среднем для двух анализируемых навесок). (В частности, два выделения в течение 1 ч, после чего следует одно выделение в течение 30 мин).
Этап III. Прополаскивание воронок, дополнительное фильтрование и кондиционирование фильтров занимает от 30 мин до 1 ч.
Этап IV. Просушивание фильтров в течение 1 ч в термостате или в течение 10 мин на фильтродержателе горячим воздухом.
Этап V. Анализ загрязнений, обнаруженных на фильтрах, - 1 ч на фильтр (в зависимости от числа загрязнений) или 2 ч в среднем для двух анализируемых навесок.
Таблица D.2 - Результаты анализа
Наименьшая/наибольшая продолжительность | Этап | Общая продолжительность | ||||
I | II | III | IV | V | ||
Наименьшая продолжительность | 1 ч 30 мин | 2 ч 30 мин | 30 мин | 10 мин | 1 ч | 5 ч 40 мин |
Наибольшая продолжительность | 2 ч | 3 ч | 1 ч | 1 ч | 2 ч | 9 ч* |
| ||||||
Библиография
[1] ISO 2170:1980, Cereals and puises - Sampling of milled products
Электронный текст документа
и сверен по:
, 2013