ГОСТ ISO 1736-2014
МЕЖГОСУДАРСТВЕННЫЙ СТАНДАРТ
МОЛОКО СУХОЕ И СУХИЕ МОЛОЧНЫЕ ПРОДУКТЫ
Определение содержания жира. Гравиметрический метод (контрольный метод)
Dried milk and dried milk products. Determination of fat content. Gravimetric method (reference method)
МКС 67.100.10
Дата введения 2017-07-01
Предисловие
Цели, основные принципы и общие правила проведения работ по межгосударственной стандартизации установлены ГОСТ 1.0 "Межгосударственная система стандартизации. Основные положения" и ГОСТ 1.2 "Межгосударственная система стандартизации. Стандарты межгосударственные, правила и рекомендации по межгосударственной стандартизации. Правила разработки, принятия, обновления и отмены"
Сведения о стандарте
1 ПОДГОТОВЛЕН научно-производственным республиканским унитарным предприятием "Белорусский государственный институт стандартизации и сертификации" (БелГИСС) на основе собственного перевода на русский язык англоязычной версии стандарта, указанного в пункте 5
2 ВНЕСЕН Государственным комитетом по стандартизации Республики Беларусь
3 ПРИНЯТ Межгосударственным советом по стандартизации, метрологии и сертификации (протокол от 25 июня 2014 г. N 45)
За принятие проголосовали:
Краткое наименование страны по МК (ИСО 3166) 004-97 | Код страны по | Сокращенное наименование национального органа по стандартизации |
Беларусь | BY | Госстандарт Республики Беларусь |
Казахстан | KZ | Госстандарт Республики Казахстан |
Киргизия | KG | Кыргызстандарт |
Молдова | MD | Молдова-Стандарт |
Россия | RU | Росстандарт |
Таджикистан | TJ | Таджикстандарт |
Узбекистан | UZ | Узстандарт |
(Поправка, ИУС N 7-2019).
4 Приказом Федерального агентства по техническому регулированию и метрологии от 11 мая 2016 г. N 293-ст межгосударственный стандарт ГОСТ ISO 1736-2014 введен в действие в качестве национального стандарта Российской Федерации с 1 июля 2017 г.
5 Настоящий стандарт идентичен международному стандарту ISO 1736:2008/IDF 9:2008* "Сухое молоко и сухие молочные продукты. Определение содержания жира. Гравиметрический метод (контрольный метод)" ["Dried milk and dried milk products. Determination of fat content. Gravimetric method (reference method)", IDT].
________________
* Доступ к международным и зарубежным документам, упомянутым в тексте, можно получить, обратившись в Службу поддержки пользователей. - .
Международный стандарт разработан подкомитетом SC 5 "Молоко и молочные продукты" Технического комитета по стандартизации ISO/TC 34 "Пищевые продукты" Международной организации по стандартизации (ISO) и Международной молочной федерацией (IDF).
При применении настоящего стандарта рекомендуется использовать вместо ссылочных международных стандартов соответствующие им межгосударственные стандарты, сведения о которых приведены в дополнительном приложении ДА
6 ВВЕДЕН ВПЕРВЫЕ
7 ИЗДАНИЕ (ноябрь 2019 г.) с Поправкой (ИУС N 7-2019)
Информация о введении в действие (прекращении действия) настоящего стандарта и изменений к нему на территории указанных выше государств публикуется в указателях национальных стандартов, издаваемых в этих государствах, а также в сети Интернет на сайтах соответствующих национальных органов по стандартизации.
В случае пересмотра, изменения или отмены настоящего стандарта соответствующая информация будет опубликована на официальном интернет-сайте Межгосударственного совета по стандартизации, метрологии и сертификации в каталоге "Межгосударственные стандарты"
Предупреждение - При применении настоящего стандарта могут использоваться вредные вещества, опасные процессы и оборудование. Настоящий стандарт не предусматривает рассмотрения всех проблем безопасности, связанных с его применением. Пользователь сам несет ответственность за соблюдение техники безопасности и охраны здоровья, а также за установление соответствующих ограничений по применению настоящего стандарта.
1 Область применения
Настоящий стандарт устанавливает контрольный метод определения содержания жира в сухом молоке и сухих молочных продуктах. Данный метод применим к сухому цельному молоку, сухому частично обезжиренному и сухому обезжиренному молоку, сухой сыворотке, сухой пахте и к сухим молочным продуктам с содержанием жира не менее 40%.
Настоящий стандарт не распространяется на продукт, содержащий твердые частицы, нерастворимые в аммиачном растворе, или содержащий большое количество свободных жирных кислот.
Примечание - Если продукт содержит твердые частицы, нерастворимые в аммиачном растворе, или содержит в большом количестве свободные жирные кислоты, имеющие ощутимый запах, то результат определения будет меньше действительного. Для таких продуктов применяют метод на основании принципа Вейбулла-Бернтропа [3].
2 Нормативные ссылки
В настоящем стандарте использованы нормативные ссылки на следующие стандарты. Для датированных ссылок применяют только указанное издание ссылочного стандарта, для недатированных - последнее издание (включая все изменения).
ISO 835 Laboratory glassware. Graduated pipettes (Посуда лабораторная стеклянная. Пипетки мерные градуированные)
ISO 1042 Laboratory glassware. One-mark volumetric flasks (Посуда лабораторная стеклянная. Колбы мерные с одной меткой)
ISO 3889/IDF 219 Milk and milk product. Specification of Mojonnier-type fat extraction flasks (Молоко и молочные продукты. Технические условия на колбы типа Можонье для экстрагирования жира)
ISO 4788 Laboratory glassware. Graduated cylinders (Посуда лабораторная стеклянная. Цилиндры градуированные мерные)
3 Термины и определения
В настоящем стандарте применяют следующий термин с соответствующим определением:
3.1 содержание жира в сухом молоке и сухих молочных продуктах (fat content of dried milk and dried milk products): Массовая доля веществ, определенная методом, установленным в настоящем стандарте.
Примечание - Содержание жира - массовая доля жира, выраженная в процентах.
4 Сущность метода
Щелочной гидролиз сухого молока в присутствии аммиачно-спиртового раствора с последующей экстракцией жира с применением диэтилового и петролейного эфиров. Растворители удаляют путем дистилляции или выпаривания.
Примечание - Метод известен как метод Розе-Готтлиба.
5 Реактивы
Применяют реактивы только установленной аналитической квалификации и дистиллированную или деминерализованную воду эквивалентной чистоты.
Не допускается при применении указанного метода использовать реактивы с наличием осадка (см. 9.2.2).
5.1 Аммиачный раствор с массовой долей примерно 25% (
=910 г/дм
).
Примечание - При отсутствии аммиачного раствора указанной концентрации можно использовать аммиачный раствор с большей концентрацией (см. 9.4.2).
5.2 Этанол (
) или этанол, денатурированный метанолом, с объемной долей этанола не менее 94% (см. А.5).
5.3 Раствор Конго красного
Растворяют 1 г Конго красного (
) в воде в мерной колбе с одной меткой, вместимостью 100 см (см. 6.14). Разбавляют до метки водой.
Примечание - Данный раствор используют для получения четкой границы раздела между слоями растворителя и воды в соответствии с 9.4.4. Можно использовать другие водные цветные растворы, если они не оказывают влияния на результат определения.
5.4 Диэтиловый эфир (
), не содержащий перекисей в соответствии с А.3, содержащий не более 2 мг/кг антиоксидантов и отвечающий требованиям контрольного опыта (см. 9.2.2, А.1 и А.4).
ВНИМАНИЕ - Использование диэтилового эфира может привести к опасным ситуациям. Соблюдайте меры предосторожности при обращении с ним, в том числе при утилизации.
5.5 Петролейный эфир с диапазоном кипения от 30°С до 60°С или, в качестве эквивалента, пентан (
) с температурой кипения 36°C, отвечающий требованиям контрольного опыта (см. 9.2.2, А.1 и А.4).
Рекомендуется использовать пентан как реактив с более высокой чистотой и устойчивым качеством.
5.6 Растворитель смешанный
Перед применением смешивают в равных объемах диэтиловый эфир (5.4) и петролейный эфир (5.5).
6 Оборудование
ВНИМАНИЕ - Поскольку определение включает в себя использование легковоспламеняющихся растворителей, все используемые электрические приборы должны отвечать требованиям законодательства, касающегося опасностей при использовании таких растворителей.
Применяют обычное лабораторное оборудование, в том числе следующее.
6.1 Аналитические весы с точностью до 1 мг и ценой деления 0,1 мг.
6.2 Центрифуга, способная удерживать колбы для экстрагирования жира или пробирки (6.6), с частотой вращения от 500 мин до 600 мин
, с радиальным ускорением 784-882 м/с
(80-90 g) с наружной стороны колб или пробирок.
Примечание - Применение центрифуги не обязательно, но рекомендовано (см. 9.4.7).
6.3 Аппарат для перегонки или выпаривания для перегонки растворителей и этанола из перегонной или конической колбы или выпаривания из стаканов и чаш в соответствии с 9.4.14 при температуре, не превышающей 100°C.
6.4 Шкаф сушильный электрический, с полностью открытым(и) вентиляционным(и) отверстием(ями), поддерживающий в его рабочей области температуру (102±2)°C.
Шкаф должен иметь соответствующий термометр.
6.5 Водяная баня, поддерживающая температуру (65±5)°C.
6.6 Колбы Можонье для экстрагирования жира, как указано в ISO 3889/IDF 219.
Примечание - Допускается применять пробирки для экстрагирования жира с сифоном или приспособлением для промывания, но в этом случае методика будет отличаться. Альтернативная методика описана в приложении В.
Колбы для экстрагирования жира должны быть оснащены качественными корковыми пробками или стопорами из других материалов (например, силиконовая резина или полиэтилентетрафторэтилен), не взаимодействующими с применяемыми реагентами. Корковые пробки должны быть обработаны диэтиловым эфиром (5.4), выдержаны в воде при температуре 60°С или более в течение не менее 15 мин и затем охлаждены в воде для насыщения водой перед использованием.
6.7 Подставка, удерживающая колбы (или пробирки) для экстрагирования жира (6.6).
6.8 Приспособление для промывания, пригодное для работы со смешанными растворителями (5.6). Не допускается использовать пластмассовые приспособления для промывания.
6.9 Емкости для сбора жира, такие как колбы для перегона (плоскодонные) вместимостью 125-250 см, конические колбы вместимостью 250 см
или металлические чашки.
Допускается использование плоскодонных металлических чашек, изготовленных из нержавеющей стали, диаметром 80-100 см и высотой приблизительно 50 мм.
6.10 Материал, облегчающий кипение, - обезжиренный непористый фарфор или карборунд (при использовании металлических чашек можно не применять).
6.11 Цилиндры мерные вместимостью 5 и 25 см, отвечающие требованиям ISO 4788, класса А, или любая другая посуда, подходящая для исследуемого продукта.
6.12 Пипетки градуированные, вместимостью 10 см, отвечающие требованиям ISO 835, класса А.
6.13 Держатели металлические для удержания колб или чашек.
6.14 Колбы мерные с одной меткой, вместимостью 100 см, отвечающие требованиям ISO 1042, класса А.
7 Отбор проб
Отбор проб рекомендуется проводить методом, соответствующим [1].
Представительная проба для испытания должна быть без признаков порчи и других изменений.
Пробы хранят с момента отбора при температуре от 2°С до 6°C.
8 Подготовка испытуемой пробы
Испытуемую пробу тщательно перемешивают, многократно вращая и переворачивая контейнер с образцом. При необходимости для выполнения этой операции образец переносят в герметичный контейнер объемом, в два раза превышающим объем испытуемого образца.
9 Проведение испытаний
Примечания
1 Для проверки методики на соответствие пределу повторяемости (11.2) проводят два отдельных определения в соответствии с 9.1 и 9.4.
2 В приложении В приводится альтернативная методика с использованием пробирок для экстрагирования жира с приспособлением для промывания (см. примечание к 6.6).
9.1 Испытуемая проба
Тщательно перемешивают пробу (8), многократно плавно вращая и переворачивая контейнер. Сразу после перемешивания пробу взвешивают с точностью до 1 мг непосредственно в колбе для экстрагирования жира (6.6):
a) 1,000 г сухого цельного молока, сухого молока с высоким содержанием жира, сухой плазмы масла;
b) 1,500 г сухого частично обезжиренного молока;
c) 1,500 г сухого обезжиренного молока;
d) 1,500 г сухой сыворотки;
e) 1,500 г сухой пахты.
9.2 Контрольные опыты
9.2.1 Контрольный опыт для проверки метода
Контрольный опыт проводят одновременно с анализом пробы, используя тот же метод и те же реактивы, но заменив испытуемую пробу (9.4.1) на воду (10 см) (см. А.2).
При использовании одного контрольного опыта для партии испытуемых проб, из которых отдельные пробы могут быть различной консистенции, необходимо удостовериться, что последовательность получения значения используемого контрольного опыта при расчете результата точно соответствует последовательности в отношении одной испытуемой пробы.
Если значение, полученное при проведении контрольного опыта, постоянно превышает 1,0 мг, следует проверить реактивы (9.2.2). Поправки более 2,5 мг должны быть отмечены в протоколе испытаний.
9.2.2 Контрольный опыт для проверки реактивов
Для проверки качества реактивов проводят контрольный опыт по 9.2.1. Для контроля массы используют пустую емкость для сбора жира по 9.3. Реактивы не должны оставлять осадок более 1,0 мг (см. А.1).
Если масса осадка реактива в контрольном опыте превышает 1,0 мг, определяют количество осадка растворителей каждого по отдельности путем перегонки 100 мл диэтилового эфира (5.4) и петролейного эфира (5.5) соответственно. Для получения действительной массы осадка, которая должна быть не более 1,0 мг, используют пустую емкость для сбора жира, подготовленную для контрольных целей, как описано выше.
В случае если растворители содержат летучие вещества, прочно удерживаемые в жире, то проводят контрольный опыт на всех реактивах, используя для каждого растворителя емкость для сбора жира, содержащую около 1 г безводного молочного жира на 100 см растворителя. Растворители используют сразу после повторной перегонки.
Заменяют некачественные растворители и реактивы или растворители подвергают повторной перегонке.
9.3 Подготовка емкости для сбора жира
Емкость для сбора жира (6.9) сушат с добавлением материала, облегчающего кипение (6.10), в сушильном шкафу (6.4) при температуре 102°С в течение 1 ч.
Примечание - Материал, облегчающий кипение, необходим, чтобы поддерживать спокойное кипение во время последующего удаления растворителей, особенно если используются стеклянные емкости для сбора жира; допускается использовать их и с металлическими чашками.
Емкость для сбора жира защищают от попадания пыли и охлаждают до комнатной температуры, при которой осуществляют взвешивание (стеклянную емкость для сбора жира охлаждают не менее 1 ч; металлические чашки - не менее 30 мин).
Запрещается помещать емкость для сбора жира в эксикатор для исключения неполного охлаждения или чрезмерно длительного времени охлаждения.
Для переноса емкости для сбора жира на весы используют держатели (6.13). Емкость для сбора жира взвешивают с точностью до 1,0 мг.
Примечание - Рекомендуется использовать держатели, что позволит избежать температурных изменений.
9.4 Определение
9.4.1 После охлаждения сразу проводят определение.
Для получения общего объема 10-11 см к испытуемой пробе в колбе для экстрагирования жира (9.1) добавляют приблизительно 10 см
воды, предварительно нагретой до температуры (65±5)°C. Для промывания навески в малом сосуде колбы для экстрагирования используют воду. Испытываемую пробу тщательно перемешивают с водой в малом сосуде колбы для экстрагирования.
9.4.2 К испытуемой пробе (9.4.1) добавляют 2 см аммиачного раствора (5.1) или эквивалентный объем более концентрированного раствора аммиака (см. примечание к 5.1). Тщательно перемешивают с испытуемой пробой в малом сосуде колбы для экстрагирования жира.
9.4.3 Подогревают колбу до температуры (65±5)°С на водяной бане (6.5) в течение 15-20 мин, периодически встряхивая ее. Охлаждают в проточной воде до комнатной температуры.
9.4.4 Добавляют 10 см этанола (5.2). Осторожно, но тщательно перемешивают, чтобы содержимое колбы для экстрагирования текло в прямом и обратном направлении между малым и большим сосудами. Избегают попадания жидкости близко к горлышку колбы. При необходимости можно добавить 2 капли раствора Конго красного (5.3).
9.4.5 Добавляют 25 см диэтилового эфира (5.4). Закрывают колбу для экстрагирования жира пробкой, смоченной водой (6.6). Чтобы не допустить образования стойких эмульсий, колбу несильно встряхивают в течение 1 мин.
Во время встряхивания колбу для экстрагирования жира держат в горизонтальном положении, малым сосудом направленным кверху, периодически давая жидкости переливаться из большого сосуда в малый. При необходимости колбу охлаждают под проточной водой до комнатной температуры. Пробку осторожно вынимают и промывают ее и горловину колбы небольшим количеством смешанного растворителя (5.6). Используют приспособление для промывания (6.8), для того чтобы промывная жидкость стекала в колбу.
9.4.6 Добавляют 25 см петролейного эфира (5.5). Колбу для экстрагирования жира закрывают повторно увлажненной пробкой (окунув ее в воду). Осторожно перемешивают в течение 30 с, как указано в 9.4.4. Продолжают встряхивать колбу, как указано в 9.4.5.
9.4.7 Закрытую колбу центрифугируют в течение 1-5 мин при радиальном ускорении 80-90 g. При отсутствии центрифуги (6.2) закрытую колбу ставят на подставку (6.7) приблизительно на 30 мин, до тех пор, пока верхний слой не станет прозрачным и четко не отделится от слоя воды. При необходимости колбу охлаждают в проточной воде до комнатной температуры.
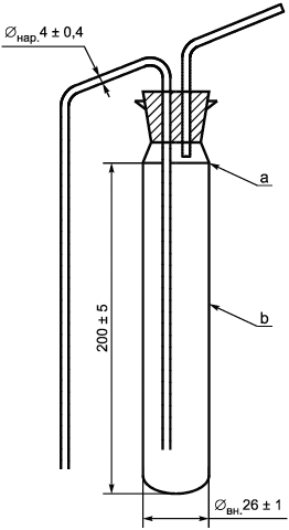
9.4.8 Осторожно вынимают пробку и ополаскивают ее и внутреннюю часть горловины колбы для экстрагирования жира небольшим количеством смешанного растворителя (5.6). Используют приспособление для промывания (6.8) так, чтобы промывная жидкость стекала в колбу. Если граница раздела между слоями находится в нижней части основания колбы, для облегчения декантации раствора можно поднять ее немного выше этого уровня, осторожно добавляя воду, направляя ее вниз по стенке колбы (см. рисунок 1).
Примечание - На рисунках 1 и 2 показан один из трех типов колб по ISO 3889/IDF 219 для экстрагирования жира. Допускается использовать и другие типы колб.
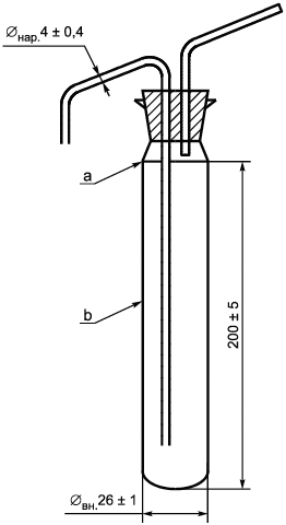
9.4.9 Удерживают колбу с помощью держателя (при необходимости можно использовать металлические чашки), осторожно декантируют как можно больше поверхностного слоя из колбы для перегонки или конической колбы в приготовленную емкость для сбора жира (см. 9.3), содержащую материал, облегчающий кипение (6.10).
Не допускают декантации водного слоя (см. рисунок 2).
|
|
1 - растворитель; 2 - граница раздела; 3 - водный слой | 1 - граница раздела; 2 - водный слой |
|
|
Рисунок 1 - До декантирования | Рисунок 2 - После декантирования |
9.4.10 Наружную часть горловины колбы для экстрагирования жира ополаскивают небольшим количеством смешанного растворителя (5.6). Промывную жидкость собирают в емкость для сбора жира. Не допускается, чтобы смешанный растворитель растекался по наружной поверхности колбы. При необходимости растворитель или его часть из емкости для сбора жира удаляют путем перегонки или выпаривания, как указано в 9.4.14.
9.4.11 К содержимому колбы для экстрагирования жира добавляют 5 мл этанола (5.2), ополаскивают внутреннюю поверхность горловины колбы и перемешивают, как указано в 9.4.4.
9.4.12 Второе экстрагирование выполняют, повторяя операции, указанные в 9.4.5-9.4.9 включительно. Вместо 25 см диэтилового эфира (5.4) используют 15 см
, а также 15 см
петролейного эфира (5.5) . При использовании диэтилового эфира ополаскивают внутреннюю поверхность горловины колбы для экстрагирования жира.
При необходимости немного поднимают границу раздела до середины основания колбы, осторожно добавляя воду и направляя ее вниз по стенке колбы (см. рисунок 1), чтобы сделать окончательное декантирование растворителя как можно более полным (см. рисунок 2).
9.4.13 Третье экстрагирование выполняют без добавления этанола, повторяя операции, указанные в 9.4.5-9.4.9. Используют только 15 см диэтилового эфира (5.4) и 15 см
петролейного эфира (5.5). При использовании диэтилового эфира снова ополаскивают внутреннюю поверхность горловины колбы.
При необходимости немного поднимают границу раздела до середины основания колбы, осторожно добавляя воду и направляя ее вниз по стенке колбы (см. рисунок 1), чтобы сделать окончательное декантирование растворителя как можно более полным (см. рисунок 2).
Примечание - Допускается не проводить третье экстрагирование для продуктов с содержанием массовой доли жира менее 5%.
9.4.14 Удаляют растворители (включая этанол) по возможности полностью из емкости для сбора жира перегонкой, если используют перегонную или коническую колбы, или выпариванием, если используют стакан или чашку (6.3). Перед началом перегонки ополаскивают внутреннюю поверхность горловины конической колбы небольшим количеством смешанного растворителя (5.6).
9.4.15 Емкость для сбора жира (колбу для перегонки или коническую колбу) помещают в горизонтальном положении в сушильный шкаф (6.4) и выдерживают 1 ч при температуре 102°С (для улетучивания паров растворителей). Извлекают емкость для сбора жира из сушильного шкафа и немедленно проверяют чистоту жира. Если жир не прозрачный, что указывает на возможность наличия посторонних примесей, всю процедуру следует повторить. Если жир прозрачный, то защищают емкость от попадания пыли и охлаждают до температуры весовой комнаты (стеклянную емкость - примерно 1 ч, металлическую чашку - минимум 30 мин).
Непосредственно перед взвешиванием емкость для сбора жира не протирают. Чтобы поместить емкость для сбора жира на весы, используют держатели (6.13). Взвешивают емкость для сбора жира с точностью до 1,0 мг.
9.4.16 Емкость для сбора жира помещают в горизонтальном положении для обеспечения выпаривания растворителя, нагревают в сушильном шкафу (6.4) в течение 1 ч при температуре 102°C. Охлаждают и повторно взвешивают в соответствии с 9.4.15. При необходимости повторяют процедуры нагревания, охлаждения и взвешивания до тех пор, пока разница в массе между двумя последующими взвешиваниями не уменьшится до 1,0 мг или не начнет увеличиваться. Записывают минимальную массу как массу емкости для сбора жира и экстрагированного вещества.
10 Расчет и запись результатов
10.1 Расчет
Рассчитывают содержание жира в пробе, , %, по формуле
, (1)
где - масса испытуемой пробы (9.1), г;
- масса емкости для сбора жира с экстрагированным веществом (9.4.16), г;
- масса емкости для сбора жира (9.3), г;
- масса емкости для сбора жира, используемого в контрольном опыте (9.2) с любым экстрагированным веществом (9.4.16), г;
- масса емкости для сбора жира, используемого в контрольном опыте (9.2), г.
10.2 Представление результатов
Результаты округляют до второго десятичного знака и записывают.
11 Метрологические характеристики
11.1 Межлабораторное определение
Подробности межлабораторного определения прецизионности метода в соответствии с [2] и [4].
_______________
ISO 5725:1986 (в настоящее время отменен) ранее использовался для получения данных по прецизионности.
В Российской Федерации действуют ГОСТ Р ИСО 5725-1-2002 "Точность (правильность и прецизионность) методов и результатов измерений. Часть 1. Основные положения и определения", ГОСТ Р ИСО 5725-2-2002 "Точность (правильность и прецизионность) методов и результатов измерений. Часть 2. Основной метод определения повторяемости и воспроизводимости стандартного метода измерений", ГОСТ Р ИСО 5725-3-2002 "Точность (правильность и прецизионность) методов и результатов измерений. Часть 3. Промежуточные показатели прецизионности стандартного метода измерений" и ГОСТ Р ИСО 5725-4-2002 "Точность (правильность и прецизионность) методов и результатов измерений. Часть 4. Основные методы определения правильности стандартного метода измерений".
Значения пределов повторяемости и воспроизводимости выражают для 95%-ного доверительного уровня и в случае необходимости применяют для диапазонов концентрации и матриц, отличных от данных.
11.2 Повторяемость
Абсолютная разница между двумя независимыми результатами измерений, полученными с использованием одного и того же метода на идентичных пробах материала в одной лаборатории одним оператором на одном оборудовании в течение короткого промежутка времени, не должна превышать более чем в 5% случаев следующие значения:
a) 0,20% массовой доли жира для сухого цельного молока и для сухого молока с высоким содержанием жира;
b) 0,15% массовой доли жира для сухого частично обезжиренного молока и сухой пахты;
c) 0,10% массовой доли жира для сухого обезжиренного молока и сухой сыворотки.
11.3 Воспроизводимость
Абсолютная разность между двумя независимыми результатами измерений, полученными с использованием одного и того же метода на идентичных пробах материала в разных лабораториях разными операторами на различном оборудовании, не должна превышать более чем в 5% случаев следующие значения:
a) 0,30% массовой доли жира для сухого цельного молока и для сухого молока с высоким содержанием жира;
b) 0,25% массовой доли жира для сухого частично обезжиренного молока и сухой пахты;
c) 0,20% массовой доли жира для сухого обезжиренного молока и сухой сыворотки.
12 Протокол испытания
Протокол испытания должен включать:
a) всю информацию, необходимую для полной идентификации пробы;
b) использованный метод отбора проб (при наличии данной информации);
c) использованный метод испытания со ссылкой на настоящий стандарт;
d) все рабочие подробности, не указанные в настоящем стандарте или рассматриваемые как необязательные, вместе с подробностями всех побочных обстоятельств, которые могут повлиять на результат(ы) испытания;
e) все внесенные поправки, если в контрольном испытании метода получено значение более 2,5 мг;
f) полученные результаты испытания или окончательный полученный результат, если была проверена повторяемость.
Приложение А
(справочное)
Примечания к методам
А.1 Контрольный опыт для проверки реактивов
При проведении контрольного опыта для контроля массы должна быть использована такая емкость для сбора жира, чтобы из-за изменений в атмосферных условиях весовой комнаты или тепловых воздействий на емкость для сбора жира не было выдвинуто ошибочное предположение о присутствии или отсутствии нелетучего вещества в экстракте реактивов. Такая емкость для сбора жира может быть использована как уравновешивающая емкость, если используются весы, имеющие две чашки. В противном случае должно учитываться отклонение массы (
по 10.1) емкости для сбора жира при контроле, если в контрольном опыте проводится проверка массы емкости для сбора жира. Поэтому изменение массы емкости для сбора жира, скорректированной по изменению массы емкости для сбора жира при контрольном методе, не должно превышать 1,0 г.
Растворители могут содержать летучее вещество, которое прочно удерживается в жире. Если существуют индикаторы присутствия таких веществ, необходимо выполнить контрольную проверку для всех реактивов и для каждого растворителя, используя емкость для сбора жира и около 1 г безводного молочного жира. При необходимости растворители повторно перегоняют в присутствии 1 г безводного молочного жира на 100 см растворителя. Использовать растворители необходимо сразу после повторной перегонки.
А.2 Контрольный опыт, проводимый одновременно с определением (см. 9.2.1)
Значение, полученное при проведении контрольного опыта, выполняемого одновременно с определением, дает возможность корректировать присоединенную массу веществ, экстрагированных из испытуемой пробы (
), с учетом присутствия любого нелетучего вещества, полученного из реактивов, а также любого изменения атмосферных условий в весовой комнате или температурных отличий емкости для сбора жира в весовой комнате при двух взвешиваниях (см. 9.4.16 и 9.3).
При благоприятных условиях (низкое значение, полученное в контрольном методе при проверке реактивов, постоянная температура в весовой комнате, достаточное время охлаждения емкости для сбора жира) это значение будет меньше 1,0 мг и может быть проигнорировано в расчете в случае постоянных определений. Немного завышенные значения (положительные или отрицательные), до 2,5 мг, также часто не принимаются в расчет. После корректировки таких значений результаты будут точными. Если вносятся поправки более 2,5 мг, то это должно быть отмечено в протоколе (раздел 12).
Если значение, полученное в контрольном опыте, постоянно превышает 1,0 мг, то реактивы должны быть проверены. Любые реактивы с примесями необходимо заменить или очистить (см. 9.2.2 и А.1).
А.3 Исследование на наличие пероксидов
Для исследования перекисей к 10 см диэтилового эфира (5.4) в малый стеклянный цилиндр с притертой пробкой, предварительно промытый эфиром, необходимо добавить 1 см
свежеприготовленного раствора йодида калия концентрацией 100 г/дм
. Встряхивают цилиндр и оставляют на 1 мин. Слой диэтилового эфира не должен при этом желтеть.
Для определения перекисей могут быть использованы другие методы.
Чтобы гарантировать, что диэтиловый эфир свободен от перекисей, необходимо обработать диэтиловый эфир по крайней мере за 3 дня перед применением следующим образом:
- разрезают цинковую фольгу на полоски, которыми наполовину заполняют бутыль, содержащую диэтиловый эфир, используя приблизительно 8000 мм фольги на 1 дм
диэтилового эфира.
Перед использованием полностью погружают полоски фольги на 1 мин в раствор, содержащий 10 г пятиводного сульфата меди (II) (
) и 2 см концентрированной серной кислоты (с массовой долей 98%).
Осторожно, но полностью промывают полоски водой, помещают мокрые, покрытые медью полоски в бутыль, содержащую диэтиловый эфир, и оставляют полоски в бутыли.
Могут быть использованы другие методы, если они не оказывают воздействия на результат определения.
А.4 Диэтиловый эфир, содержащий антиоксиданты
В некоторых странах применяют диэтиловый эфир с содержанием антиоксидантов около 1 мг/кг, который главным образом используют для определения жира.
Иногда применяют диэтиловый эфир с более высоким содержанием антиоксидантов, например до 7 мг/кг. Такой эфир должен применяться в постоянных определениях с обязательным контрольным определением, выполняемым одновременно с определением, чтобы исправить систематические погрешности из-за осадков антиоксидантов.
А.5 Этанол
Можно использовать этанол, денатурированный не с помощью метанола, а любым другим способом, при условии, что денатурат не оказывает влияния на результат определения.
Приложение В
(справочное)
Альтернативный метод определения с использованием пробирок для экстрагирования жира с сифоном или приспособлением для промывания
В.1 Общие положения
Если используются пробирки для экстрагирования жира с сифоном или приспособлением для промывания, необходимо применять методику, описанную в настоящем приложении. Пробирки должны быть снабжены корковыми пробками хорошего качества или стопорами, описанными в 6.6 (пример приведен на рисунке B.1).
|
|
a) С приспособлением для крепления сифона (размеры указаны в миллиметрах) | b) С приспособлением для крепления приспособления для промывания (размеры указаны в миллиметрах) |
Вместимость до данного уровня при удаленном приспособлении (105±5) см
.
Толщина стенки (1,5±0,5) мм.
Рисунок В.1 - Примеры пробирок для экстрагирования жира
В.2 Методика
В.2.1 Подготовка испытуемой пробы
См. раздел 8.
В.2.2 Испытуемая проба
Подготавливают испытуемую пробу, как описано в 9.1, но используя пробирки для экстракции жира (см. примечание к 6.6 и рисунок В.1).
Испытуемая проба должна быть помещена на дно пробирки для экстракции жира.
В.2.3 Контрольный опыт
См. 9.2 и А.2.
В.2.4 Подготовка емкости для сбора жира
См. 9.3.
В.2.5 Определение
В.2.5.1 Определение выполняют незамедлительно.
Добавляют 10 см воды при температуре (65±5)°С к испытуемой пробе, находящейся в пробирке для экстрагирования жира (В.2.2). Тщательно перемешивают.
В.2.5.2 Добавляют 2 см аммиачного раствора (5.1) к испытуемой пробе в пробирке для экстрагирования жира (В.2.5.1) или эквивалентный объем более концентрированного аммиачного раствора (см. примечание к 5.1). Тщательно перемешивают с предварительно обработанным рабочим раствором на дне пробирки для экстрагирования жира.
В.2.5.3 Нагревают пробирку до температуры (65±5)°С на водяной бане (6.5) в течение 15-20 мин, изредка встряхивая ее. Охлаждают в проточной воде до комнатной температуры.
В.2.5.4 Добавляют 10 см этанола (5.2). Осторожно, но тщательно смешивают со смесью на дне пробирки для экстрагирования жира. Если потребуется, добавляют 2 капли раствора Конго красного (5.3).
В.2.5.5 Добавляют 25 см диэтилового эфира (5.4). Закрывают пробирку для экстрагирования жира корковой пробкой или пробкой, изготовленной из другого материала, смоченной водой (6.6). Пробирку в течение 1 мин, постоянно переворачивая, встряхивают энергично, но не чрезмерно, чтобы избежать образования стойких эмульсий. При необходимости охлаждают пробирку в проточной воде. Осторожно вынимают пробку и промывают ее и горловину пробирки небольшим количеством смешанного растворителя (5.6). Используют приспособления для промывания (6.8) так, чтобы промывная жидкость стекала в пробирку.
В.2.5.6 Добавляют 25 см петролейного эфира (5.5). Закрывают пробирку для экстрагирования жира пробкой, повторно смоченной водой. Осторожно встряхивают пробирку в течение 30 с, остальные манипуляции проводят, как описано в В.2.5.5.
В.2.5.7 Закрытую пробирку для экстрагирования жира центрифугируют в течение 1-5 мин при радиальном ускорении 80-90 g. При отсутствии центрифуги (6.2) закрытую пробирку устанавливают на подставку (6.7) примерно на 30 мин, пока поверхностный слой не станет прозрачным и четко не отделится от водного слоя. При необходимости пробирку охлаждают в проточной воде до комнатной температуры.
В.2.5.8 Осторожно вынимают пробку и промывают ее и внутреннюю часть горловины пробирки для экстрагирования жира небольшим количеством смешанного растворителя (5.6). Используют приспособление для промывания (6.8) так, чтобы промывная жидкость стекала в пробирку.
В.2.5.9 В пробирку для экстрагирования жира вставляют приспособление для крепления сифона или приспособление для промывания. Проталкивают вниз удлиненную внутреннюю часть приспособления так, чтобы оно находилось примерно на 4 мм выше границы раздела между слоями. Внутренняя часть приспособления должна располагаться параллельно оси пробирки для экстрагирования жира.
Осторожно переносят верхний слой из пробирки в сосуд для сбора жира (см. 9.3), содержащий небольшое количество материала, облегчающего кипение (6.10), если используются перегонные или конические колбы (можно применять металлические чашки). Не допускают попадания содержимого водного слоя в сосуд для сбора жира. Выходное отверстие крепящего приспособления промывают небольшим количеством смешанного растворителя, собирая промывную жидкость в сосуд для сбора жира.
Примечание - Поверхностный слой можно переносить из пробирки для экстрагирования жира, используя, например, резиновую грушу, прикрепленную к короткому стержню.
В.2.5.10 Ослабляют крепящее приспособление от горловины пробирки для экстрагирования жира. Слегка приподнимают крепление и промывают нижнюю часть удлиненной внутренней части небольшим количеством смешанного растворителя (5.6). Опускают и повторно вставляют приспособление для крепления и переносят в сосуд для экстрагирования жира. Снова промывают выходное отверстие крепящего приспособления небольшим количеством смешанного растворителя, собирая промывную жидкость в сосуд для сбора жира. При необходимости удаляют растворитель или его часть из сосуда для экстрагирования жира путем перегонки или выпаривания, как указано в 9.4.14.
В.2.5.11 Снова ослабляют крепящее приспособление на горловине. Слегка приподнимают его и добавляют 5 см этанола к содержимому пробирки для экстрагирования жира. Этанол используют для промывания удлиненной внутренней части крепящего приспособления. Перемешивают так, как описано в В.2.5.4.
В.2.5.12 Выполняют второе экстрагирование, повторяя операции, описанные в В.2.5.5-В.2.5.10. Вместо 25 см используют только 15 см
диэтилового эфира (5.4) и 15 см
петролейного эфира (5.5). Используя диэтиловый эфир, промывают удлиненную часть крепящего приспособления при его удалении из пробирки для экстрагирования жира после предыдущего экстрагирования.
В.2.5.13 Выполняют третье экстрагирование без добавления этанола путем повторения операций, описанных в В.2.5.5-В.2.5.10, используя 15 см диэтилового эфира (5.4) и 15 см
петролейного эфира (5.5). Промывают удлиненную внутреннюю часть крепящего приспособления диэтиловым эфиром в соответствии с В.2.5.12.
Примечание - Третье экстрагирование можно не проводить, если содержание жира в сухом молоке составляет менее 5%.
В.2.5.14 Далее выполняют действия в соответствии с 9.4.14-9.14.16 настоящего стандарта.
Приложение ДА
(справочное)
Сведения о соответствии ссылочных международных стандартов ссылочным межгосударственным стандартам
Таблица ДА.1
Обозначение ссылочного международного стандарта | Степень соответствия | Обозначение и наименование межгосударственного стандарта |
ISO 835 | IDT | ГОСТ 29227-91 (ИСО 835-1-81) "Посуда лабораторная стеклянная. Пипетки градуированные. Часть 1. Общие требования" |
ISO 1042 | - | * |
ISO 3889/IDF 219 | - | * |
ISO 4788 | - | * |
* Соответствующий межгосударственный стандарт отсутствует. До его принятия рекомендуется использовать перевод на русский язык данного международного стандарта. Примечание - В настоящей таблице использованы следующие условные обозначения степени соответствия стандартов: - IDT - идентичные стандарты. | ||
Библиография
[1] | ISO 707:2008 / IDF 50:2008 | Milk and milk products - Guidance on sampling (Молоко и молочные продукты. Руководство по отбору проб) |
[2] | ISO 5725:1986 | Precision of test methods - Determination of repeatability and reproducibility for a standard test method by inter-laboratory tests (Прецизионность методов испытания. Определение сходимости и воспроизводимости стандартного метода испытания посредством межлабораторного испытания) |
_______________
| ||
[3] | ISO 8262-3:2005 / IDF 124-3:2005 | Milk products and milk-based foods - Determination of fat content by the Weibull-Berntrop gravimetric method (Reference method) - Part 3: Special cases (Продукты молочные и пищевые продукты на основе молока. Определение содержания жира гравиметрическим методом Вейбулла-Бернтропа (контрольный метод). Часть 3. Специальные случаи) |
[4] | INTERNATIONAL DAIRY FEDERATION. Interlaboratory collaborative studies, Second series. Bull. Int. Dairy Fed.1988 (235) (Международная федерация производителей молочной продукции) | |
УДК 637.143.043:543.21.06(083.74)(476) | МКС 67.100.10 |
Ключевые слова: молоко сухое, продукты молочные сухие, содержание жира, метод определения жира, отбор проб | |
Электронный текст документа
и сверен по:
, 2019



