ГОСТ 1437-2024
МЕЖГОСУДАРСТВЕННЫЙ СТАНДАРТ
НЕФТЕПРОДУКТЫ ТЕМНЫЕ
Определение содержания серы сжиганием в струе воздуха
Dark petroleum products. Determination of sulfur content by combustion in an air jet
МКС 75.080
Дата введения 2025-07-01
с правом досрочного применения
Предисловие
Цели, основные принципы и общие правила проведения работ по межгосударственной стандартизации установлены ГОСТ 1.0 "Межгосударственная система стандартизации. Основные положения" и ГОСТ 1.2 "Межгосударственная система стандартизации. Стандарты межгосударственные, правила и рекомендации по межгосударственной стандартизации. Правила разработки, принятия, обновления и отмены"
Сведения о стандарте
1 РАЗРАБОТАН Межгосударственным техническим комитетом по стандартизации МТК 031 "Нефтяные топлива и смазочные материалы", Федеральным государственным бюджетным учреждением "Российский институт стандартизации" (ФГБУ "Институт стандартизации")
2 ВНЕСЕН Федеральным агентством по техническому регулированию и метрологии
3 ПРИНЯТ Межгосударственным советом по стандартизации, метрологии и сертификации (протокол от 21 июня 2024 г. № 65-2024)
За принятие проголосовали:
Краткое наименование страны по МК (ИСО 3166) 004-97 | Код страны по МК (ИСО 3166) 004-97 | Сокращенное наименование национального органа по стандартизации |
Азербайджан | AZ | Азстандарт |
Армения | AM | ЗАО "Национальный орган по стандартизации и метрологии" Республики Армения |
Беларусь | BY | Госстандарт Республики Беларусь |
Казахстан | KZ | Госстандарт Республики Казахстан |
Киргизия | KG | Кыргызстандарт |
Россия | RU | Росстандарт |
Таджикистан | TJ | Таджикстандарт |
Узбекистан | UZ | Узбекское агентство по техническому регулированию |
4 Приказом Федерального агентства по техническому регулированию и метрологии от 10 июля 2024 г. № 906-ст межгосударственный стандарт ГОСТ 1437-2024 введен в действие в качестве национального стандарта Российской Федерации с 1 июля 2025 г. с правом досрочного применения
5 ВЗАМЕН ГОСТ 1437-75
Информация о введении в действие (прекращении действия) настоящего стандарта и изменений к нему на территории указанных выше государств публикуется в указателях национальных стандартов, издаваемых в этих государствах, а также в сети Интернет на сайтах соответствующих национальных органов по стандартизации.
В случае пересмотра, изменения или отмены настоящего стандарта соответствующая информация будет опубликована на официальном интернет-сайте Межгосударственного совета по стандартизации, метрологии и сертификации в каталоге "Межгосударственные стандарты"
1 Область применения
1.1 Настоящий стандарт устанавливает метод определения содержания серы от 0,1% и выше в темных нефтепродуктах, включая масла и остаточные нефтепродукты, сжиганием в струе воздуха.
1.2 Настоящий стандарт допускается также применять для определения содержания серы в нефти, нефтяном коксе, нефтяных парафинах и серосодержащих присадках.
1.3 Настоящий стандарт не распространяется на присадки, содержащие металлы, фосфор и хлор, а также на масла с этими присадками.
2 Нормативные ссылки
В настоящем стандарте использованы нормативные ссылки на следующие межгосударственные стандарты:
ГОСТ 177 Водорода перекись. Технические условия
ГОСТ 1770 (ИСО 1042-83, ИСО 4788-80) Посуда мерная лабораторная стеклянная. Цилиндры, мензурки, колбы, пробирки. Общие технические условия
ГОСТ 2517 Нефть и нефтепродукты. Методы отбора проб
ГОСТ 3118 Реактивы. Кислота соляная. Технические условия
ГОСТ 3164 Масло вазелиновое медицинское. Технические условия
ГОСТ 4204 Реактивы. Кислота серная. Технические условия
ГОСТ 4328 Реактивы. Натрия гидроокись. Технические условия
ГОСТ 4517 Реактивы. Методы приготовления вспомогательных реактивов и растворов, применяемых при анализе
ГОСТ 4919.1 Реактивы и особо чистые вещества. Методы приготовления растворов индикаторов
ГОСТ 5556 Вата медицинская гигроскопическая. Технические условия
ГОСТ 5962 Спирт этиловый ректификованный из пищевого сырья. Технические условия
ГОСТ 6709* Вода дистиллированная. Технические условия
_______________
* В Российской Федерации действует ГОСТ Р 58144-2018.
ГОСТ 8504 Реактивы. Калий йодноватокислый кислый. Технические условия
ГОСТ 9147 Посуда и оборудование лабораторные фарфоровые. Технические условия
ГОСТ 10929 Реактивы. Водорода пероксид. Технические условия
ГОСТ 16799 Коксы нефтяные замедленного коксования. Отбор и подготовка проб
ГОСТ 17299 Спирт этиловый технический. Технические условия
ГОСТ 18300 Спирт этиловый ректификованный технический. Технические условия*
_______________
* В Российской Федерации действуют ГОСТ Р 55878-2013 "Спирт этиловый технический гидролизный ректификованный. Технические условия", ГОСТ Р 51999-2002 "Спирт этиловый технический синтетический ректификованный и денатурированный. Технические условия", ГОСТ Р 52574-2006 "Спирт этиловый синтетический технический и денатурированный. Технические условия".
ГОСТ 20490 Реактивы. Калий марганцовокислый. Технические условия
ГОСТ 25336 Посуда и оборудование лабораторные стеклянные. Типы, основные параметры и размеры
ГОСТ 25794.1 Реактивы. Методы приготовления титрованных растворов для кислотно-основного титрования
ГОСТ 25794.2 Реактивы. Методы приготовления титрованных растворов для окислительно-восстановительного титрования
ГОСТ 29227 (ИСО 835-1-81) Посуда лабораторная стеклянная. Пипетки градуированные. Часть 1. Общие требования
ГОСТ 29251 (ИСО 385-1-84) Посуда лабораторная стеклянная. Бюретки. Часть 1. Общие требования
ГОСТ 31873 Нефть и нефтепродукты. Методы ручного отбора проб
ГОСТ OIML R 76-1 Государственная система обеспечения единства измерений. Весы неавтоматического действия. Часть 1. Метрологические и технические требования. Испытания**
_______________
** В Российской Федерации также действует ГОСТ Р 53228-2008 "Весы неавтоматического действия. Часть 1. Метрологические и технические требования. Испытания".
Примечание - При пользовании настоящим стандартом целесообразно проверить действие ссылочных стандартов и классификаторов на официальном интернет-сайте Межгосударственного совета по стандартизации, метрологии и сертификации (www.easc.by) или по указателям национальных стандартов, издаваемым в государствах, указанных в предисловии, или на официальных сайтах соответствующих национальных органов по стандартизации. Если на документ дана недатированная ссылка, то следует использовать документ, действующий на текущий момент, с учетом всех внесенных в него изменений. Если заменен ссылочный документ, на который дана датированная ссылка, то следует использовать указанную версию этого документа. Если после принятия настоящего стандарта в ссылочный документ, на который дана датированная ссылка, внесено изменение, затрагивающее положение, на которое дана ссылка, то это положение применяется без учета данного изменения. Если ссылочный документ отменен без замены, то положение, в котором дана ссылка на него, применяется в части, не затрагивающей эту ссылку.
3 Сущность метода
Сущность метода заключается в сжигании испытуемого образца в струе воздуха с последующим улавливанием образующихся сернистого и серного ангидридов раствором перекиси (или пероксида) водорода с серной кислотой и титровании раствором гидроокиси натрия.
4 Аппаратура, реактивы и материалы
4.1 Печь электрическая, обеспечивающая нагрев и поддержание температуры не ниже 950°C.
4.2 Насос водоструйный для проверки герметичности аппаратуры.
4.3 Компрессор или другое устройство для нагнетания воздуха.
4.4 Реометр или другой прибор, контролирующий расход воздуха, обеспечивающий измерения в диапазоне от 0 до 1,0 дм
/мин.
4.5 Весы специального класса (I) точности по ГОСТ OIML R 76-1 с действительной ценой деления, не превышающей 0,0001 г.
Примечание - Для подтверждения указанных характеристик весов и обеспечения процедуры взвешивания с погрешностью не более 0,0002 г может потребоваться проведение дополнительной калибровки весов в условиях эксплуатации.
4.6 Баня охлаждающая.
4.7 Шкаф сушильный, обеспечивающий проведение испытания по 6.1.2.
4.8 Трубка кварцевая с кварцевым коленом, конструкция которой приведена на рисунке 1.
Примечание - На рисунке 1 приведены значения внутренних диаметров трубки. Значение толщины стенок трубки зависит от диаметра. Предпочтительно использовать трубки с толщиной стенок 1 мм.
|
Рисунок 1 - Кварцевая трубка с кварцевым коленом
4.9 Склянки для очистки воздуха вместимостью не менее 250 см
(при необходимости).
4.10 Цилиндры измерительные или мензурки вместимостью 50, 250 см
по ГОСТ 1770.
4.11 Колбы мерные вместимостью 1 дм
по ГОСТ 1770.
4.12 Пипетки градуированные вместимостью 5 и 10 см
по ГОСТ 29227.
4.13 Бюретки вместимостью 5 и 10 см
с ценой деления 0,02 см
, вместимостью 25 см
с ценой деления 0,1 см
любого типа по ГОСТ 29251.
4.14 Колбы конические стеклянные вместимостью 250 см
по ГОСТ 25336.
4.15 Лодочки фарфоровые типа ЛС 1 или ЛС 2 по ГОСТ 9147.
Примечание - Допускается применять кварцевые лодочки таких же размеров.
4.16 Стакан фарфоровый вместимостью 150 см
по ГОСТ 9147.
4.17 Сито с отверстиями размером 0,10 мм.
4.18 Пероксид водорода, х.ч. по ГОСТ 10929 или перекись водорода по ГОСТ 177 медицинская или техническая (любой марки).
4.19 Индикатор смешанный кислотно-основный (метиловый красный и метиленовый голубой), приготовленный по ГОСТ 4919.1.
4.20 Калий марганцовокислый по ГОСТ 20490, ч.д.а, раствор концентрации 0,1 моль/дм
, приготовленный по ГОСТ 25794.2.
4.21 Калий йодноватокислый кислый по ГОСТ 8504, ч.д.а.
4.22 Спирт этиловый ректификованный технический по ГОСТ 18300, высший сорт, или спирт этиловый технический по ГОСТ 17299 марки А, или спирт этиловый ректификованный из пищевого сырья по ГОСТ 5962, высшей отчистки.
4.23 Вата медицинская гигроскопическая по ГОСТ 5556.
4.24 Шамот с частицами размером более 0,1 мм, прокаленный при 900°C-950°C.
4.25 Вода дистиллированная по ГОСТ 6709, pH=5,4-6,6.
4.26 Кислота серная по ГОСТ 4204, ч.д.а., раствор концентрации 1 моль/дм
(1 н), приготовленный по ГОСТ 25794.1, и раствор концентрации 0,02 моль/дм
(0,02 н).
4.27 Натрия гидроокись по ГОСТ 4328, ч.д.а., концентрированный раствор, приготовленный по 6.1.1, и раствор концентрации 0,02 моль/дм
.
4.28 Кислота соляная по ГОСТ 3118, ч.д.а., раствор концентрации 1 моль/дм
, приготовленный по ГОСТ 25794.1.
4.29 Масло вазелиновое медицинское по ГОСТ 3164.
4.30 Допускается готовить растворы, используя стандарт-титры (фиксаналы).
4.31 Допускается использовать лабораторную посуду, аппаратуру, средства измерения (СИ), реактивы и материалы, отличные от указанных, с характеристиками не хуже установленных настоящим стандартом и обеспечивающие получение достоверных результатов определения.
Допускается использовать аппараты для определения содержания серы, основанные на применении настоящего метода испытания.
Примечание - Калий марганцовокислый, калий йодноватокислый кислый, кальций хлористый плавленый, кислота серная, натрия гидроокись и кислота соляная могут оказывать влияние на здоровье человека.
5 Отбор проб
Отбор проб - по ГОСТ 2517 или ГОСТ 31873.
Примечание - При анализе нефтяного кокса отбор и подготовку проб проводят по ГОСТ 16799.
6 Подготовка к проведению испытания
6.1 Приготовление раствора гидроокиси натрия концентрации 0,02 моль/дм![]()
6.1.1 Растворяют в фарфоровом стакане 100 г гидроокиси натрия в 100 см
воды. Охлаждают раствор до комнатной температуры, затем переносят в стеклянную или полиэтиленовую емкость, которую закрывают полиэтиленовой крышкой, и выдерживают до полного осаждения углекислого натрия в течение интервала времени от 2 до 3 недель. Декантируют полученный раствор и используют для анализа верхний прозрачный слой.
6.1.2 Перекристаллизовывают дважды кислый йодноватокислый калий. Для этого готовят насыщенный водный раствор при 60°C. Фильтруют раствор в горячем состоянии, затем охлаждают в бане, наполненной смесью воды со льдом, до комнатной температуры. Отделяют выделившиеся кристаллы и сушат при температуре от 95°C до 100°C до постоянной массы. Перекристаллизованный кислый йодноватокислый калий хранят в посуде темного цвета в защищенном от воздействия света месте.
Примечания
1 За доведение до постоянной массы принимают расхождение между двумя последовательными взвешиваниями не более 0,0004 г.
2 При отсутствии кислого йодноватокислого калия концентрацию можно устанавливать по кислому фталевокислому калию. Реактив предварительно перекристаллизовывают при температуре не ниже 25°C во избежание образования кристаллов трифталата калия. Полученные кристаллы сушат до постоянной массы при температуре от 110°C до 115°C.
6.1.3 Устанавливают содержание гидроокиси натрия в растворе по плотности (с применением таблиц) или титрованием.
6.1.3.1 При титриметрическом определении 1 см
раствора доводят водой до 40 см
и титруют раствором серной или соляной кислот концентрации 1 моль/дм
.
6.1.3.2 1 см
раствора серной кислоты концентрации c (1/2
)=1 моль/дм
или соляной кислоты концентрации c (HCI)=1 моль/дм
соответствует 0,04 г гидроокиси натрия.
6.1.4 Устойчивость раствора гидроокиси натрия концентрации 0,02 моль/дм
- 8 ч.
6.1.5 Допускается готовить раствор гидроокиси натрия концентрации 0,02 моль/дм
разбавлением одной части раствора гидроокиси натрия концентрацией 0,1 моль/дм
четырьмя частями дистиллированной воды.
6.2 Приготовление раствора гидроокиси натрия концентрации 0,1 моль/дм![]()
Для приготовления раствора гидроокиси натрия концентрации 0,1 моль/дм
помещают в мерную колбу вместимостью 1 дм
необходимый объем концентрированного раствора, содержащего 4,0 г гидроокиси натрия, доводят объем раствора до метки дистиллированной водой, не содержащей
(приготовление воды по ГОСТ 4517) и перемешивают.
6.3 Определение точной молярной концентрации раствора гидроокиси натрия
6.3.1 Точную молярную концентрацию раствора гидроокиси натрия с, моль/дм
, определяют по ГОСТ 25794.1.
6.3.2 При определении коэффициента поправки молярная масса эквивалента установочного вещества кислого йодноватокислого калия - 389,91 г/моль.
6.4 Подготовка аппаратуры
6.4.1 Собирают установку для проведения испытания в соответствии с рисунком 2. Заполняют первую склянку приблизительно на половину объема 0,1 моль/дм
раствором марганцовокислого калия, вторую - концентрированным раствором гидроокиси натрия, третью - медицинской гигроскопической ватой и соединяют их последовательно резиновыми трубками. Наливают в приемник 150 см
воды, 5 см
пероксида водорода и 7 см
0,01 моль/дм
раствора серной кислоты. Закрывают приемник резиновой пробкой, снабженной кварцевым коленом и отводной трубкой. Присоединяют колено с помощью шлифа к кварцевой трубке, которую устанавливают горизонтально в печи. Закрывают резиновой пробкой другой конец трубки и присоединяют к очистительной системе через боковой отвод, соединенной с приспособлением для нагнетания воздуха. Устанавливают перед очистительной системой устройство для измерения скорости потока воздуха.
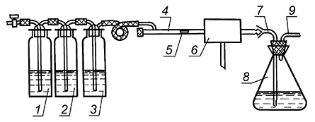
|
1 - склянка с раствором марганцовокислого калия; 2 - склянка с концентрированным раствором гидроокиси натрия; 3 - склянка с медицинской гигроскопической ватой; 4 - кварцевая трубка; 5 - лодочка; 6 - электрическая печь; 7 - кварцевое колено; 8 - приемник; 9 - отводная трубка
Рисунок 2 - Схема установки для проведения испытания
6.4.2 Проверяют на герметичность собранную установку перед проведением анализа. Для этого отводную трубку приемника присоединяют к водоструйному насосу, пропускают воздух через всю систему и закрывают кран на отводной трубке очистительной системы, при этом не должно появляться пузырьков воздуха в приемнике и очистительной системе. В случае негерметичности в системе ее перекрывают после отводной трубки, создают избыточное давление от 50 до 100 мм вод.ст., обрабатывают раствором ПАВ (мыльной водой), находят место утечки и устраняют ее.
6.4.3 Одновременно с проверкой установки включают печь и постепенно нагревают ее до температуры от 900°C до 950°C.
Примечание - При использовании аппаратов, содержащих встроенный блок очистки воздуха, их подготовку проводят в соответствии с инструкцией изготовителя.
7 Проведение испытания
7.1 Взвешивают анализируемый образец с погрешностью не более 0,0002 г в фарфоровой лодочке, на дно которой помещено небольшое количество шамота. При испытании кокса шамот не используют. Массу образца выбирают по таблице 1. Образец равномерно распределяют по всей лодочке.
Таблица 1 - Масса образца для проведения испытания в зависимости от предполагаемого в нем содержания серы
Предполагаемое содержание серы в образце, % | Масса образца, г |
До 2 включ. | 0,20-0,10 |
Св. 2 до 5 включ. | 0,10-0,05 |
7.2 Если в анализируемом образце содержание серы более 5%, то его предварительно разбавляют медицинским или любым маловязким минеральным маслом, проверенным на отсутствие серы.
Примечание - Масса образца нефти для анализа должна составлять 0,05-0,10 г.
7.3 Образец в лодочке засыпают шамотом, предварительно просеянным и прокаленным. Лодочку с испытуемым образцом помещают в кварцевую трубку перед входом в электрическую печь. Закрывают трубку пробкой и пропускают через систему воздух со скоростью приблизительно 0,5 дм
/мин. Проводят сжигание нефтепродукта при температуре от 900°C до 950°C в течение интервала времени от 30 до 40 мин, а для нефти, летучих продуктов и продуктов, содержащих 50% и более ароматических соединений, в течение интервала времени от 50 до 60 мин, постепенно передвигая трубку с лодочкой вдоль печи, не давая продукту воспламеняться. Затем трубку с лодочкой помещают в центральную, наиболее раскаленную часть печи, и дополнительно прокаливают в течение 15 мин.
7.4 По окончании сжигания трубку с лодочкой постепенно в течение интервала времени от 10 до 15 мин передвигают в обратном направлении. Отсоединяют приемник от трубки и промывают кварцевое колено 25 см
дистиллированной воды, сливая ее в приемник. Титруют содержимое приемника раствором гидроокиси натрия концентрации 0,02 моль/дм
в присутствии восьми капель смешанного кислотно-основного индикатора до перехода фиолетовой окраски раствора в ярко-зеленую. Если продукт содержит более 2% серы, то для титрования применяют бюретку вместимостью 25 см
.
7.5 Проводят контрольное испытание перед анализом нефтепродуктов по 7.3, 7.4, используя вещество, не содержащее серу и аналогичное испытуемому образцу.
Примечание - При проведении анализа возможно образование кислот, приводящее к завышению результатов, которое можно скомпенсировать проведением контрольного испытания с использованием, например, вазелинового масла.
8 Обработка результатов испытания
8.1 Массовую долю серы X, %, вычисляют по формуле
, (1)
где 16 - эквивалентная масса серы, г;
c - концентрация раствора гидроокиси натрия, моль/дм
;
- объем раствора гидроокиси натрия, израсходованный на титрование после сжигания образца, см
;
- объем раствора гидроокиси натрия, израсходованный на титрование при контрольном испытании, см
;
m - масса анализируемого образца, г.
8.2 За результат испытания принимают среднее арифметическое значение результатов двух определений, округленное до 0,01%.
9 Прецизионность
9.1 Повторяемость
Расхождение между результатами двух определений, полученными одним и тем же оператором на одной и той же аппаратуре в постоянных рабочих условиях на идентичном испытуемом материале при правильном выполнении метода, может превышать значения, указанные в таблице 2, не более, чем в одном случае из двадцати.
Таблица 2 - Прецизионность
Массовая доля серы, % | Повторяемость, % | Воспроизводимость, % |
До 1,00 включ. | 0,05 | 0,20 |
Св. 1,00 до 2,00 включ. | 0,05 | 0,25 |
Св. 2,00 до 3,00 включ. | 0,10 | 0,30 |
Св. 3,00 до 5,00 включ. | 0,10 | 0,45 |
9.2 Воспроизводимость
Расхождение между двумя единичными и независимыми результатами определений, полученными разными операторами, работающими в разных лабораториях, на идентичном испытуемом материале при правильном выполнении метода, может превышать значения, указанные в таблице 2, не более, чем в одном случае из двадцати.
УДК 665.6:546.22:006.354 | МКС 75.080 |
Ключевые слова: нефтепродукты темные, определение содержания серы сжиганием в струе воздуха | |
Электронный текст документа
и сверен по:
М.: ФГБУ "РСТ", 2024

