ГОСТ 38-2021
МЕЖГОСУДАРСТВЕННЫЙ СТАНДАРТ
КОЛЬЦА РЕЗИНОВЫЕ УПЛОТНИТЕЛЬНЫЕ ДЛЯ СОЕДИНИТЕЛЬНЫХ ГОЛОВОК ТОРМОЗНЫХ РУКАВОВ И КОНЦЕВЫХ КРАНОВ АВТОТОРМОЗОВ
Технические условия
Rubber sealing O-rings for joining heads of brake hoses and end cocks of autobrakes. Specifications
МКС 83.040.10
Дата введения 2023-09-01
Предисловие
Цели, основные принципы и общие правила проведения работ по межгосударственной стандартизации установлены ГОСТ 1.0 "Межгосударственная система стандартизации. Основные положения" и ГОСТ 1.2 "Межгосударственная система стандартизации. Стандарты межгосударственные, правила и рекомендации по межгосударственной стандартизации. Правила разработки, принятия, обновления и отмены"
Сведения о стандарте
1 РАЗРАБОТАН Федеральным государственным бюджетным учреждением "Российский институт стандартизации" (ФГБУ "РСТ"), Межгосударственным техническим комитетом по стандартизации МТК 542 "Продукция нефтехимического комплекса"
2 ВНЕСЕН Федеральным агентством по техническому регулированию и метрологии
3 ПРИНЯТ Межгосударственным советом по стандартизации, метрологии и сертификации (протокол от 30 сентября 2021 г. N 143-П)
За принятие проголосовали:
Краткое наименование страны по МК (ИСО 3166) 004-97 | Код страны по МК (ИСО 3166) 004-97 | Сокращенное наименование национального органа по стандартизации |
Армения | AM | ЗАО "Национальный орган по стандартизации и метрологии" Республики Армения |
Беларусь | BY | Госстандарт Республики Беларусь |
Казахстан | KZ | Госстандарт Республики Казахстан |
Киргизия | KG | Кыргызстандарт |
Россия | RU | Росстандарт |
Таджикистан | TG | Таджикстандарт |
Туркмения | TM | Главгосслужба "Туркменстандартлары" |
Узбекистан | UZ | Узстандарт |
(Поправка. ИУС № 9-2025).
4 Приказом Федерального агентства по техническому регулированию и метрологии от 8 ноября 2021 г. N 1438-ст межгосударственный стандарт ГОСТ 38-2021 введен в действие в качестве национального стандарта Российской Федерации с 1 сентября 2023 г.
5 ВЗАМЕН ГОСТ 38-72
Информация о введении в действие (прекращении действия) настоящего стандарта и изменений к нему на территории указанных выше государств публикуется в указателях национальных стандартов, издаваемых в этих государствах, а также в сети Интернет на сайтах соответствующих национальных органов по стандартизации.
В случае пересмотра, изменения или отмены настоящего стандарта соответствующая информация будет опубликована на официальном интернет-сайте Межгосударственного совета по стандартизации, метрологии и сертификации в каталоге "Межгосударственные стандарты"
ВНЕСЕНА поправка, опубликованная в ИУС № 9, 2025 год
Поправка внесена изготовителем базы данных
1 Область применения
Настоящий стандарт распространяется на резиновые уплотнительные кольца (далее - кольца), применяемые в соединительных головках тормозных (соединительных) рукавов и концевых кранах автотормозов, предназначенные для работы в любых климатических районах по ГОСТ 15150 при температуре:
- от минус 60°С до плюс 70°С;
- от минус 62°С до минус 60°С (при непрерывном воздействии температуры не более 48 ч);
- до плюс 80°С (при непрерывном воздействии температуры не более 4 ч).
2 Нормативные ссылки
В настоящем стандарте использованы нормативные ссылки на следующие межгосударственные стандарты:
ГОСТ 9.024 Единая система защиты от коррозии и старения. Резины. Методы испытаний на стойкость к термическому старению
ГОСТ 9.029 Единая система защиты от коррозии и старения. Резины. Методы испытаний на стойкость к старению при статической деформации сжатия
ГОСТ 9.030 Единая система защиты от коррозии и старения. Резины. Методы испытаний на стойкость в ненапряженном состоянии к воздействию жидких агрессивных сред
ГОСТ 12.1.007 Система стандартов безопасности труда. Вредные вещества. Классификация и общие требования безопасности
ГОСТ 12.1.044 Система стандартов безопасности труда. Пожаровзрывоопасность веществ и материалов. Номенклатура показателей и методы их определения
ГОСТ 164 Штангенрейсмасы. Технические условия
ГОСТ 166 (ИСО 3599-76) Штангенциркули. Технические условия
ГОСТ 263 Резина. Метод определения твердости по Шору А
ГОСТ 2593-2014 Рукава соединительные железнодорожного подвижного состава. Технические условия
ГОСТ 8273 Бумага оберточная. Технические условия
ГОСТ 11358 Толщиномеры и стенкомеры индикаторные с ценой деления 0,01 и 0,1 мм. Технические условия
ГОСТ 12162 Двуокись углерода твердая. Технические условия
ГОСТ 13808 Резина. Метод определения морозостойкости по эластическому восстановлению после сжатия
ГОСТ 14192 Маркировка грузов
ГОСТ 15150 Машины, приборы и другие технические изделия. Исполнения для различных климатических районов. Категории, условия эксплуатации, хранения и транспортирования в части воздействия климатических факторов внешней среды
ГОСТ 15846 Продукция, отправляемая в районы Крайнего Севера и приравненные к ним местности. Упаковка, маркировка, транспортирование и хранение
ГОСТ 17299 Спирт этиловый технический. Технические условия
ГОСТ 18321 Статистический контроль качества. Методы случайного отбора выборок штучной продукции
ГОСТ ISO 2859-1* Статистические методы. Процедуры выборочного контроля по альтернативному признаку. Часть 1. Планы выборочного контроля последовательных партий на основе приемлемого уровня качества
________________
* В Российской Федерации действует ГОСТ Р ИСО 2859-1-2007 "Статистические методы. Процедуры выборочного контроля по альтернативному признаку. Часть 1. Планы выборочного контроля последовательных партий на основе приемлемого уровня качества".
Примечание - При пользовании настоящим стандартом целесообразно проверить действие ссылочных стандартов и классификаторов на официальном интернет-сайте Межгосударственного совета по стандартизации, метрологии и сертификации (www.easc.by) или по указателям национальных стандартов, издаваемым в государствах, указанных в предисловии, или на официальных сайтах соответствующих национальных органов по стандартизации. Если на документ дана недатированная ссылка, то следует использовать документ, действующий на текущий момент, с учетом всех внесенных в него изменений. Если заменен ссылочный документ, на который дана датированная ссылка, то следует использовать указанную версию этого документа. Если после принятия настоящего стандарта в ссылочный документ, на который дана датированная ссылка, внесено изменение, затрагивающее положение, на которое дана ссылка, то это положение применяется без учета данного изменения. Если ссылочный документ отменен без замены, то положение, в котором дана ссылка на него, применяется в части, не затрагивающей эту ссылку.
3 Типы и основные размеры
3.1 Кольца изготовляют двух типов: КУ и КП.
Кольца типа КП выпускают 1-й и 2-й групп.
3.2 Размеры колец должны соответствовать приведенным на рисунках 1 и 2, а также в таблице 1.
|
________________
* Размеры для контроля.
Примечание - Для колец типа КУ допускаются закругления углов с радиусом 0,5 мм.
Рисунок 1 - Кольцо типа КУ
|
________________
* Размеры для контроля.
Рисунок 2 - Кольцо типа КП
Таблица 1 - Размеры колец
Размеры в миллиметрах
| ||||||||||||||||
Тип кольца | Груп- па |
|
|
| ||||||||||||
Номи- наль- ное | Пре- дель- ное откло- нение | Номи- наль- ное | Пре- дель- ное откло- нение | Номи- наль- ное | Пре- дель- ное откло- нение | Номи- наль- ное | Пре- дель- ное откло- нение | Номи- наль- ное | Пре- дель- ное откло- нение | Номи- наль- ное | Пре- дель- ное откло- нение | Номи- наль- ное | Пре- дель- ное откло- нение | |||
КУ | - | 48,0 | +0,5 -0,7 | 42,0 | - | 38,0 | ±0,3 | 37,0 | ±0,3 | 34,0 | ±0,3 | 40,0 | 47,0 | -0,3 | 12,0 | +0,6 -0,4 |
КП | 1 | 47,7 | +0,3 -0,4 | 39,0 | -0,4 | - | - | - | - | 29,5 | ±0,3 | - | - | - | 9,0 | -0,4 |
2 | 47,7 | +0,3 -0,4 | 39,0 | -0,4 | - | - | - | - | 29,5 | ±0,3 | - | - | - | 9,8 | +0,2 -0,6 | |
Продолжение таблицы 1
Тип кольца | Группа |
| Масса кольца, г | |||||||||||
Номи- нальное | Пре- дельное откло- нение | Номи- нальное | Пре- дельное откло- нение | Номи- нальное | Пре- дельное откло- нение | Номи- нальное | Пре- дельное откло- нение | Номи- нальное | Пре- дельное откло- нение | (справочная) | ||||
КУ | - | 9,0 | -0,2 | 3,0 | - | 4,0 | - | 3,0 | +0,5 | - | - | - | 8,2 | |
КП | 1 | - | - | 4,5 | +0,1 | 1,0 | ±0,2 | 3,5 | +0,1 | 3,0 | ±0,4 | 4,4 | 8,3 | |
-0,4 | -0,3 | |||||||||||||
2 | - | - | 5,3 | +0,3 -0,9 | 1,0 | ±0,2 | 3,5 | +0,1 -0,3 | 3,0 | ±0,4 | 4,4 | 8,5 | ||
Примечание - Допускается по согласованию изготовителя с потребителем выпускать кольца по конструкторской документации других размеров при соответствии остальных показателей требованиям настоящего стандарта. | ||||||||||||||
Пример условного обозначения уплотнительного резинового кольца типа КУ:
Кольцо КУ ГОСТ 38-2021.
То же, типа КП 1-й группы:
Кольцо КП 1 ГОСТ 38-2021.
4 Технические требования
4.1 Кольца должны соответствовать требованиям настоящего стандарта и изготовляться по технологической и конструкторской документации, утвержденной в установленном порядке.
4.2 На рабочей поверхности колец не допускаются выпрессовки, втянутые кромки, пузыри, трещины и посторонние включения.
На рабочей поверхности колец допускаются возвышения и углубления не более 0,15 мм во всех измерениях.
На нерабочей поверхности колец допускаются посторонние включения и возвышения высотой не более 0,3 мм и диаметром не более 3 мм; недопрессовка и углубления глубиной не более 0,5 мм и длиной не более 3,0 мм; выпрессовки, втянутые кромки, обрывы и срезы размером не более 0,5 мм.
По всей поверхности колец допускаются разнотон и разноцвет.
На одном кольце допускается не более трех из перечисленных внешневидовых отклонений.
4.3 Физико-механические показатели резин, применяемых для изготовления колец, должны соответствовать требованиям, указанным в таблице 2.
Таблица 2 - Физико-механические показатели резин
Наименование показателя | Значение | Метод испытания |
Твердость, единицы по Шору А | 70-80 | По ГОСТ 263 |
Коэффициент морозостойкости по эластическому восстановлению после сжатия при температуре минус 60°С, не менее | 0,15 | По ГОСТ 13808 |
Изменение массы после воздействия стандартной жидкости СЖР-3 в течение (24,0±0,5) ч при температуре (70±2)°С, % | От -1 до +10 | По ГОСТ 9.030 |
4.4 Относительная остаточная деформация сжатия колец должна быть не более 5%.
Кольца после испытания в соответствии с 8.4 не должны иметь повреждений.
4.5 Относительная остаточная деформация сжатия после старения колец должна быть не более 5%.
Кольца после испытания в соответствии с 8.7 не должны иметь повреждений.
4.6 Кольца должны быть морозостойкими.
4.7 Кольца должны обеспечивать герметичность соединительных головок рукавов по ГОСТ 2593-2014 и концевых кранов автотормозов при рабочем давлении сжатого воздуха.
4.8 Средняя наработка колец до отказа - в соответствии с договором между изготовителем и потребителем.
4.9 Маркировка
4.9.1 На нерабочей поверхности кольца оттиском или гравировкой на резине должна быть нанесена следующая информация:
- наименование или товарный знак предприятия-изготовителя;
- условный номер предприятия-изготовителя (при наличии);
- условное обозначение;
- номер гнезда пресс-формы (при необходимости);
- год изготовления (две последние цифры).
Каждый последующий год изготовления колец при использовании пресс-формы обозначают точкой. После пяти точек указывают две последние цифры года, далее - последующие пять точек.
Допускается при использовании пресс-формы предварительно зачеканивать предыдущее обозначение года изготовления и указывать две последние цифры текущего года изготовления колец.
Допускается использовать календарные штампы и вставки в пресс-форме для обозначения на кольцах года изготовления.
4.9.2 Транспортная маркировка - по ГОСТ 14192 с нанесением следующей информации:
- наименования, типа и группы (для колец типа КП) изделий;
- количества изделий;
- даты изготовления (месяца и года);
- номера партии;
- штампа технического контроля;
- штрихового кода продукции (при наличии);
- обозначения настоящего стандарта.
4.10 Упаковка
4.10.1 Кольца комплектуют по типам и группам (для колец типа КП), связывают по 100 шт., затем 10 связок подбирают в пачку, а пачки по 3 шт. упаковывают в мешки или ящики. Допускается кольца типа КУ упаковывать россыпью по 3000 шт. в мешки или ящики, выложенные бумагой по ГОСТ 8273.
Допускается по согласованию с потребителем упаковывать кольца разного типа в одну упаковочную единицу, при этом кольца одного типа в упаковочной единице должны иметь индивидуальную упаковку.
Допускается по согласованию изготовителя с потребителем применять другой вид упаковки при условии обеспечения сохранности колец при транспортировании и хранении.
4.10.2 При транспортировании колец в районы с холодным климатом упаковка должна соответствовать требованиям ГОСТ 15846.
5 Требования безопасности
5.1 Кольца не взрывоопасны, самопроизвольно не воспламеняются, горят только при внесении в открытый источник огня.
5.2 Резины, применяемые при изготовлении колец, относят к группе трудногорючих материалов в соответствии с ГОСТ 12.1.044.
5.3 Кольца относят к 4-му классу опасности по ГОСТ 12.1.007.
5.4 При возникновении пожара применяют пенные и углекислотные огнетушители, песок, воду, воздушно-механическую пену.
5.5 Работа с кольцами не требует особых мер предосторожности.
6 Требования охраны окружающей среды
6.1 Кольца при эксплуатации и хранении не выделяют в окружающую среду токсичных веществ и не оказывают при непосредственном контакте вредного воздействия на организм человека.
6.2 Кольца, не соответствующие требованиям настоящего стандарта (см. раздел 7) или утратившие потребительские свойства, по степени воздействия на окружающую среду классифицируют в соответствии с национальным законодательством* и утилизируют в соответствии с национальным законодательством.
________________
* В Российской Федерации - в соответствии с Федеральным классификационным каталогом отходов (утвержденным приказом Росприроднадзора от 22 мая 2017 г. N 242).
7 Правила приемки
7.1 Кольца принимают партиями. Партией считают суточную выработку колец, но не более 30000 шт., сопровождаемых одним документом о качестве, содержащим:
- наименование и/или товарный знак предприятия-изготовителя;
- наименование, тип и группу колец (для колец типа КП);
- количество колец;
- номер партии;
- дату изготовления (месяц и год - две последние цифры);
- подтверждение соответствия колец требованиям настоящего стандарта;
- условный код предприятия-изготовителя (при наличии);
- обозначение настоящего стандарта.
Допускается по согласованию с потребителем указывать в документе о качестве дополнительную информацию.
7.2 Кольца испытывают не ранее чем через 16 ч после изготовления.
7.3 Для проверки соответствия колец (показатели 1-5 таблицы 3) и резин, используемых для их изготовления (показатель 6 таблицы 3), требованиям настоящего стандарта проводят приемо-сдаточные и периодические испытания в соответствии с таблицей 3.
Таблица 3 - Испытания колец и резиновых смесей
Наименование показателя | Объем выборки | Вид испытания | |
Приемо- сдаточные | Периоди- ческие | ||
1 Внешний вид (см. 4.2) | 100% | + | - |
2 Контролируемые размеры (см. 3.2) | 1% от партии, но не менее 10 шт. | + | - |
3 Относительная остаточная деформация сжатия (см. 4.4) | 0,03% от партии, но не менее 10 шт. | + | - |
4 Относительная остаточная деформация после старения (см. 4.5) | 0,03% от партии, но не менее 10 шт. | + | - |
5 Морозостойкость (см. 4.6) | 0,05% от партии, но не менее 10 шт. | + | - |
6 Физико-механические показатели (см. 4.3) | Каждая пятая закладка резиновой смеси | - | + |
Примечания 1 Знак "+" обозначает проведение испытаний, знак "-" - отсутствие. 2 Размеры, обеспечиваемые инструментом, измеряют при приемке новых или отремонтированных пресс-форм. 3 Допускается применять статистический метод контроля внешнего вида в соответствии с ГОСТ ISO 2859-1 с показателями плана контроля по согласованию с потребителем. | |||
7.4 При изменении рецептуры резиновой смеси или режима вулканизации изделий физико-механические показатели резин по показателю 6 таблицы 3 определяют на каждой закладке резиновой смеси до получения стабильных значений показателей (см. таблицу 2).
7.5 При получении неудовлетворительных результатов приемо-сдаточных испытаний хотя бы по одному показателю проводят повторные испытания по этому показателю на удвоенном количестве образцов, взятых из той же партии. Результаты повторных испытаний являются окончательными и распространяются на всю партию.
7.6 При получении неудовлетворительных результатов периодических испытаний испытания по этому показателю проводят на удвоенном количестве образцов, взятых от той же закладки резиновой смеси. Результаты испытаний являются окончательными.
8 Методы испытаний
8.1 Отбор образцов
Отбор образцов от партии колец проводят методом случайного отбора по ГОСТ 18321.
8.2 Общие требования к проведению испытаний
Общие требования к проведению испытаний колец и резин, используемых для их изготовления, - в соответствии с требованиями ГОСТ 269.
8.3 Измерение размеров
8.3.1 Средства измерений
Для измерения размеров колец (контролируемых и обеспечиваемых инструментом) применяют следующие средства измерений:
- штангенциркуль типа ШЦ с ценой деления 0,1 мм по ГОСТ 166;
- толщиномер типа ТР с ценой деления 0,01 мм и погрешностью измерения ±0,08 мм по ГОСТ 11358;
- штангенрейсмас типа ШР с ценой деления 0,05 мм и погрешностью измерения ±0,05 мм по ГОСТ 164.
8.3.2 Проведение измерений
Диаметр колец измеряют штангенциркулем не менее чем в двух взаимно перпендикулярных направлениях.
За результат измерения диаметра кольца принимают среднеарифметическое значение всех измерений, округленное до первого десятичного знака.
Высоту колец измеряют толщиномером или штангенрейсмасом не менее чем в трех точках. Кольцо считают соответствующим требованиям настоящего стандарта, если результаты всех измерений находятся в пределах допуска на параметр, указанный в таблице 1.
При измерении высоты колец типа КУ их помещают между двумя металлическими пластинами толщиной (2,00±0,05) мм, переносят на пятку толщиномера, опускают измерительный наконечник и проводят отсчет показания отсчетного устройства.
Высоту кольца , мм, вычисляют по формуле
, (1)
где - высота кольца и двух пластин, мм;
,
- высота пластин соответственно, мм.
За результат измерения высоты кольца принимают среднеарифметическое значение всех измерений, округленное до первого десятичного знака.
8.4 Определение внешневидовых отклонений
8.4.1 Наличие внешневидовых отклонений на поверхности колец проверяют визуально.
8.4.2 Размеры внешневидовых отклонений измеряют толщиномером по ГОСТ 11358 с ценой деления 0,01 мм, штангенциркулем по ГОСТ 166 с отсчетом по нониусу 0,05 мм.
8.5 Определение физико-механических показателей резин
Методы определения физико-механических показателей резин, используемых для изготовления колец, приведены в таблице 2.
8.6 Определение относительной остаточной деформации сжатия
8.6.1 Аппаратура, средства измерений, приспособления
Струбцины по ГОСТ 9.029, обеспечивающие деформацию сжатия колец (33,3±3,0)%.
Ограничители, изготовленные из того же материала, что и струбцина, имеющие высоту:
- (8,07±0,01) мм - для колец типа КУ;
- (5,87±0,01) мм - для колец типа КП, группы 1;
- (6,40±0,01) мм - для колец типа КП, группы 2.
Толщиномер типа ТР с ценой деления 0,1 мм и погрешностью измерения ±0,08 мм по ГОСТ 11358.
Термометр.
Секундомер.
8.6.2 Проведение испытания
Сжимают образцы, используя струбцины и ограничители, до 2/3 первоначальной высоты и выдерживают в деформированном состоянии (30) мин при температуре (23±5)°С.
Затем извлекают образцы из струбцины, оставляют в свободном состоянии на (1,0±0,1) мин и измеряют высоту колец в соответствии с 8.3.
8.6.3 Обработка результатов
Относительную остаточную деформацию кольца , %, вычисляют по формуле
, (2)
где - первоначальная высота кольца, мм;
- высота кольца после сжатия и выдержки в свободном состоянии.
Относительная остаточная деформация кольца должна быть не более 5% от первоначальной высоты.
Кольца после снятия нагрузки и выдержки в свободном состоянии не должны иметь механических повреждений, которые определяют визуально.
8.7 Определение относительной остаточной деформации сжатия после старения
8.7.1 Аппаратура, средства измерений, приспособления
Струбцины по ГОСТ 9.029, обеспечивающие деформацию сжатия колец (33,3±3,0)%.
Ограничители, изготовленные из того же материала, что и струбцина, имеющие высоту:
- (8,07±0,01) мм - для колец типа КУ;
- (5,87±0,01) мм - для колец типа КП, группы 1;
- (6,40±0,01) мм - для колец типа КП, группы 2.
Термостат по ГОСТ 9.024.
Толщиномер типа ТР с ценой деления 0,1 мм и погрешностью измерения ±0,08 мм по ГОСТ 11358.
Термометр.
Секундомер.
8.7.2 Проведение испытания
Помещают кольца в термостат в соответствии с требованиями ГОСТ 9.024 и выдерживают (24,0±0,5) ч при температуре (100±1)°С. Затем удаляют кольца из термостата после термического старения в воздухе и выдерживают не менее 16 ч и не более 6 сут.
Проведение испытания и обработка результатов - по 8.6.
Относительная остаточная деформация кольца после старения должна быть не более 5% от первоначальной высоты.
На поверхности колец, подвергшихся старению, после испытания по 8.6 не должно быть трещин и механических повреждений, которые определяют визуально.
8.8 Определение морозостойкости
8.8.1 Аппаратура, средства измерений, приспособления
Прибор типа ВН 5303 с установленным на нем приспособлением для испытания колец (см. приложение А).
Криостат, соответствующий требованиям ГОСТ 13808.
Погрешность поддержания (вручную или автоматически) температуры охлаждающего агента в криостате не должна превышать ±1,5°С, погрешность средств измерения - не более ±1,5°С.
Толщиномер типа ТР с ценой деления 0,1 мм и погрешностью измерения ±0,08 мм по ГОСТ 11358.
Спирт этиловый технический по ГОСТ 17299.
Двуокись углерода твердая по ГОСТ 12162.
8.8.2 Проведение испытания
Перед испытанием заполняют криостат прибора спиртом таким образом, чтобы верхняя точка испытуемого кольца в крайнем нижнем положении была не менее чем на 50 мм ниже уровня спирта. Добавляют в спирт твердую двуокись углерода (или другой охлаждающий агент, инертный к резине) и устанавливают температуру охлаждающей жидкости минус (60±1)°С, поддерживая ее в течение испытания. Погрешность поддержания (вручную или автоматически) температуры охлаждающей жидкости в криостате не должна превышать ±1,5°С, погрешность средств измерения - не более ±1,5°С. Чувствительный элемент средств измерений следует располагать на уровне образца.
Опускают приспособление на подвижной части прибора в криостат и выдерживают в охлаждающей жидкости (9±1) мин.
Удаляют подвижную часть прибора с приспособлением из криостата, устанавливают в приспособление испытуемое кольцо и сжимают его по диаметру до расстояния между диаметрально противоположными точками наружной окружности (
) мм в соответствии с размерами шаблона, затем опускают подвижную часть прибора с приспособлением в криостат и выдерживают в охлаждающей жидкости (5,0±0,5) мин при температуре минус (60±1)°С.
Освобождают кольцо от деформирующего усилия. Не удаляя приспособления из охлаждающей жидкости, определяют по указателю деформации значение эластического восстановления кольца через (3,00±0,25) мин после освобождения от усилия.
После проведения испытания кольцо должно восстановиться не менее чем на 0,4 мм.
8.9 Определение средней наработки до отказа и герметичности колец
Среднюю наработку до отказа колец для соединительных головок рукавов определяет потребитель при испытании на надежность рукавов по ГОСТ 2593-2014 (пункт 7.17), колец, применяемых в концевых кранах автотормозов, - по документации изготовителя.
Критерием отказа (предельным состоянием) является несоответствие продукции требованию по герметичности.
Герметичность колец для соединительных головок рукавов определяет потребитель при испытании рукавов по ГОСТ 2593-2014 (пункт 7.4).
Герметичность колец для концевых кранов автотормозов оценивает потребитель визуально без снятия кранов с подвижного состава. За результат принимают отсутствие утечки воздуха через затвор, а также материал корпуса, штуцера и места их соединений.
9 Транспортирование и хранение
9.1 Кольца транспортируют всеми видами транспорта в крытых транспортных средствах в соответствии с правилами перевозки грузов, действующими на данном виде транспорта.
9.2 Кольца следует хранить в помещении при температуре не выше 25°С на расстоянии не менее 1 м от теплоизлучающих приборов, защищенными от воздействия прямых солнечных лучей и источников света, в том числе от всех источников ионизирующего излучения. Относительная влажность при хранении должна быть не более 70%.
Не допускается хранение колец в помещениях с наличием в воздухе паров кислот, щелочей и других агрессивных примесей, оказывающих разрушающее воздействие на резину.
Кольца не должны подвергаться воздействию масел, бензина и других веществ, разрушающих резину.
После хранения колец при низкой температуре перед сборкой их следует выдержать при температуре (20±5)°С не менее 2 ч.
10 Указания по эксплуатации
10.1 При установке кольца следует предохранять от механических повреждений.
10.2 Перед установкой в посадочное место соединительной головки рукава или концевого крана автотормоза кольца необходимо протереть безворсовой тканью.
10.3 На сопрягаемых с кольцами поверхностях металлических деталей не допускаются царапины, забоины, риски и другие механические повреждения, а также острые кромки.
Перед сборкой необходимо очистить сборочные единицы от стружки, следов масел, смазки и других загрязнений.
10.4 При эксплуатации уплотняемая полость должна быть защищена от попадания грязи и стружек.
11 Гарантии изготовителя
11.1 Изготовитель гарантирует соответствие колец требованиям настоящего стандарта при соблюдении условий транспортирования, хранения и эксплуатации, установленных настоящим стандартом.
Гарантийный срок эксплуатации колец - пять лет с даты изготовления.
Допускается устанавливать гарантийный срок эксплуатации в договоре (контракте) между изготовителем и потребителем.
11.2 Срок хранения колец - три года с даты изготовления.
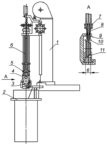
Приложение А
(справочное)
Приспособление к прибору типа ВН 5303 для испытания колец на морозостойкость
Приспособление к прибору типа ВН 5303 (далее - прибор) для испытания колец на морозостойкость состоит из штока с жестко закрепленным на нем деформирующим упором, переходной втулки с подвижной планкой, скобы со сменными фиксаторами для колец разных типов, шаблонов для колец разных типов и кронштейна с хомутом для криостата.
Схема приспособления к прибору приведена на рисунке А.1.
|
1 - прибор ВН 5303; 2 - кронштейн с хомутом для криостата; 3 - сменные фиксаторы для колец; 4 - скоба; 5 - подвижная планка; 6 - шток; 7 - винт; 8 - переходная втулка; 9 - штифт; 10 - деформирующий упор; 11 - испытуемое кольцо
Рисунок А.1 - Схема приспособления к прибору типа ВН 5303
Верхний конец штока соединен при помощи шарнира с измерителем деформации (индикатором часового типа с пределом измерения 10 мм и ценой деления шкалы 0,01 мм) прибора.
Суммарное усилие на испытуемое кольцо (измерительное усилие индикатора, масса шарнира, штока и деформирующего упора) должно быть не более 0,98 Н (0,1 кгс).
Переходную втулку винтами закрепляют на трубке прибора и используют для передачи давления от трубки через деформирующий упор на испытуемое кольцо. При перемещении переходной втулки с трубкой подвижная планка скользит по направляющим стержням прибора. Во внутренний канал переходной втулки выходит закрепленный в ней штифт, входящий в продольный паз на боковой поверхности верхней части деформирующего упора и препятствующий вращению деформирующего упора со штоком вокруг продольной оси.
Скоба должна быть жестко закреплена гайками на направляющих стержнях прибора. Вставляют в вырез нижней части скобы сменные фиксаторы для колец до упора торцевой стенки паза на нижней поверхности фиксатора в штифт скобы.
Наружный диаметр цилиндрического (кольцевого) шаблона (на рисунке А.1 не показан) должен быть (
) мм.
Ширина гнезда фиксатора и ширина шаблона
для колец разных типов приведена в таблице А.1.
Таблица А.1 - Размеры гнезда фиксатора и шаблона колец
Размеры в миллиметрах
| ||||
Тип кольца | ||||
Номин. | Пред. откл. | Номин. | Пред. откл. | |
КУ | 12,5 | +0,2 | 12 | -0,2 |
КП | 10,2 | 10 | ||
Перед проведением испытаний вставляют в скобу фиксатор с помещенным в его гнездо шаблоном в зависимости от типа испытуемого кольца и закрепляют в приборе указатель деформации (индикатор) с соединенным с ним штоком и деформирующим упором таким образом, чтобы при касании нижней поверхности деформирующего упора поверхности шаблона стрелка индикатора указывала на нулевое деление шкалы.
УДК 678-477:006.354 | МКС 83.040.10 |
Ключевые слова: резиновые уплотнительные кольца для соединительных головок тормозных рукавов и концевых кранов автотормозов, технические условия | |
Редакция документа с учетом
изменений и дополнений подготовлена


