ГОСТ 23381-2022
МЕЖГОСУДАРСТВЕННЫЙ СТАНДАРТ
СТУЛЬЯ УЧЕНИЧЕСКИЕ И ДЕТСКИЕ
Методы испытаний
School chairs and chairs for children. Test methods
МКС 97.140
Дата введения 2023-01-01
Предисловие
Цели, основные принципы и общие правила проведения работ по межгосударственной стандартизации установлены ГОСТ 1.0 "Межгосударственная система стандартизации. Основные положения" и ГОСТ 1.2 "Межгосударственная система стандартизации. Стандарты межгосударственные, правила и рекомендации по межгосударственной стандартизации. Правила разработки, принятия, обновления и отмены"
Сведения о стандарте
1 РАЗРАБОТАН Ассоциацией предприятий индустрии детских товаров "АИДТ" (Ассоциация "АИДТ")
2 ВНЕСЕН Межгосударственным техническим комитетом по стандартизации МТК 181 "Игрушки и товары для детства"
3 ПРИНЯТ Межгосударственным советом по стандартизации, метрологии и сертификации (протокол от 8 июня 2022 г. N 152-П)
За принятие проголосовали:
Краткое наименование страны по МК (ИСО 3166) 004-97 | Код страны по МК (ИСО 3166) 004-97 | Сокращенное наименование национального органа по стандартизации |
Армения | AM | ЗАО "Национальный орган по стандартизации и метрологии" Республики Армения |
Беларусь | BY | Госстандарт Республики Беларусь |
Казахстан | KZ | Госстандарт Республики Казахстан |
Киргизия | KG | Кыргызстандарт |
Россия | RU | Росстандарт |
Таджикистан | TJ | Таджикстандарт |
Узбекистан | UZ | Узстандарт |
4 Приказом Федерального агентства по техническому регулированию и метрологии от 11 июля 2022 г. N 590-ст межгосударственный стандарт ГОСТ 23381-2022 введен в действие в качестве национального стандарта Российской Федерации с 1 января 2023 г.
5 В настоящем стандарте учтены основные нормативные положения следующих стандартов: DIN EN 17191-2021* "Мебель детская. Детская мебель для сидения. Требования безопасности и методы испытаний" ("Children's furniture - Seating for children - Safety requirements and test method", NEQ); DIN EN 14988:2020 "Стулья детские высокие. Требования и методы испытаний" ("Children's high chairs - Requirements and test methods", NEQ), включая изменение А1:2020
________________
* Доступ к международным и зарубежным документам, упомянутым в тексте, можно получить, обратившись в Службу поддержки пользователей. - .
6 ВЗАМЕН ГОСТ 23381-2016
Информация о введении в действие (прекращении действия) настоящего стандарта и изменений к нему на территории указанных выше государств публикуется в указателях национальных стандартов, издаваемых в этих государствах, а также в сети Интернет на сайтах соответствующих национальных органов по стандартизации.
В случае пересмотра, изменения или отмены настоящего стандарта соответствующая информация будет опубликована на официальном интернет-сайте Межгосударственного совета по стандартизации, метрологии и сертификации в каталоге "Межгосударственные стандарты"
1 Область применения
Настоящий стандарт распространяется на ученические и детские стулья и устанавливает методы испытания:
- на устойчивость и прочность детских трансформируемых стульев и стульев для кормления;
- устойчивость и прочность при падении детских стульев ростовых номеров 00,0;
- устойчивость трансформируемых стульев и стульев для кормления при воздействии вертикальных нагрузок;
- устойчивость, прочность и долговечность детских стульев ростовых номеров 1, 2, 3 и ученических стульев ростовых номеров 1, 2, 3, 4, 5, 6, 7.
2 Нормативные ссылки
В настоящем стандарте использованы нормативные ссылки на следующие межгосударственные стандарты:
ГОСТ 8.423 Государственная система обеспечения единства измерений. Секундомеры механические. Методы и средства поверки
ГОСТ 427 Линейки измерительные металлические. Технические условия
ГОСТ 19917 Мебель для сидения и лежания. Общие технические условия
ГОСТ 22046 Мебель для учебных заведений. Общие технические условия
Примечание - При пользовании настоящим стандартом целесообразно проверить действие ссылочных стандартов и классификаторов на официальном интернет-сайте Межгосударственного совета по стандартизации, метрологии и сертификации (www.easc.by) или по указателям национальных стандартов, издаваемым в государствах, указанных в предисловии, или на официальных сайтах соответствующих национальных органов по стандартизации. Если на документ дана недатированная ссылка, то следует использовать документ, действующий на текущий момент, с учетом всех внесенных в него изменений. Если заменен ссылочный документ, на который дана датированная ссылка, то следует использовать указанную версию этого документа. Если после принятия настоящего стандарта в ссылочный документ, на который дана датированная ссылка, внесено изменение, затрагивающее положение, на которое дана ссылка, то это положение применяется без учета данного изменения. Если ссылочный документ отменен без замены, то положение, в котором дана ссылка на него, применяется в части, не затрагивающей эту ссылку.
3 Термины и определения
В настоящем стандарте применены следующие термины с соответствующими определениями:
3.1 устойчивость: Способность изделия сопротивляться силам, способным его опрокинуть.
3.2 прочность: Способность изделия сопротивляться внешним механическим воздействиям, не разрушаясь.
3.3 долговечность: Способность изделия длительно сохранять работоспособность до наступления предельного состояния при определенных условиях эксплуатации.
4 Отбор и подготовка образцов
4.1 Для испытания изделий берут один образец каждого ростового номера.
Для стульев, трансформируемых по высоте, отбирают один образец.
Количество и порядок отбора серийных образцов - по ГОСТ 19917 и ГОСТ 22046.
4.2 Перед испытаниями стулья из древесины и древесных материалов выдерживают не менее 3 сут в помещении с относительной влажностью от 45% до 70% и температурой от 15°С до 30°С, испытания проводят при тех же условиях.
Стулья из древесины и древесных материалов, с клеевыми соединениями выдерживают в обычных комнатных условиях не менее 4 нед со дня их изготовления.
4.3 Крепежные узлы разъемных соединений должны быть плотно затянуты. Сварные швы изделий на металлическом каркасе не должны иметь трещин, видимых невооруженным взглядом.
5 Методы испытания на устойчивость
5.1 Испытания на устойчивость детских трансформируемых стульев и стульев для кормления
Сущность метода заключается в приложении к стулу горизонтальной нагрузки, вызывающей его опрокидывание.
5.1.1 Аппаратура
5.1.1.1 Пружинный динамометр или другой прибор, обеспечивающий возможность измерения нагрузок
до 200 Н, с погрешностью измерения ±5 Н.
5.1.1.2 Груз массой
(10±0,1) кг с площадью основания (0,008±0,001) м
.
5.1.1.3 Упоры высотой (20-30) ±2 мм.
5.1.1.4 Линейка измерительная металлическая с ценой деления 1 мм (ГОСТ 427).
5.1.2 Подготовка к испытанию
5.1.2.1 Стул устанавливают вплотную к упору, в зависимости от направления испытаний, в одном из трех положений в соответствии с рисунком 1.
|
|
|
а - вперед | б - назад | в - влево (вправо) |
Рисунок 1 - Испытание трансформируемых стульев и стульев для кормления на устойчивость
5.1.2.2 На подножку или сиденье стула устанавливают груз.
5.1.3 Проведение испытаний
5.1.3.1 Испытание стула на устойчивость в трех направлениях проводят в соответствии с рисунком 1.
5.1.3.2 С помощью динамометра к стулу прикладывают горизонтальную нагрузку
и постепенно увеличивают ее до начала отрыва от пола пары ножек.
5.1.3.3 Значение нагрузки
, вызывающей начало опрокидывания стула, заносят в журнал (см. приложение А).
5.2 Испытания детских и ученических стульев при падении
Сущность метода заключается в определении угла наклона, при котором происходит опрокидывание стула с установленным на сиденье грузом.
5.2.1 Аппаратура
5.2.11 Испытательное устройство с регулируемым углом наклона, обеспечивающее установку стула в требуемом положении (рисунок 2) и изменение угла наклона с погрешностью ±1°.
|
Рисунок 2 - Испытание детских и ученических стульев на устойчивость
5.2.1.2 Специальные грузы в соответствии с рисунком 3.
|
1 - упор;
2 - центр массы (ЦМ)
Рисунок 3 - Специальные грузы для испытаний
Параметры грузов в зависимости от ростовых номеров стульев указаны в таблице 1.
Таблица 1 - Параметры грузов в зависимости от ростовых номеров стульев
Параметр груза | Значение параметра для ростовых номеров | ||
00, 0 | 1, 2, 3 | 4, 5, 6, 7 | |
Масса груза | 10±0,5 | 40±0,5 | 60±0,5 |
Высота центра массы груза над сиденьем | 100±5 | 160±5 | 200±5 |
Размер опорной площадки груза, мм | 390±5 | 390±5 | 460±5 |
| 65±5 | 135±5 | 175±5 |
| 135±5 | 220±5 | 250±5 |
5.2.1.3 Линейка измерительная металлическая с ценой деления 1 мм (ГОСТ 427).
5.2.2 Подготовка к испытанию
5.2.2.1 Для определения устойчивости в направлении назад стул устанавливают на стенд спинкой в сторону наклона в боковом направлении так, чтобы передняя и задняя ножки касались упора.
5.2.2.2 На сиденье, вплотную к стойкам спинки стула, устанавливают груз (см. таблицу 1) широкой стороной основания. Упор груза выдвигают до соприкосновения со спинкой стула и закрепляют в этом положении.
5.2.3 Проведение испытания
5.2.3.1 Платформу наклоняют, фиксируют на шкале стенда (прибора) угол наклона в момент начала опрокидывания стула. Началом опрокидывания считают момент отрыва передних концов опор или ножек от платформы.
Показателем устойчивости стула считают наименьший угол наклона при опрокидывании образца.
5.2.3.2 Значение угла наклона заносят в журнал (см. приложение А).
5.2.4 Обработка результатов
5.2.4.1 Трансформируемые стулья и стулья для кормления считают устойчивыми, если значение нагрузки, вызывающей опрокидывание в любом направлении каждого образца, соответствует норме, установленной ГОСТ 19917.
5.2.4.2 Ученические и детские стулья считают устойчивыми, если значение угла наклона, при котором происходит опрокидывание образца, соответствует норме, установленной ГОСТ 22046 и ГОСТ 19917.
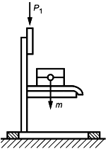
5.3 Испытания на устойчивость трансформируемых стульев и стульев для кормления при воздействии вертикальных нагрузок
Сущность метода заключается в приложении вертикальной нагрузки к столику и подножке стула, вызывающей его опрокидывание.
5.3.1 Аппаратура
5.3.1.1 Приспособление, обеспечивающее статическое приложение вертикальной нагрузки до 200 Н к столу и подножке стула. Погрешность приложения нагрузки ±5%.
5.3.1.2 Упоры высотой (20-30)±2 мм.
5.3.1.3 Линейка измерительная металлическая с ценой деления 1 мм (по ГОСТ 427).
5.3.1.4 Секундомер механический с ценой деления 0,1 с (по ГОСТ 8.423).
5.3.2 Подготовка к испытанию
5.3.2.1 Опоры стула фиксируют упорами высотой (12±2) мм таким образом, чтобы во время испытаний они не скользили.
Приложение вертикальных нагрузок происходит на приставные элементы.
5.3.3 Проведение испытания
Ставят ненагруженный детский стул для кормления с прикрепленной к нему подставкой для ног и столиком.
Постепенно прикладывают направленное вниз вертикальное усилие величиной 200 Н до полного нагружения к подставке для ног или горизонтально расположенным компонентам в точке, расположенной на расстоянии 25 мм от внешней кромки. Если ширина подставки для ног или горизонтально расположенных компонентов меньше 50 мм, прикладывают данное усилие в центре (см. рисунок 4).
Показателем устойчивости стула считают значение нагрузки, вызывающей опрокидывание образца.
Значение нагрузки и место ее приложения заносят в журнал (см. приложение А).
|
Рисунок 4 - Испытание стульев на устойчивость при нагружении вертикальной нагрузкой подставки для ног и горизонтально расположенных компонентов
5.3.4 Оценка результатов
Стул считают устойчивым, если значение нагрузки, приложенной к горизонтальному элементу, соответствует норме, установленной ГОСТ 19917.
6 Методы испытания на прочность
6.1 Испытание на прочность каркаса детских трансформируемых стульев и стульев для кормления
Сущность метода заключается в приложении к стулу горизонтальной нагрузки, вызывающей падение с последующей оценкой состояния образца.
6.1.1 Аппаратура
6.1.1.1 Пластина из эластичного материала размером не менее 900 (±2)600 (±2) мм, толщиной (20±2) мм, объемной плотностью 35-40 кг/м
.
6.1.1.2 Линейка измерительная металлическая с ценой деления 1 мм (по ГОСТ 427).
6.1.2 Подготовка к испытанию
Стул устанавливают на горизонтальную плоскость. На место предполагаемого падения стула устанавливают пластину из эластичного материала размером не менее 900600 мм, толщиной (20±2) мм, объемной плотностью 35-40 кг/м
.
6.1.3 Проведение испытания
6.1.3.1 Стул толкают рукой, вызывая его падение вперед в соответствии с рисунком 5.
После падения стул осматривают и фиксируют видимые повреждения (сколы, изломы, трещины, нарушения клеевых соединений).
При отсутствии повреждений испытание повторяют до установленного количества падений.
6.1.3.2 Испытание стула в направлениях назад, влево и вправо проводят в соответствии с 6.1.3.1.
|
Рисунок 5 - Испытание трансформируемых стульев и стульев для кормления на прочность
Если у испытанного образца появятся видимые дефекты повреждения до наступления нормативного количества циклов, дальнейшее испытание прекращают и стулья считают не выдержавшими испытания.
6.1.3.3 Количество падений и характер повреждений заносят в журнал (см. приложение А).
6.2 Испытание на прочность крепления подножки, стола трансформируемых стульев и стульев для кормления, и сиденья к металлическому каркасу ученических и детских стульев ростовых номеров 1, 2, 3, 4, 5, 6, 7
Сущность метода заключается в приложении вертикальных циклических нагрузок к испытуемым элементам стульев с последующей оценкой состояния их деталей и соединений.
6.2.1 Аппаратура
6.2.1.1 Испытательное устройство, обеспечивающее свободное падение груза с частотой циклов (40±2) мин (цикл/мин).
6.2.1.2 Грузы массой (10,0±0,1) кг, диаметром (100±5) мм для трансформируемых стульев и стульев для кормления, массой (30,00±0,15) кг - для ученических и детских стульев номеров 1, 2, 3; (50,00±0,25) кг - для ученических стульев номеров 4, 5, 6, диаметром (180±5) мм.
Грузы должны быть с плоской нижней поверхностью и закругленными краями радиусом 30 мм.
6.2.1.3 Пластина из эластичного пенополиуретана или другого эластичного материала размером не менее 200300 мм, толщиной (20±2) мм, объемной плотностью 35-40 кг/м
.
6.2.1.4 Линейка измерительная металлическая с ценой деления 1 мм (по ГОСТ 427).
6.2.2 Подготовка к испытанию
6.2.2.1 При испытании подножки стул устанавливают под ударный механизм так, чтобы удар приходился по центру подножки, как показано на рисунке 6,а, и закрепляют.
6.2.2.2 При испытании стола-стула трансформируемого стул переводят в положение "стул-стол-коляска" и устанавливают под ударный механизм так, чтобы удар приходился на стол в точке, находящейся на расстоянии (100±5) мм от ближнего от сиденья края, как показано на рисунке 6,б, и закрепляют. Съемные столики стульев для кормления не испытывают.
|
|
|
а | б | в |
Рисунок 6 - Испытание стульев на прочность
6.2.2.3 При испытании крепления сиденья к металлическому каркасу стул устанавливают под ударный механизм так, чтобы удар приходился по центру сиденья, как показано на рисунке 6,в, и закрепляют.
Сиденье стула, трансформируемого на несколько ростовых номеров, устанавливают на высоту максимального ростового номера.
6.2.2.4 Груз, создающий ударную нагрузку, устанавливают на высоте
, равной (50±1) мм от подножки и стола трансформируемых стульев и (100±5) мм от сиденья ученических и детских стульев.
6.2.2.5 В месте приложения нагрузки помещают пластину из эластичного материала (см. 6.2.1.3).
6.2.3 Проведение испытаний
6.2.3.1 Включают стенд и проводят нагружение до нормативного количества циклов или до появления видимых дефектов разрушения (нарушение сварных швов, вырыв крепежных элементов, поломка деталей стульев).
Если у испытанного образца появятся видимые дефекты разрушения до наступления нормативного количества циклов, дальнейшее испытание прекращают и стулья считают не выдержавшими испытания.
6.2.3.2 Количество циклов нагружения и характер разрушений заносят в журнал (см. приложение А).
6.2.4 Обработка результатов
6.2.4.1 Стулья считают выдержавшими испытания на прочность, если каждый испытуемый образец выдерживает без проявления повреждений нормативное количество циклов нагружений, предусмотренное ГОСТ 19917 или ГОСТ 22046.
6.3 Испытание на статическую прочность ученических и детских стульев ростовых номеров 1, 2, 3, 4, 5, 6
Сущность метода испытания заключается в воздействии на спинку стула и на сиденье вертикальной статической нагрузки.
6.3.1 Аппаратура
6.3.1.1 Испытательное устройство, обеспечивающее:
- возможность приложения вертикальной статической нагрузки до 2000 Н;
- скорость нагружения (10±2) мм/мин;
- погрешность измерения нагрузки ±1%;
- установку стула в требуемое положение;
- установку груза массой (40±0,5) кг;
- закрепление прижимного приспособления (рисунок 7).
|
Рисунок 7 - Схема закрепления прижимного приспособления
Допустимые отклонения размеров, указанных на рисунке 7, ±1 мм для линейных размеров и ±1° - для угловых.
6.3.1.2 Линейка измерительная металлическая с ценой деления 1 мм (ГОСТ 427).
6.3.1.3 Секундомер механический с ценой деления 0,1 с (ГОСТ 8.423).
6.3.2 Подготовка к испытанию
6.3.2.1 При испытании спинки стул устанавливают на испытательное устройство так, чтобы линия действия вертикальной нагрузки
проходила через середину спинки стула.
При испытании сиденья стул устанавливают на площадку испытательного устройства так, чтобы линия действия нагрузки
проходила на расстоянии 150 мм от края сиденья.
Схемы нагружения спинки или сиденья стула приведены на рисунке 8.
|
|
а | б |
Рисунок 8 - Схема нагружения спинки или сидения стула
6.3.2.2 При нагружении спинки груз массой (40±0,5) кг устанавливают в геометрическом центре поверхности сиденья.
6.3.2.3 На ребро спинки стула по центру (рисунок 8, а) накладывают прижимное приспособление (рисунок 7).
6.3.2.4 На сиденье стула, на расстоянии (150±5) мм от края сиденья (рисунок 8, б), накладывают жесткий диск диаметром (200±5) мм.
6.3.3 Проведение испытаний
6.3.3.1 Спинку или сиденье стула нагружают с указанной скоростью вертикальной статической нагрузкой
(рисунок 8) до нормы, установленной ГОСТ 19917 и ГОСТ 22046, и выдерживают под нагрузкой в течение (60±5) с.
6.3.3.2 Значение нагрузки и характер разрушений заносят в журнал (см. приложение А).
6.3.4 Обработка результатов
6.3.4.1 Стулья считают выдержавшими испытание на статическую прочность спинки и сиденья, если после снятия нагрузки в каждом испытуемом образце не будут обнаружены видимые дефекты (нарушение сварных швов, изгиб трубы, вырыв фурнитуры, сколы и смятие древесины).
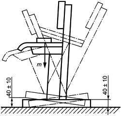
7 Метод испытания на долговечность
Сущность метода заключается в воздействии циклических нагрузок на стул посредством качания его на передних и задних ножках с установленным на сиденье грузом.
7.1 Аппаратура
7.1.1 Испытательное устройство, работающее с частотой циклов от 10 до 24 мин.
7.1.2 Грузы, параметры которых приведены в таблице 2.
Таблица 2 - Параметры грузов в зависимости от ростовых номеров стульев для испытания на долговечность
Параметр груза | Значение параметра для ростовых номеров | |
1, 2, 3 | 4, 5, 6, 7 | |
Масса балластного груза, кг | 40,0±0,4 | 75,0±0,7 |
Площадь опоры груза, м | 0,09±0,01 | 0,09±0,01 |
Высота крепления рычага приводного механизма от поверхности сиденья стула | Не менее 170 | |
7.1.3 Секундомер механический с ценой деления 0,1 с (по ГОСТ 8.423).
7.1.4 Линейка измерительная металлическая с ценой деления 1 мм (по ГОСТ 427).
7.2 Подготовка к испытанию
7.2.1 Стул устанавливают в опорные гнезда устройства.
7.2.2 Испытательное устройство регулируют так, чтобы при качании передние и задние ножки стула приподнимались поочередно на (40±10) мм.
7.2.3 На сиденье стула устанавливают груз. Разница расстояний между кромками сиденья стула и груза по каждому из двух взаимно перпендикулярных направлений не должна превышать 20 мм.
7.2.4 Счетчик числа циклов устанавливают на нуль.
7.3 Проведение испытания
7.3.1 Испытание стула проводят по схеме, приведенной на рисунке 9.
7.3.2 Включают стенд. После 1000 циклов качания, а затем через каждые 1000 циклов до нормы, предусмотренной ГОСТ 22046 и ГОСТ 19917, стенд выключают, осматривают стул и определяют наличие дефектов в соответствии с требованиями 7.4.1.
|
Рисунок 9 - Испытание стула на долговечность
7.4 Обработка результатов
7.4.1 Образец стула считают разрушенным, если при его испытании появится один из следующих дефектов:
- излом любой детали стула;
- разрушение соединений стоек спинки с царгой стула.
7.4.2 Стул считают долговечным, если каждый испытуемый образец выдержит без появления дефектов, указанных в 7.4.1, количество циклов качания, предусмотренное ГОСТ 22046 и ГОСТ 19917.
7.4.3 Число циклов нагружения и характер разрушений заносят в журнал (приложение А).
8 Методы испытания на прочность при падении (см. [1])
Сущность метода заключается в многократном падении стула с определенной высоты под определенным углом.
8.1 Аппаратура
Испытательное устройство с регулируемым углом наклона, обеспечивающее установку стула в требуемом положении (рисунок 10) и изменение угла наклона с погрешностью ±2°.
8.2 Подготовка к испытанию
8.2.1 Стул располагают таким образом, чтобы при падении на одну ножку линия, соединяющая эту ножку с противоположной по диагонали ножкой, была отклонена на 10° от горизонтали, в то время как линия, соединяющая две другие ножки, была горизонтальной (рисунок 10).
8.2.2 Стул поднимают на высоту, указанную в таблице 3, для определенного вида стула, и роняют его на пол с резиновым покрытием толщиной не менее 2 мм поочередно на переднюю и затем заднюю ножки.
|
Рисунок 10 - Испытания стула на прочность при падении
Таблица 3 - Высота падения стульев
Вид стульев | Высота падения, мм |
Ученические штабелируемые | 600 |
Детские штабелируемые | 300 |
Ученические нештабелируемые | 300 |
Детские нештабелируемые | 150 |
8.3 Обработка результатов
8.3.1 После окончания испытания стул тщательно осматривают и отмечают любые явные изменения и повреждения (трещины или разрушения в любой детали, элементе, соединении; нарушение сварных швов и изгиб металлического каркаса; ослабления, выявляемые в результате нажатия рукой на соответствующие детали и соединения, которые должны быть неподвижными).
8.3.2 Стул считают выдержавшим испытание на прочность при падении, если каждый испытанный образец выдерживает без появления дефектов, перечисленных в 8.3.1, число падений, предусмотренное ГОСТ 22046 и ГОСТ 19917.
8.3.3 Число падений и характер разрушений заносят в журнал (см. приложение А).
9 Подтверждение результатов испытаний
9.1 Трансформируемые стулья считают выдержавшими испытания, если полученные при испытании показатели устойчивости и прочности будут соответствовать нормам, предусмотренным ГОСТ 19917.
9.2 Детские стулья считают выдержавшими испытания, если полученные при испытании показатели устойчивости, прочности, долговечности будут соответствовать нормам, предусмотренным ГОСТ 19917.
9.3 Ученические стулья считают выдержавшими испытания, если полученные при испытании показатели устойчивости, прочности, долговечности соответствуют ГОСТ 22046.
9.4 Результаты испытаний стульев заносят в протокол (см. приложение Б).
Приложение А
(рекомендуемое)
Журнал записи результатов испытаний ученических и детских стульев
Изготовитель | |||||||||||
Обозначение изделия, | |||||||||||
краткая характеристика изделия | |||||||||||
Результаты испытаний на устойчивость трансформируемых стульев и стульев для кормления | |||||||||||
Номер образца | Направление опрокидывания | Значение нагрузки | Оценка устойчивости | ||||||||
Результаты испытаний на устойчивость трансформируемых стульев и стульев для кормления при воздействии вертикальных нагрузок | |||||||||||
Номер образца | Направление опрокидывания | Значение нагрузки | Оценка устойчивости | ||||||||
Результаты испытаний на устойчивость ученических стульев ростовых номеров 1, 2, 3, 4, 5, 6; детских стульев - 00, 0 | |||||||||||
Номер образца | Угол наклона, градусы | Оценка устойчивости | |||||||||
Результаты испытаний на прочность каркаса трансформируемых стульев | |||||||||||
Номер образца | Направление испытания | Число падений | Характер разрушений | ||||||||
Результаты испытаний на прочность подножки и стола трансформируемых стульев и стульев для кормления, крепления сиденья к каркасу ученических стульев ростовых номеров 1, 2, 3, 4, 5, 6 | |||||||||||
Номер образца | Масса груза, кг | Число циклов | Характер разрушений | ||||||||
Результаты испытаний на статическую прочность ученических стульев ростовых номеров 1, 2, 3, 4, 5, 6 и детских стульев - 00, 0 | |||||||||||
Номер образца | Значение нагрузки | Характер разрушений | |||||||||
Результаты испытаний на долговечность деревянной конструкции ученических стульев ростовых номеров 1, 2, 3, 4, 5, 6 и детских стульев - 1, 2, 3 | |||||||||||
Номер образца | Число циклов нагружения, тыс | Значение деформации, мм | Характер разрушений | ||||||||
Результаты испытаний на прочность при падении ученических стульев ростовых номеров 1, 2, 3, 4, 5, 6 и детских стульев - 00, 0, 1, 2, 3 | |||||||||||
Номер образца | Число падений | Характер разрушений | |||||||||
Подпись испытателя | |||||||||||
Дата испытания | |||||||||||
Приложение Б
(рекомендуемое)
Образец протокола испытаний
Наименование и адрес испытательной лаборатории (центра), данные об аккредитации | ||||
УТВЕРЖДАЮ | ||||
должность руководителя ИЦ | ||||
личная подпись и ее расшифровка | ||||
ПРОТОКОЛ N | ||||
испытаний | ||||
(виды испытаний) | ||||
Наименование и обозначение изделий | ||||
Заявитель, юридический адрес | ||||
Изготовитель, юридический адрес | ||||
Условия проведения испытаний | ||||
Основание для проведения испытаний (письмо) или акт отбора образцов (при необходимости) | ||||
Обозначение документов на продукцию | ||||
Обозначение документов на методы испытаний | ||||
Определяемые показатели | ||||
Перечень испытательного оборудования, сведения о его аттестации (проверке) | ||||
Краткая характеристика объекта испытаний | ||||
Результаты испытаний | ||||
Заключение (при необходимости) | ||||
Личные подписи | Расшифровка подписей | |||
Библиография
[1] | ISO 7173:1989 | Furniture. Chairs and stools. Determination of strength and durability (Мебель. Стулья и табуреты. Определение прочности и долговечности) |
УДК 684.4:006.354 | МКС 97.140 |
Ключевые слова: ученические и детские стулья, методы испытаний на устойчивость, прочность, долговечность, прочность при падении | |
Электронный текст документа
и сверен по:
М.: ФГБУ "РСТ", 2022














