ГОСТ Р ИСО 19322-2022
НАЦИОНАЛЬНЫЙ СТАНДАРТ РОССИЙСКОЙ ФЕДЕРАЦИИ
ПОКРЫТИЯ НАПОЛЬНЫЕ ЭЛАСТИЧНЫЕ НА ОСНОВЕ ТЕРМОПЛАСТИЧНЫХ ПОЛИМЕРОВ
Технические условия
Resilient floor coverings based on thermoplastic polymers. Specification
ОКС 97.150*
________________
* Поправка
Дата введения 2022-12-01
Предисловие
1 ПОДГОТОВЛЕН Федеральным государственным бюджетным учреждением "Российский институт стандартизации" (ФГБУ "РСТ") на основе собственного перевода на русский язык англоязычной версии стандарта, указанного в пункте 4
2 ВНЕСЕН Техническим комитетом по стандартизации ТК 144 "Строительные материалы и изделия"
3 УТВЕРЖДЕН И ВВЕДЕН В ДЕЙСТВИЕ Приказом Федерального агентства по техническому регулированию и метрологии от 14 апреля 2022 г. N 207-ст
4 Настоящий стандарт идентичен международному стандарту ИСО 19322:2018* "Эластичные напольные покрытия. Технические требования для напольных покрытий на основе термопластичных полимеров" (ISO 19322:2018 "Resilient floor coverings - Specification for floor coverings based on thermoplastic polymers", IDT).
________________
* Доступ к международным и зарубежным документам, упомянутым в тексте, можно получить, обратившись в Службу поддержки пользователей. - .
Международный стандарт ИСО 19322:2018 подготовлен Техническим комитетом ТК 219 "Напольные покрытия" Международной организации по стандартизации (ИСО).
Наименование настоящего стандарта изменено относительно наименования указанного международного стандарта для приведения в соответствие с ГОСТ Р 1.5-2012 (пункт 3.5).
При применении настоящего стандарта рекомендуется использовать вместо ссылочных стандартов соответствующие им национальные и межгосударственные стандарты, сведения о которых приведены в дополнительном приложении ДА
5 ВВЕДЕН ВПЕРВЫЕ
6 Некоторые положения стандарта могут являться объектами патентных прав
Правила применения настоящего стандарта установлены в статье 26 Федерального закона от 29 июня 2015 г. N 162-ФЗ "О стандартизации в Российской Федерации". Информация об изменениях к настоящему стандарту публикуется в ежегодном (по состоянию на 1 января текущего года) информационном указателе "Национальные стандарты", а официальный текст изменений и поправок - в ежемесячном информационном указателе "Национальные стандарты". В случае пересмотра (замены) или отмены настоящего стандарта соответствующее уведомление будет опубликовано в ближайшем выпуске ежемесячного информационного указателя "Национальные стандарты". Соответствующая информация, уведомление и тексты размещаются также в информационной системе общего пользования - на официальном сайте Федерального агентства по техническому регулированию и метрологии в сети Интернет (www.rst.gov.ru)
ВНЕСЕНА поправка, опубликованная на официальном сайте Росстандарта России rst.gov.ru по состоянию на 14.04.2025
Поправка внесена изготовителем базы данных
1 Область применения
Настоящий стандарт распространяется на эластичные напольные покрытия на основе термопластичных полимеров, поставляемые в виде рулонов, плиток или пластин, и устанавливает требования к их техническим характеристикам и маркировке.
Чтобы помочь потребителю сделать правильный выбор, в настоящий стандарт включена система классификации напольных покрытий (см. ИСО 10874), основанная на интенсивности использования, которая позволяет оценить ожидаемые эксплуатационные свойства напольных покрытий.
Требования настоящего стандарта не применимы к напольным покрытиям по ИСО 10581, ИСО 10582, ИСО 10595, ИСО 11638, ИСО 10575, ИСО 10577, ИСО 24011 и ИСО 26986.
2 Нормативные ссылки
В настоящем стандарте использованы нормативные ссылки на следующие стандарты [для датированных ссылок применяют только указанное издание ссылочного стандарта, для недатированных - последнее издание (включая все изменения)]:
ISO 105-B02, Textiles - Tests for colour fastness - Part B02: Colour fastness to artificial light: Xenon arc fading lamp test (Текстиль. Испытания на прочность окраски. Часть В02. Стойкость окраски по отношению к искусственному свету. Испытания с использованием ксеноновой дуговой лампы)
ISO 291, Plastics - Standard atmospheres for conditioning and testing (Пластмассы. Стандартные атмосферы для кондиционирования и испытания)
ISO 4918, Resilient, textile and laminate floor coverings - Castor chair test (Эластичные, текстильные и ламинатные напольные покрытия. Испытание на пригодность для роликовых стульев)
ISO 9405, Textile floor coverings - Assessment of changes in appearance (Текстильные напольные покрытия. Оценка изменения внешнего вида)
ISO 10874, Resilient, textile and laminate floor coverings - Classification (Эластичные, текстильные и ламинатные напольные покрытия. Классификация)
ISO 16581, Resilient and laminate floor coverings - Determination of the effect of simulated movement of a furniture leg (Эластичные и ламинатные напольные покрытия. Определение эффекта при имитации движения мебельной ножки)
ISO 16906, Resilient floor coverings - Determination of seam strength (Эластичные напольные покрытия. Определение прочности швов)
ISO 23997, Resilient floor coverings - Determination of mass per unit area (Эластичные напольные покрытия. Определение массы на единицу площади)
ISO 23999, Resilient floor coverings - Determination of dimensional stability and curling after exposure to heat (Эластичные напольные покрытия. Определение стабильности размеров и коробления при воздействии тепла)
ISO 24340, Resilient floor coverings - Determination of thickness of layers (Эластичные напольные покрытия. Определение толщины слоев)
ISO 24341, Resilient and textile floor coverings - Determination of length, width and straightness of sheet (Эластичные и текстильные напольные покрытия. Определение длины, ширины и прямолинейности листов)
ISO 24342, Resilient and textile floor coverings - Determination of side length, edge straightness and squareness of tiles (Эластичные и текстильные напольные покрытия. Определение длины боковой стороны, прямизны кромки и площади плиток)
ISO 24343-1, Resilient and laminate floor coverings - Determination of indentation and residual indentation - Part 1: Residual indentation (Эластичные и ламинатные напольные покрытия. Определение твердости методом вдавливания и остаточной деформации. Часть 1. Остаточная деформация после вдавливания)
ISO 24343-2, Resilient and laminate floor coverings - Determination of indentation and residual indentation - Part 2: Short-term residual indentation of resilient floor covering (Эластичные и ламинатные напольные покрытия. Определение твердости методом вдавливания и остаточной деформации. Часть 2. Кратковременная остаточная деформация эластичного напольного покрытия)
ISO 24344, Resilient floor coverings - Determination of flexibility and deflection (Эластичные напольные покрытия. Определение упругости и прогиба)
ISO 24345, Resilient floor coverings - Determination of peel resistance (Эластичные напольные покрытия. Определение сопротивления отслаиванию)
ISO 24346, Resilient floor coverings - Determination of overall thickness (Эластичные напольные покрытия. Определение общей толщины)
EN 1372, Adhesives - Test method for adhesives for floor coverings and wall coverings - Peel test (Клеящие вещества - Метод испытания клеящих веществ для напольных покрытий и стеновых покрытий)
ASTM F1515, Standard Test Method for Measuring Light Stability of Resilient Flooring by Color Change (Стандартный метод определения светостойкости эластичных напольных покрытий по изменению цвета)
3 Термины и определения
В настоящем стандарте применены следующие термины с соответствующими определениями.
ИСО и МЭК ведут терминологические базы данных для использования в стандартизации по следующим адресам:
- Электропедия МЭК: доступна на http://www.electropedia.org/;
- платформа онлайн-просмотра ИСО: доступна на https://www.iso.org/obp.
3.1 гомогенное напольное покрытие (homogeneous floor covering): Напольное покрытие из одного или более слоев, одинаковых по составу и цвету, имеющее одинаковую структуру по всей толщине.
(Поправка).
3.2 гетерогенное напольное покрытие (heterogeneous floor covering): Напольное покрытие, состоящее из слоя износа (3.8) и другого(их) слоя(ев), которые отличаются по составу и/или типу и могут содержать скрепляющие материалы.
(Поправка).
3.3 заводская отделка (factory finish): Прозрачное покрытие толщиной, как правило, не более 0,03 мм, наносимое при изготовлении без использования термопластичного полимера (3.6) в качестве основного связующего.
3.4 изделие на подкладке (product with backing): Однородное (3.1) или неоднородное напольное покрытие (3.2) с подкладкой из любого материала, отличающегося от верхнего слоя, или с подкладкой из пенного слоя.
Примечание - Типичными материалами для подкладок являются пробка, пеноматериалы, полиэфиры или джут.
3.5 царапина (scratch): Неустранимое повреждение или метка на поверхности напольного покрытия, нанесенные острым или заостренным предметом.
3.6 термопластичный полимер (thermoplastic polymer): Полимеры, переходящие в жидкое состояние при нагревании до температуры выше Tg (температура стеклования)
или (температура плавления) и возвращающиеся в твердое состояние при охлаждении.
3.7 пластина (plank): Плитка с отношением длины к ширине более или равным 1,3.
3.8 слой износа (wear layer): Часть эластичного напольного покрытия, которая содержит или защищает узор или рисунок, за исключением временной заводской отделки (3.3) или защитного(ых) покрытия(й).
4 Общие требования
Напольные покрытия, входящие в область распространения настоящего стандарта, должны соответствовать общим требованиям, указанным в таблице 1, при их испытании методами, приведенными в ней.
Некоторые дополнительные свойства, требуемые в случаях особого практического применения, приведены в приложении В.
Таблица 1 - Общие требования
Характеристика | Требование | Метод испытания | |||||
для изделий без подкладки или с подкладкой не из пенного материала | для изделий с подкладкой из пенного материала | ||||||
Рулонная форма: | По ИСО 24341 | ||||||
- длина, м | Не менее номинального значения. | ||||||
- ширина, мм | Не менее номинального значения | ||||||
Плитки/пластины: | По ИСО 24342 | ||||||
- длина боковой стороны или стороны квадрата | Отклонение от номинального значения
| ||||||
- ширина | Отклонение <0,1%, но не более 0,5 мм | ||||||
- квадратность и прямолинейность | Отклонение, допускаемое в любой точке
| ||||||
|
| ||||||
>400 мм |
| ||||||
>400 мм (для сварки) |
| ||||||
Общая толщина: | По ИСО 24346 | ||||||
- средняя толщина | Номинальное значение
| +0,13 мм | Номинальное значение
| +0,18 мм | |||
-0,10 мм
| -0,15 мм | ||||||
- результат отдельного измерения | Среднее значение | Среднее значение | |||||
Толщина слоя износа: | Для неоднородных напольных покрытий, толщину слоя износа указывают в миллиметрах.
| По ИСО 24340 | |||||
- средняя толщина | Номинальное значение +13%
| ||||||
-10%
| |||||||
и не должно превышать ±0,1 мм.
| |||||||
- результат отдельного измерения | Результат отдельного измерения не должен более чем на 0,05 мм или на 15% быть ниже среднего значения, в зависимости от того, какая величина больше. Если этому требованию не удовлетворяет один результат измерения, то проводят еще одно измерение. Если опять получают неудовлетворительный результат, то неудовлетворительным считают результат всего испытания | ||||||
Общая масса на единицу площади | Номинальное значение +13% | По ИСО 23997 | |||||
поверхности (средняя), г/м | -10% | ||||||
Стабильность размеров после воздействия тепла: | По ИСО 23999 | ||||||
- листы и плитки, предназначенные для соединения сваркой или склеиванием | |изменение размера| | Используют две процедуры:
| |||||
- плитки/пластины, предназначенные для сухой укладки или укладки склеиванием | |изменение размера| | Процедуру устанавливает изготовитель. Результаты испытаний представляют обязательно с описанием процедуры
| |||||
- плитки/пластины, предназначенные для укладки без жесткого крепления или на воздушную подушку | |изменение размера| | ||||||
Загибание кромок при воздействии тепла, мм: | По ИСО 23999 | ||||||
- рулоны и плитки, предназначенные для соединения сваркой или склеиванием | |загиб| | Используют две процедуры:
| |||||
- плитки/пластины, предназначенные для сухой укладки или укладки склеиванием | |загиб| | Процедуру устанавливает изготовитель. Результаты испытаний представляют обязательно с описанием процедуры
| |||||
- плитки/пластины, предназначенные для укладки без жесткого крепления или на воздушную подушку | |загиб| | ||||||
Гибкость (только для листовых полов) | Испытывают с применением сердечника диаметром 20 мм. Если изделие проявляет признаки растрескивания, следующее испытание проводят с сердечником диаметром 50 мм. Если при этом признаки растрескивания отсутствуют, представляют результат испытаний с указанием, что применен сердечник диаметром 50 мм | По ИСО 24344:2008, метод А | |||||
Стойкость окраски по отношению к искусственному свету |
| По ИСО 105- В02, метод 3 | |||||
Прочность сцепления подкладки | Средняя:
| По ИСО 24345 | |||||
| |||||||
5 Требования в соответствии с классификацией
Следует использовать систему классификации, регламентированную в ИСО 10874. Требования к эластичным напольным покрытиям на основе термопластичных полимеров, соответствующие указанной системе классификации, приведены в таблице 2.
Таблица 2 - Классификационные требования в зависимости от интенсивности использования
Класс | Символ | Интенсив- зования | Общая толщина, мм | Остаточная деформация, мм | Прочность шва, если требуется сварка, Н/50 мм | Оценка появления царапин (N) | Имитация движения мебельной ножки | Пригодность для роликовых стульев | ||
Метод испытания | ИСО 24346 |
| ИСО16906 | Прило- жение А | ИСО 16581 | ИСО 4918 | ||||
Изделие без подкладки или с подкладкой не из пенома- териала | Изделие с подкладкой из пенома- териала | Изделие без подкладки или с подкладкой не из пенома- териала | Изделие с подкладкой из пенома- териала | |||||||
Бытовое использование: жилые помещения | ||||||||||
21 |
| Уме- ренная/ низкая |
|
|
|
| Требования не устанав- ливают | Требования не устанав- ливают | Требования не устанавливают | Требования не устанавливают |
22 |
| Обычная/ средняя |
| >2,5 |
|
| Видимые повреждения отсутствуют при испытании "foot 3" (70 кг) | |||
22+ |
| Обычная |
| >2,5 |
|
| ||||
23 |
| Высокая |
|
|
|
| ||||
Коммерческое использование: служебные и офисные помещения | ||||||||||
31 |
| Умерен- ная |
|
|
|
| При сварке в соответствии с инструкцией изготовителя: среднее значение | Требования не устанав- ливают | Видимые повреждения отсутствуют при испытании "foot 3" (70 кг) | Требования не устанавливают |
32 |
| Обычная |
|
|
|
|
| Видимые повреждения отсутствуют при испытании "foot 2" (100 кг). | После 25000 циклов не должно наблюдаться расслоения. Отсутствие повреждений поверхности, возможны только небольшие изменения внешнего вида
| |
33 |
| Высокая |
|
|
|
|
| При сварке в соответствии с инструкцией изготовителя: видимые повреждения отсутствуют при испытании "foot 0" (32 кг) сварного шва | ||
34 |
| Очень высокая |
|
|
|
|
| |||
Производственные помещения | ||||||||||
41 |
| Умерен- ная |
|
|
|
| При сварке в соответствии с инструкцией изготовителя: среднее значение
|
| Видимые повреждения отсутствуют при испытании "foot 2" (100 кг).
| После 25000 циклов не должно наблюдаться расслоения. Отсутствие повреждений поверхности, возможны только небольшие изменения внешнего вида |
42 |
| Обычная |
|
|
|
|
| |||
43 |
| Высокая |
|
|
|
|
| |||
Используют представительный образец испытуемого материала. Чтобы образцы были скомпонованы в соответствии с инструкциями изготовителя, зона испытания должна включать в себя хотя бы один стык короткой стороны на траектории движения роликов. Пример компоновки зоны испытания показан на рисунке 1. Размер l должен составлять не менее 300 мм. Для рулонных материалов зона испытания должна включать в себя хотя бы один боковой стык на траектории движения роликов. Для плиток/пластин зона испытаний должна включать в себя по крайней мере два стыка, пересекаемых траекторией роликов. В любом случае образец должен допускать монтаж согласно рисунку 2. Диаметр зоны испытания должен составлять не менее 750 мм. Примечания 1 Укладка на воздушную подушку: без какой-либо фиксации на основании пола. Укладка без жесткого скрепления (например, на чувствительное к давлению клеящее вещество): укладка с прочностью сцепления менее 50 Н/50 мм при действии под углом 90° нагрузки, вызывающей растяжение со скоростью 100 мм/мин, в соответствии с ЕН 1372. 2 В случае строгого соблюдения процедуры укладки, рекомендованной изготовителем, обеспечивает прочность сцепления более 50 Н/50 мм при действии под углом 90° нагрузки, вызывающей растяжение со скоростью 100 мм/мин, в соответствии с ЕН 1372. | ||||||||||
Таблица 2 (Поправка).
|
Рисунок 1 - Пример монтажа зоны испытания на пригодность для роликовых стульев (пластины)
|
1 - первый стык для рулонов и плиток; 2 - второй стык для плиток
Рисунок 2 - Пример монтажа зоны испытания на пригодность для роликовых стульев (рулоны, плитки и пластины)
6 Маркировка
Напольные покрытия, входящие в область применения настоящего стандарта, и/или единицы упаковки данной продукции должны иметь следующую маркировку:
a) обозначение настоящего стандарта, включая год издания, т.е. ГОСТ Р ИСО 19322:2022;
b) идентификация изготовителя или поставщика;
c) наименование продукции;
d) цвет/рисунок, номер партии и, если имеется, номер рулона/единицы упаковки;
e) класс/уровень использования/символы, относящиеся к данной продукции;
f) для рулонов: длина, ширина и толщина;
g) для плиток/пластин: размеры плитки/пластин и площадь материала, содержащегося в упаковке, в квадратных метрах.
Приложение А
(обязательное)
Метод испытания на стойкость к появлению царапин
А.1 Общие положения
Настоящий метод испытания устанавливает процедуру оценки вида царапин на поверхностях эластичных напольных покрытий в лабораторных условиях.
А.2 Сущность метода
Испытуемый образец, установленный на горизонтальной вращающейся подставке, подвергается царапанию стандартной стальной спицей. Спица может быть нагружена грузами разной массы. Нагрузка, при которой движение спицы вызывает сплошную царапину с определенными характеристиками, используют для классификации напольного покрытия.
А.3 Оборудование и материалы
А.3.1 Общие сведения
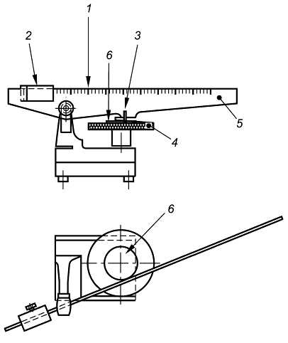
Примечание - Номера позиций в круглых скобках в А.3.2.2-А.3.2.7 относятся к рисунку А.1.
А.3.2 Установка для испытания
А.3.2.1 Установка, изображенная на рисунке А.1, состоящая из частей, указанных в А.3.2.2-А.3.2.7.
А.3.2.2 Станина с устройством для индикации горизонтальности положения, например со спиртовым уровнем.
А.3.2.3 Стол 4, вращающийся беспрепятственно, приводимый в движение мотором. Скорость вращения стола вокруг вертикальной оси на таком расстоянии от центра испытуемого образца, на котором при испытании будут получать следы, должна составлять (35±5) мм/с.
А.3.2.4 Прижимной диск 6, служащий для удержания испытуемого образца в его плоскости.
А.3.2.5 Рычаг 5 с держателем для стальной спицы 3, смонтированный на шариковой опоре, с горизонтальной осью.
Рычаг, на который нанесена шкала 1, имеет возможность регулировки положения, чтобы можно было всегда, независимо от толщины испытуемого образца, поддерживать рычаг в горизонтальном положении, когда стальная спица касается поверхности образца.
А.3.2.6 Подвижный груз 2, который можно передвигать вдоль рычага 5. Масса груза вместе с эффективной массой рычага создают нагрузку на стальную спицу, с которой она давит на поверхность испытуемого образца.
Силу, которая воздействует на стальную спицу, устанавливают с точностью до 0,01 Н и измеряют с помощью приспособления для крепления спицы.
|
1 - шкала с регулировкой положения; 2 - подвижный груз; 3 - стальная спица; 4 - вращающийся стол; 5 - рычаг; 6 - прижимной диск
Рисунок А.1 - Установка для испытания
А.3.2.7 Стальная спица 3 (см. также рисунок А.2), изготовленная из твердого сплава, содержащего карбид вольфрама-кобальт (WC-Co), обработанного способом горячего изостатического прессования (hot isostatic pressed, HIP).
Стальная спица должна иметь диаметр (3,00±0,02) мм. Конический кончик спицы должен иметь диаметр (0,50±0,04) мм и угол, противоположный основанию конуса, равный 45°±1°, как показано на рисунке А.2.
|
1 - спица диаметром (3,00±0,02) мм; 2 - кончик спицы диаметром (0,50±0,04) мм; 3 - угол конуса 45°±1°
Рисунок А.2 - Стальная спица
А.3.3 Грунт В02
по ИСО 11378-1, следующего состава:
________________
Грунт В02 - это коммерчески доступный продукт. Данная информация приведена для удобства пользователей настоящего стандарта и не означает поддержки указанного продукта со стороны Международной организации по стандартизации.
- 37,80% торфяного порошка;
- 17,45% портландцемента;
- 17,70% каолина;
- 17,70% кварцевого порошка;
- 6,20% светлого нефтяного масла
014;
________________
Светлое нефтяное масло - это коммерчески доступный продукт. Данная информация приведена для удобства пользователей настоящего стандарта и не означает поддержки указанного продукта со стороны Международной организации по стандартизации.
- 1,05% порошка WFK 09 X
;
________________
Порошок WFK 09 X - это коммерчески доступный продукт. Данная информация приведена для удобства пользователей настоящего стандарта и не означает поддержки указанного продукта со стороны Международной организации по стандартизации.
- 0,60% оксида железа (черного);
- 1,50% оксида железа (желтого).
А.4 Отбор образцов и кондиционирование
Из пробы вырезают три образца для испытаний круглой формы диаметром приблизительно 105 мм, в зависимости от используемой установки для испытания.
Кондиционируют образцы в течение не менее 24 ч в стандартной атмосфере при температуре (23±2)°С и относительной влажности (50±10)% в соответствии с ИСО 291.
А.5 Проведение испытания
Испытания проводят в стандартной атмосфере в соответствии с ИСО 291.
Испытуемый образец помещают на вращающийся стол.
Испытания начинают с нагрузки, равной 2 Н. Устанавливают рычаг 5 в вертикальное положение. Фиксируют испытуемый образец с помощью прижимного диска 6 и проверяют правильность фиксации по отсутствию проскальзывания при вращении. Осторожно опускают рычаг до наступления контакта спицы с испытуемым образцом, не допуская при этом повреждения спицы. Регулируют высоту рычага 5 так, чтобы он занимал горизонтальное положение, а конец стальной спицы оставался в контакте с испытуемым образцом.
Начинают вращение стола. Если царапина не появляется, увеличивают нагрузку при каждом следующем испытании на 5 Н. Чтобы увеличить массу груза, поднимают рычаг. Для каждого следующего испытания регулируют устройство с помощью винта таким образом, чтобы получить новый след.
Испытания продолжают до тех пор, пока не получат на поверхности образца сплошное необратимое повреждение. После этого продолжают испытания, снижая каждый раз нагрузку на 0,5 Н, чтобы определить наименьшую нагрузку, вызывающую повреждение.
Расстояние между отдельными следами на поверхности образца должно составлять не менее 2 мм. При этом следует контролировать удаленность следов от центра испытуемого образца, чтобы сохранять скорость вращения (35±5) мм/с. При необходимости получения большего количества следов испытуемый образец может быть заменен новым образцом.
А.6 Оценка результатов испытания
Как только на поверхности испытуемого образца начнут появляться следы, натирают поверхность грунтом (А.3.3), используя для этого хлопчатобумажную ткань. Затем помещают образец в камеру для наблюдения в соответствии с ИСО 9405. Расстояние между глазом и образцом должно составлять приблизительно 80 см.
Записывают значение нагрузки, при которой на поверхности образца появился первый сплошной след.
А.7 Протокол испытаний
Протокол испытаний должен содержать следующую информацию:
a) ссылку на настоящий стандарт, т.е. ГОСТ Р ИСО 19322;
b) полную идентификацию испытуемой продукции, включая указание типа, поставщика, цвета и ссылочного номера от производителя;
c) метод отбора пробы;
d) способ подготовки образцов;
e) для каждого испытуемого образца массу груза, при которой на поверхности образца появился первый видимый сплошной кольцевой след;
f) любые отклонения от методики испытания, которые могли повлиять на результаты.
А.8 Калибровка стальных спиц
А.8.1 Общие положения
Стальная спица должна удовлетворять требованиям рисунка А.2. Спица не должна быть ранее подвергнута реставрации, т.е. используют только новые спицы. Характеристики каждой новой стальной спицы проверяют в соответствии с А.8.3 перед первым использованием и после ее применения для испытания каждых 20 образцов.
Спицу заменяют, когда она перестает удовлетворять требованиям.
А.8.2 Процедура
Делают фотографию конуса стальной спицы через микроскоп (с увеличением в четыре раза). При этом рекомендуется использовать белый фон.
На полученное изображение кончика стальной спицы накладывают изображение стандартного шаблона при таком же увеличении, что и фотография, и измеряют отклонение радиуса закругления вершины конуса.
Кроме этого измеряют угол при вершине конуса, который должен быть таким же, как у новой спицы.
А.8.3 Оценка результатов
Радиус закругления кончика должен составлять (0,25±0,02) мм. Угол при вершине конуса должен составлять 45°±1°, как показано на рисунке А.2. Если отклонения превышают допустимые значения, спицу заменяют.
Приложение В
(справочное)
Дополнительные свойства
Если в связи со спецификой практического применения необходима оценка перечисленных ниже свойств, то напольные покрытия испытывают соответствующими подходящими методами или методами, приведенными в стандартах, указанных ниже:
- электрическое сопротивление: ACTM F150, ЕН 1081, ANSI/ES D S7.1, ANSI/ES D STM97.1, JIS A 1454;
- электростатические свойства: ЕН 1815, ANSI/ES D STM97.2;
- окрашиваемость: ACTM F925, ИСО 26987, JIS A 5705;
- обусловленная договором глубина рисунка: ЕН 663;
- пожароопасность, определение поведения при пожаре с использованием источника теплового излучения: ИСО 9239-1, ACTM E648, JIS A 1321;
- пожароопасность, воспламеняемость при непосредственном контакте с пламенем: ИСО 11925-2;
- пожароопасность, оптическая плотность образующегося дыма: ACTM E662;
- стойкость к нагреванию: ACTM F1514.
Приложение ДА
(справочное)
Сведения о соответствии ссылочных стандартов национальным и межгосударственным стандартам
Таблица ДА.1
Обозначение ссылочного стандарта | Степень соответствия | Обозначение и наименование соответствующего национального, межгосударственного стандарта |
ISO 105-B02 | IDT | ГОСТ Р ИСО 105-В02-2015 "Материалы текстильные. Определение устойчивости окраски. Часть В02. Устойчивость окраски к искусственному свету. Метод испытания на выцветание с применением ксеноновой дуговой лампы" |
ISO 291 | MOD | ГОСТ 12423-2013 (ISO 291:2008) "Пластмассы. Условия кондиционирования и испытания образцов (проб)" |
ISO 4918 | - | * |
ISO 9405 | - | * |
ISO 10874 | MOD | ГОСТ Р 58898-2020 (ИСО 10874:2009) "Покрытия напольные эластичные, текстильные и ламинированные. Классификация" |
ISO 16581 | - | * |
ISO 16906 | - | * |
ISO 23997 | - | * |
ISO 23999 | - | * |
ISO 24340 | - | * |
ISO 24341 | - | * |
ISO 24342 | - | * |
ISO 24343-1 | - | * |
ISO 24343-2 | - | * |
ISO 24344 | - | * |
ISO 24345 | - | * |
ISO 24346 | - | * |
EN 1372 | NEQ | ГОСТ Р 58211-2018 "Клеи для напольных покрытий. Общие технические условия" |
ASTM F1515 | - | * |
* Соответствующий национальный стандарт отсутствует До его принятия рекомендуется использовать перевод на русский язык данного стандарта. Примечание - В настоящей таблице использованы следующие условные обозначения степени соответствия стандартов: - IDT - идентичные стандарты; - MOD - модифицированные стандарты; - NEQ - неэквивалентные стандарты. | ||
Библиография
[1] | ISO 9239-1 | Reaction to fire tests for floorings - Part 1: Determination of the burning behaviour using a radiant heat source (Испытания напольных покрытий на пожароопасность. Часть 1. Определение поведения при пожаре с использованием источника теплового излучения) |
[2] | ISO 10575 | Resilient floor coverings - Specification for rubber sheet floor coverings with backing (Эластичные напольные покрытия. Технические характеристики резиновых напольных покрытий на подкладке) |
[3] | ISO 10577 | Resilient floor coverings - Specification for rubber sheet floor coverings without backing (Эластичные напольные покрытия. Технические характеристики резиновых напольных покрытий без подкладки) |
[4] | ISO 10581 | Resilient floor coverings - Homogeneous poly(vinyl chloride) floor covering - Specifications (Эластичные напольные покрытия. Однородные поли(винилхлоридные) напольные покрытия. Технические условия) |
[5] | ISO 10582 | Resilient floor coverings - Heterogeneous poly(vinyl chloride) floor covering - Specifications [Эластичные напольные покрытия. Неоднородные поли(винилхлоридные) напольные покрытия. Технические условия] |
[6] | ISO 10595 | Resilient floor coverings - Semi-flexible/vinylcomposition (VCT) poly(vinyl chloride) floor tiles - Specifications [Эластичные напольные покрытия. Полугибкие/винилсодержащие (VCT) поли(винилхлоридные) напольные плитки. Технические условия] |
[7] | ISO 11378-1 | Textile floor coverings - Laboratory soiling tests - Part 1: Kappasoil test (Текстильные напольные покрытия. Лабораторные испытания на загрязнение. Часть 1. Испытание перманганатом) |
[8] | ISO 11638 | Resilient floor coverings - Heterogeneous poly(vinyl chloride) floor covering on foam - Specifications [Эластичные напольные покрытия. Неоднородные поли(винилхлоридные) покрытия на пенопласте. Технические условия] |
[9] | ISO 11925-2 | Reaction to fire tests - Ignitability of products subjected to direct impingement of flame - Part 2: Single-flame source test (Испытания на пожароопасность. Воспламеняемость материалов, подвергаемых прямому контакту с пламенем. Часть 2. Испытание с одиночным источником пламени) |
[10] | ISO 24011 | Resilient floor coverings - Specification for plain and decorative linoleum (Эластичные напольные покрытия. Технические характеристики простого и декоративного линолеума) |
[11] | ISO 26986 | Resilient floor coverings - Expanded (cushioned) poly(vinyl chloride) floor covering - Specification [Эластичные напольные покрытия. Вспененные (мягкие) поли(винилхлоридные) напольные покрытия. Технические условия] |
[12] | ISO 26987 | Resilient floor coverings - Determination of staining and resistance to chemicals (Эластичные напольные покрытия. Определение окрашиваемости и стойкости к химическим реагентам) |
[13] | ANSI/ES D S7.1 | Resistive characterization of materials - Floor materials (Резистивная характеристика материалов. Материалы для пола) |
[14] | ANSI/ES D STM97.1 | ESD Association Standard Test Method for the Protection of Electrostatic Discharge Susceptible Items - Floor materials and footwear - Resistance measurement in combination with a person (Ассоциация ESD. Стандартный метод определения степени защиты объектов, чувствительных к электростатическому разряду. Материалы для пола и обувь. Измерение взаимной устойчивости с участием человека) |
[15] | ANSI/ES D STM97.2 | Footwear/Flooring System - Voltage Measurement in Combination with a Person (Система обувь/материал для пола. Измерение электрического напряжения с участием человека) |
[16] | ASTM E648 | Standard Test Method for Critical Radiant Flux of Floor-Covering Systems Using a Radiant Heat Energy Source (Метод определения критического потока излучения напольных покрытий с использованием источника тепловой энергии) |
[17] | ASTM E662 | Standard Test Method for Specific Optical Density of Smoke Generated by Solid Materials (Метод определения удельной оптической плотности дыма, образующегося при горении твердых материалов) |
[18] | ASTM F150 | Standard Test Method for Electrical Resistance of Conductive and Static Dissipative Resilient Flooring (Метод определения электрического сопротивления токопроводящих и токорассеивающих эластичных напольных покрытий) |
[19] | ASTM F925 | Standard Test Method for Resistance to Chemicals of Resilient Flooring (Метод определения стойкости эластичных напольных покрытий к химическим реагентам) |
[20] | ASTM F1514 | Standard Test Method for Measuring Heat Stability of Resilient Flooring by Color Change (Стандартный метод испытания для измерения устойчивости эластичных напольных покрытий к тепловому воздействию по изменению цвета) |
[21] | EN 663 | Resilient floor coverings - Determination of conventional pattern depths (Эластичные напольные покрытия. Определение глубины рисунка) |
[22] | EN 1081 | Resilient floor coverings - Determination of the electrical resistance (Эластичные напольные покрытия. Определение электрического сопротивления) |
[23] | EN 1815 | Resilient and laminate floor coverings - Assessment of static electrical propensity (Эластичные и ламинатные напольные покрытия. Оценка электростатических свойств) |
[24] | EN 16094 | Laminate floor coverings - Test method for the determination of micro-scratch resistance (Ламинатные напольные покрытия. Метод определения устойчивости к образованию микротрещин) |
[25] | JIS A1321 | Testing method for incombustibility of internal finish material and procedure of buildings (Метод испытания на негорючесть материала для внутренней отделки и процедура соединения) |
[26] | JIS A1454 | Test methods - Resilient floor coverings (Методы испытания. Эластичные напольные покрытия) |
[27] | JIS A5705 | Polyvinyl chloride floor coverings (Поливинилхлоридные напольные покрытия) |
УДК 692.535:006.354 | ОКС 97.150 | ||
Ключевые слова: эластичные напольные покрытия, однородные напольные покрытия, неоднородные напольные покрытия, слой износа, общие технические требования, классификация напольных покрытий на основе интенсивности использования, стойкость к появлению царапин, метод испытания | |||
(Поправка).
Редакция документа с учетом
изменений и дополнений подготовлена














