ГОСТ Р 70812-2023
(ИСО 10582:2017)
НАЦИОНАЛЬНЫЙ СТАНДАРТ РОССИЙСКОЙ ФЕДЕРАЦИИ
ПОКРЫТИЯ НАПОЛЬНЫЕ ЭЛАСТИЧНЫЕ. ГЕТЕРОГЕННЫЕ ПОЛИВИНИЛХЛОРИДНЫЕ
Технические условия
Elastic floor coverings. Heterogeneous polyvinyl chloride floor coverings. Specifications
ОКС 91.060.30; 97.150
Дата введения 2023-12-01
Предисловие
1 ПОДГОТОВЛЕН Обществом с ограниченной ответственностью "ПСМ-Стандарт" (ООО "ПСМ-Стандарт") на основе собственного перевода на русский язык англоязычной версии стандарта, указанного в пункте 4
2 ВНЕСЕН Техническим комитетом по стандартизации ТК 144 "Строительные материалы и изделия"
3 УТВЕРЖДЕН И ВВЕДЕН В ДЕЙСТВИЕ Приказом Федерального агентства по техническому регулированию и метрологии от 10 июля 2023 г. N 497-ст
4 Настоящий стандарт является модифицированным по отношению к международному стандарту ИСО 10582:2017* "Покрытия напольные упругие. Гетерогенные поливинилхлоридные напольные покрытия. Технические условия" (ISO 10582:2017, Resilient floor coverings - Heterogeneous poly (vinyl chloride) floor covering - Specifications, MOD) путем внесения технических отклонений, объяснение которых приведено во введении к настоящему стандарту.
________________
* Доступ к международным и зарубежным документам, упомянутым в тексте, можно получить, обратившись в Службу поддержки пользователей. - .
Наименование настоящего стандарта изменено относительно наименования указанного международного стандарта для приведения в соответствие с ГОСТ Р 1.5-2012 (пункт 3.5).
Сведения о соответствии ссылочных национальных стандартов международным стандартам, использованным в качестве ссылочных в примененном международном стандарте, приведены в дополнительном приложении ДА
5 ВВЕДЕН ВПЕРВЫЕ
6 Некоторые положения стандарта могут являться объектами патентных прав
Правила применения настоящего стандарта установлены в статье 26 Федерального закона от 29 июня 2015 г. N 162-ФЗ "О стандартизации в Российской Федерации"***. Информация об изменениях к настоящему стандарту публикуется в ежегодном (по состоянию на 1 января текущего года) информационном указателе "Национальные стандарты", а официальный текст изменений и поправок - в ежемесячном информационном указателе "Национальные стандарты". В случае пересмотра (замены) или отмены настоящего стандарта соответствующее уведомление будет опубликовано в ближайшем выпуске ежемесячного информационного указателя "Национальные стандарты". Соответствующая информация, уведомление и тексты размещаются также в информационной системе общего пользования - на официальном сайте Федерального агентства по техническому регулированию и метрологии в сети Интернет (www.rst.gov.ru)
ВНЕСЕНА поправка, опубликованная в ИУС № 7, 2024 год, введенная в действие с 26.04.2024
Поправка внесена изготовителем базы данных
Введение
В настоящий стандарт внесены следующие изменения по отношению к ИСО 10582:2017:
- изменены отдельные фразы (слова, значения показателей, ссылок);
- в разделе 3 термины "гетерогенное напольное покрытие" и "поливинилхлоридное напольное покрытие" заменены на термин "гетерогенное поливинилхлоридное напольное покрытие" в соответствии с требованиями ГОСТ 1.5;
- заменено наименование раздела 4 в целях соблюдения правил, установленных ГОСТ 1.5;
- исключены отдельные положения в связи с нецелесообразностью их применения.
Все дополнения и изменения в тексте стандарта выделены курсивом*.
________________
* В оригинале обозначения и номера стандартов и нормативных документов в разделах "Предисловие", "Введение", приложении ДА и отмеченные знаком "**" в разделе 2 "Нормативные ссылки" приводятся обычным шрифтом; отмеченные в разделе "Предисловие" знаком "***" и остальные по тексту документа выделены курсивом. - .
1 Область применения
Настоящий стандарт распространяется на гетерогенные (неоднородные) напольные покрытия из поливинилхлорида без подложек, поставляемые в виде плитки, планки или рулона.
Настоящий стандарт устанавливает характеристики данных напольных покрытий, их классификацию, основанную на интенсивности использования и области применения напольных покрытий, а также требования к маркировке.
2 Нормативные ссылки
В настоящем стандарте использованы нормативные ссылки на следующие стандарты:
ГОСТ 11529 Материалы поливинилхлоридные для полов. Методы контроля
ГОСТ 11583 Материалы полимерные строительные отделочные. Методы определения цветоустойчивости под воздействием света, равномерности окраски и светлоты
ГОСТ 30244 Материалы строительные. Методы испытаний на горючесть
ГОСТ 30402 Материалы строительные. Метод испытания на воспламеняемость
ГОСТ IEC 61340-4-1 Электростатика. Методы испытаний для прикладных задач. Электрическое сопротивление напольных покрытий и установленных полов
ГОСТ Р 51032-97 Материалы строительные. Метод испытания на распространение пламени
ГОСТ Р 58898** (ИСО 10874:2009) Покрытия напольные эластичные, текстильные и ламинированные. Классификация
ГОСТ Р ИСО 105-В02** Материалы текстильные. Определение устойчивости окраски. Часть В02. Устойчивость окраски к искусственному свету. Метод испытания на выцветание с применением ксеноновой дуговой лампы
Примечание - При пользовании настоящим стандартом целесообразно проверить действие ссылочных стандартов в информационной системе общего пользования - на официальном сайте Федерального агентства по техническому регулированию и метрологии в сети Интернет или по ежегодному информационному указателю "Национальные стандарты", который опубликован по состоянию на 1 января текущего года, и по выпускам ежемесячного информационного указателя "Национальные стандарты" за текущий год. Если заменен ссылочный стандарт, на который дана недатированная ссылка, то рекомендуется использовать действующую версию этого стандарта с учетом всех внесенных в данную версию изменений. Если заменен ссылочный стандарт, на который дана датированная ссылка, то рекомендуется использовать версию этого стандарта с указанным выше годом утверждения (принятия). Если после утверждения настоящего стандарта в ссылочный стандарт, на который дана датированная ссылка, внесено изменение, затрагивающее положение, на которое дана ссылка, то это положение рекомендуется применять без учета данного изменения. Если ссылочный стандарт отменен без замены, то положение, в котором дана ссылка на него, рекомендуется применять в части, не затрагивающей эту ссылку.
3 Термины и определения
В настоящем стандарте применены термины по ГОСТ Р 58898, а также следующие термины с соответствующими определениями:
3.1 гетерогенное поливинилхлоридное напольное покрытие: Покрытие для пола, состоящее из слоя износа и других слоев, изготовленных из поливинилхлорида в качестве базовой смолы и отличающихся по составу и/или типу, которые могут содержать армирующее покрытие.
3.2 заводская отделка: Прозрачное напольное покрытие без использования поливинилхлорида в качестве базовой смолы, наносимое в заводских условиях на подложку толщиной не более 0,03 мм.
3.3 слой износа: Часть напольного покрытия, которая содержит или защищает рисунок и дизайн, за исключением заводской отделки или ремонтных покрытий.
3.4 содержание связующего: Часть состава напольного покрытия, состоящая из поливинилхлорида в качестве базовой смолы, пластификаторов и стабилизаторов.
Примечание - Содержание связующего выражается в процентах по массе слоя износа.
3.5 планка: Плитка с отношением длины к ширине более или равным 1,3.
4 Технические требования
4.1 Требования к идентификации
Гетерогенные поливинилхлоридные напольные покрытия идентифицируют по содержанию связующего в процентах по массе в слое износа в соответствии с таблицей 1.
Таблица 1 -Требования к идентификации
Тип изделия | Минимальное содержание связующего в слое износа, % |
I | 80 |
II | 30 |
4.2 Основные требования
Напольные покрытия должны соответствовать требованиям, представленным в таблице 2.
Примечание - Дополнительные характеристики напольных покрытий см. в приложении А.
Таблица 2 - Основные требования
Наименование показателя | Значение показателя | Метод испытаний |
Рулонная форма: | Не менее номинальных значений | По ГОСТ 11529, см. также [1] |
- длина, м | ||
- ширина, м | ||
Плитки/планки: | ||
- длина, мм | Отклонение
| |
- ширина, мм | Отклонение
| |
- прямоугольность и прямолинейность, мм: | Отклонение допускается в любой точке
| См. [2] |
|
| |
>400 |
| |
> 400 (для горячей сварки) |
| |
Общая толщина и толщина слоя износа: | ||
- среднее значение общей толщины, мм | Номинальное значение от +0,13 до -0,10 | По ГОСТ 11529, см. также [3] |
- индивидуальные результаты измерения общей толщины, мм | Среднее значение ±0,15 | По ГОСТ 11529, см. также [3] |
- средняя толщина слоя износа, % | Номинальное значение от +13 до -10 и не более ±0,1 мм | По ГОСТ 11529, см. также [4] |
Значения отдельных измерений толщины слоя износа, мм | Значения отдельных измерений не должны отличаться в зависимости от среднего значения следующим образом: не более 0,05 мм или 15% ниже среднего значения, в зависимости от того, что больше. Если этому требованию не соответствует только одно значение отдельного измерения, необходимо произвести новый замер. Если он по-прежнему не соответствует требованию, то результат измерения не проходит | По ГОСТ 11529, см. также [4] |
Общая масса на единицу площади (средняя) (г/м | Номинальное значение от +13 до -10 | По ГОСТ 11529, см. также [5] |
Стабильность размеров после воздействия тепла, %: | ||
- лист и плитка, предназначенные для сварки и склеивания |
| По ГОСТ 11529 см. также [6] |
- плитка/планка, предназначенные для укладки "насухо" и на клей |
| |
- плитка/планка, предназначенные для свободной ("плавающей") укладки |
| |
Скручивание после воздействия тепла, мм: | ||
- лист и плитка, предназначенные для соединения термосвариванием и склеивания |
| По ГОСТ 11529, см. также [6] |
- плитка/планка, предназначенные для укладки "насухо" и на клей |
| |
- плитка/планка, предназначенные для свободной ("плавающей") укладки |
| |
Гибкость (только для листового настила) | Испытание с использованием стержня диаметром 20 мм. Для изделий с признаками растрескивания проводят дополнительное испытание с использованием стержня диаметром 50 мм. Если результаты не показывают дальнейшего растрескивания, записывают использование стержня диаметром 50 мм | По ГОСТ 11529, см. также [7] |
Остаточное вдавливание (среднее), мм |
| По ГОСТ 11529, см. также [8] |
Эффект от кресла на роликах (только для класса | После 25000 циклов не допускается расслаивание. Поверхность не должна быть нарушена, кроме небольшого изменения внешнего вида. Регистрируют любые повреждения, вызванные отслоением слоев, раскрытием швов или растрескиванием. Игнорируют любое выравнивание или изменение внешнего вида, например изменение блеска.
| См. [9] |
Устойчивость окраски по отношению к искусственному освещению |
| По ГОСТ Р ИСО 105-В02, см. также [9] (Метод 3g)
|
или | По ГОСТ 11583, см. также [10] | |
Плоскостность плитки/планки с замковой системой по краям и самонесущая: | ||
Длина: | Приложение B | |
Вогнутая/выпуклая [% от длины] |
| |
Ширина | ||
Вогнутая/выпуклая [% от ширины] |
| |
Зазоры между соседними плитками/планками в замке, мм: | ||
- среднее значение |
| Приложение C |
- значение отдельного измерения |
| |
Разность высот между плитками/планками с системой замков по краям, мм: | ||
- среднее |
| Приложение C |
- значение отдельного измерения |
|
|
Рисунок 1 - Пример собранного участка для испытания кресла на роликах (планки)
|
1 - первый шов для рулонов и плитки; 2 - второй шов для плитки
Рисунок 2 - Пример собранного участка для испытания кресла на роликах (рулоны и плитки)
5 Классификация
Схема классификации эластичных напольных покрытий, а также требования к применению гетерогенного поливинилхлоридного напольного покрытия приведены в таблице 3. За основу взята классификация по ГОСТ Р 58898.
Таблица 3 - Классификация минимальных требований по интенсивности использования
Класс | Символ | Интенсивность использования | Толщина слоя износа, номинальное значение, мм | Номинальная общая толщина, мм | Прочность шва | Прочность замкового соединения (когда | |
Тип I | Тип II | Все типы | применимо), кН/м | ||||
1 Бытовое использование: жилые помещения | |||||||
21 |
| Умеренная низкая | 0,15 | 0,40 | 1,0 | Требования не устанавливают | Требования не устанавливают |
22 |
| Обычная/ средняя | 0,20 | 0,50 | 1,5 | ||
22+ |
| Обычная | 0,20 | 0,50 | 1,5 | Требования не устанавливают | Требования не устанавливают |
23 |
| Высокая | 0,30 | 0,65 | 1,5 | ||
2 Коммерческое использование: служебные и офисные помещения | |||||||
31 |
| Умеренная | 0,30 | 0,65 | 2,0 | При сварке в соответствии с инструкциями | 1,5 |
32 |
| Обычная | 0,40 | 0,80 | 2,0 | производителя: среднее значение
| 1,5 |
33 |
| Высокая | 0,55 | 1,00 | 2,0 |
| 1,5 |
34 |
| Очень высокая | 0,70 | 1,50 | 2,0 |
| 2,0 |
3 Производственные помещения | |||||||
41 |
| Умеренная | 0,40 | 0,80 | 2,0 | При сварке в соответствии с инструкциями производителя | Не применяют |
42 |
| Обычная | 0,55 | 1,0 | 2,0 | Среднее значение | Не применяют |
43 |
| Высокая | 0,70 | 1,50 | 2,0 | Индивидуальные значения | Не применяют |
Метод испытаний | См. [3] | См. [3] | См. [3] | См. [11] | Приложение D | ||
| |||||||
(Поправка. ИУС № 7-2024).
6 Маркировка, этикетирование и упаковка
Напольные покрытия, на которые распространяется настоящий стандарт, и/или их упаковка должны иметь следующую маркировку:
a) номер и дату настоящего стандарта;
b) наименование изготовителя или поставщика;
c) наименование товара;
d) цвет, узор, номер партии и номер рулона (для рулонов);
e) тип изделия согласно таблице 1, класс/символ, соответствующий изделию;
f) для рулонов: длину, ширину и толщину;
g) для плиток/планок: размеры и площадь в квадратных метрах, содержащихся в упаковке.
Приложение A
(справочное)
Дополнительные характеристики напольных покрытий
Таблица A.1 - Дополнительные характеристики напольных покрытий
Наименование показателя | Метод испытания |
Электрическое сопротивление | По ГОСТ IEC 61340-4-1 |
Воздействие разводов (пятен) | См. [10] и [11] |
Группа горючести | По ГОСТ 30244 |
Группа воспламеняемости | По ГОСТ 30402 |
Группа распространения огня | По ГОСТ Р 51032 |
Удельная оптическая плотность образующего дыма | См. [12] |
Термостойкость | См. [13] |
Приложение B
(обязательное)
Определение плоскостности
B.1 Отбор образцов
Из имеющегося материала в качестве образцов выбирают пять напольных плиток/планок.
B.2 Кондиционирование
Образцы измеряют в полученном состоянии. В целях определения типа или проверки образцы выдерживают при температуре (23±2)°C и относительной влажности (50±5)% в течение 24 ч.
B.3 Средства измерений
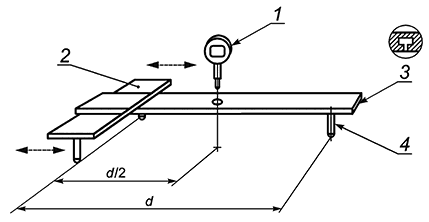
B.3.1 Устройство для измерения плоскостности по ширине (см. рисунок B.1), состоящее из индикатора часового типа 1, с точностью до ±0,01 мм, с закругленным концом радиусом 5,5 мм, установленного по центру относительно трех закругленных регулируемых опор 4 с радиусами не менее 5 мм. Опоры 4 должны регулироваться по Т-образному пазу 3, чтобы обеспечить требуемую расчетную длину d. Расчетная длина d - не менее ширины (w - 10) мм (см. рисунок В.2) испытуемого образца. Наконечник индикатора часового типа 1, соприкасающийся с поверхностью испытуемого образца, должен оказывать усилие (1,0±0,5) Н. Масса устройства не должна влиять на плоскостность испытуемого образца за пределами точности датчика. Устройство необходимо установить в нулевое положение относительно подходящей эталонной пластины.
B.3.2 Ровная жесткая поверхность, длина которой не меньше длины образца, с максимальным отклонением от прямолинейности 0,05 мм на 1000 мм.
B.3.3 Толщиномер, штангенциркуль или эквивалентный инструмент для измерения отклонения между пластиной и панелью пола с точностью измерения до 0,05 мм.
B.3.4 Стальная линейка длиной не менее длины испытуемого образца, имеющая максимальное отклонение от прямолинейности 0,05 мм на 1000 мм.
|
1 - индикатор часового типа; 2 - регулируемый мост; 3 - Т-образный паз; 4 - регулируемая опора; d - расчетная длина образца для испытаний
Рисунок B.1 - Пример устройства для измерения плоскостности по ширине
B.4 Порядок проведения испытаний
B.4.1 Определение плоскостности по ширине ![]()
Необходимо отрегулировать опоры вдоль Т-образного паза стержней в соответствии с шириной измеряемого образца (см. рисунок B.2) и определить максимальное отклонение
для каждого элемента.
Расчетная длина d должна быть не менее ширины образца (w - 10) мм.
|
d - расчетная длина образца для испытаний; l - длина образца для испытаний; w - ширина образца для испытаний;
- плоскостность по ширине
Рисунок B.2 - Определение плоскостности по ширине
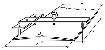
B.4.2 Определение плоскостности по длине ![]()
Прикладывают образец к стальной линейке, как показано на рисунке B.3. Используя толщиномер или штангенциркуль, определяют максимальное отклонение
от линейки для каждого образца. Измеренное значение определяют как вогнутое, когда поверхностный слой обращен в сторону по направлению к линейке, и как выпуклое - когда поверхностный слой обращен в противоположную от линейки сторону.
|
1 - образец для испытаний; 2 - стальная линейка;
- плоскостность по длине
Рисунок B.3 - Определение плоскостности по длине
B.5 Расчет и выражение результатов
B.5.1 Основные положения
Необходимо отметить, были ли выдержаны образцы при заданных условиях для проведения кондиционирования перед испытанием.
B.5.2 Плоскостность по ширине
Регистрируют все измеренные значения
, отбирают самые большие значения выпуклости и вогнутости и делят каждое на расчетную длину d (см. В.4.1). Результаты представляют с точностью до 0,01%.
B.5.3 Плоскостность по длине
Регистрируют все измеренные значения
, отбирают наибольшие значения выпуклости и вогнутости и делят каждое на номинальное значение длины образца. Результат представляют с точностью до 0,01%.
Приложение C
(обязательное)
Определение зазоров и перепадов высот между панелями пола
C.1 Основные положения
Настоящее приложение определяет порядок выявления зазоров и перепадов высот между панелями пола. Допускается использовать любой другой метод, дающий эквивалентный результат.
C.2 Отбор образцов
Из имеющегося материала в качестве образцов следует отобрать восемь плиток/планок.
C.3 Кондиционирование
Образцы измеряют в полученном состоянии. В целях утверждения типа или проверки образцы выдерживают при температуре (23±2)°C и относительной влажности (50±5)% в течение 24 ч.
C.4 Средства измерений и приспособление
C.4.1 Набор толщиномеров с диапазоном измерения от 0,05 до 0,50 мм с ценой деления 0,05 мм.
C.4.2 Штангенциркуль или глубиномер с ценой деления 0,05 мм.
C.4.3 Испытательная поверхность соответствующего размера, жесткая, горизонтальная и плоская.
C.5 Порядок проведения испытаний
C.5.1 Сборка
Вручную собирают испытуемые образцы на испытательной поверхности без применения клея, как показано на рисунке C.1, используя линейку в качестве направляющей. Символом
отмечают точки измерений (всего 13).
|
1 - стальная линейка; 2 - точка измерения (
); 3 - образец
Рисунок C.1 - Образец в сборе с указанными точками измерений
C.5.2 Определение зазоров между панелями
С помощью толщиномеров измеряют любые зазоры между панелями в 13 указанных точках, не прилагая усилий к панелям.
C.5.3 Определение перепада высот
С помощью штангенциркуля или глубиномера измеряют перепад высот в 13 указанных точках, не прилагая усилий к панелям. Помещают основание прибора на одну сторону соединения и измеряют максимальную разницу высот на другой стороне соединения. Не следует проводить измерения дальше 5 мм от края соединения.
C.6 Расчет и представление результатов
Рассчитывают среднее значение для 13 измерений любых зазоров между панелями и среднее значение для 13 измерений любых перепадов высот.
Регистрируют максимальные значения отдельных измерений (см. таблицу 2) и среднее значение при определении зазоров и перепадов высот между панелями пола. Представляют результаты измерений в миллиметрах с точностью до 0,05 мм.
Приложение D
(обязательное)
Определение прочности замкового соединения с помощью разрывной машины
D.1 Отбор проб и кондиционирование
Необходимо отобрать пять плиток/планок для приготовления пяти образцов, каждый из которых имеет короткую и длинную стороны.
Изделия, из которых необходимо вырезать образцы, выдерживают при температуре (23±2)°C и относительной влажности (50±5)% в течение 24 ч.
D.2 Подготовка образца
D.2.1 Планки
D.2.1.1 Короткая сторона
Вырезают два образца: A1 и B1 - из середины кромки короткой стороны планки напротив друг друга с замком шириной (100±1) мм и минимальной длиной 100 мм, как показано на рисунке D.1. Соединяют замок образцов A1 и B1 в соответствии с инструкциями производителя по установке.
Если планки имеют ширину менее 100 мм, то для отбора проб следует использовать всю ширину.
|
l - длина замка; w - ширина замка
Рисунок D.1 - Образец в сборе с точками измерения
D.2.1.2 Длинная сторона
Вырезают образцы A2 и B2 из середины кромки длинной стороны планок напротив друг друга с шириной замков (100±1) мм и минимальной длиной 100 мм. Если ширина планок менее 200 мм, вырезают образец от центральной линии, как показано на рисунке D.2. Соединяют образцы A2 и B2 замком в соответствии с инструкциями по монтажу производителя.
|
l - длина замка; w - ширина замка
Рисунок D.2 - Образец в сборе с точками измерения
D.2.2 Квадраты
Вырезают два образца в обоих направлениях от середины кромки напротив друг друга (A1-B1 и A2-B2) минимальной длиной 100 мм и шириной (100±1) мм. Соединяют замок образцов A1 и B1 и замок образцов A2 и B2 в соответствии с инструкциями производителя по установке.
D.3 Средства испытаний
D.3.1 Машина для испытания на растяжение с подходящим тензодатчиком и записывающим устройством.
Машина должна поддерживать требуемую скорость испытаний (см. D.4).
D.3.2 Два зажимных устройства, прикрепленных к машине для испытания на растяжение, способных удерживать образец.
D.4 Порядок проведения испытаний
D.4.1 Основные положения
Температура условий испытаний должна составлять (23±2)°C, относительная влажность - (50±5)%.
D.4.2 Испытание на растяжение
Помещают образец AB между двумя зажимными устройствами разрывной машины, расположенными на расстоянии приблизительно 200 мм друг от друга - так, чтобы распределить нагрузку равномерно по ширине образца.
Направление растяжения должно быть перпендикулярно замку. Скорость проведения испытаний должна составлять (100±5) мм/мин. Для обеспечения срабатывания всех замков перед испытанием к образцу прикладывают нагрузку силой 10 Н.
Регистрируют силу F, необходимую для разрушения замка, в ньютонах.
Повторяют испытания для всех оставшихся образцов: A1-B1 и A2-B2.
D.5 Результаты измерений
Рассчитывают среднее значение разрывной силы пяти измерений для каждого направления.
Среднее значение разрывной силы для длинной и короткой сторон планок выражают в кН/м.
Приложение ДА
(справочное)
Сведения о соответствии ссылочных национальных стандартов международным стандартам, использованным в качестве ссылочных в примененном международном стандарте
Таблица ДА.1
Обозначение ссылочного национального стандарта | Степень соответствия | Обозначение и наименование международного стандарта |
ГОСТ Р ИСО 105-В02-2015 | IDT | ISO 105-В02:2013 "Textiles - Tests for colour fastness - Part B02: Colour fastness to artificial light: Xenon arc fading lamp test" |
ГОСТ Р 58898 (ИСО 10874:2009) | MOD | ISO 10874:2009 "Resilient, textile and laminate floor coverings - Classification" |
Примечание - В настоящей таблице использованы следующие условные обозначения степени соответствия стандартов:
| ||
Библиография
[1] | ИСО 24341 | Покрытия напольные упругие и текстильные. Определение длины, ширины и прямолинейности листа (Resilient and textile floor coverings - Determination of length, width and straightness of sheet) |
[2] | ИСО 24342 | Покрытия напольные упругие. Определение длины сторон, прямолинейности и перпендикулярности плиток (Resilient and textile floor-coverings - Determination of side length, edge straightness and squareness of tiles) |
[3] | ИСО 24346 | Покрытия напольные эластичные. Определение общей толщины (Resilient floor coverings - Determination of overall thickness) |
[4] | ИСО 23997 | Покрытия напольные эластичные. Определение массы на единицу площади (Resilient floor coverings - Determination of mass per unit area) |
[5] | ИСО 24343-1 | Покрытия напольные эластичные и ламинированные. Определение вмятин и остаточных вмятин. Часть 1. Остаточные вмятины (Resilient and laminate floor coverings - Determination of indentation and residual indentation - Part 1: Residual indentation) |
[6] | ИСО 23999 | Покрытия напольные эластичные. Определение стабильности размеров и скручивания после воздействия тепла (Resilient floor coverings - Determination of dimensional stability and curling after exposure to heat) |
[7] | ИСО 24344 | Покрытия напольные упругие. Определение упругости и прогиба (Resilient floor coverings - Determination of flexibility and deflection) |
[8] | ИСО 4918 | Покрытия напольные упругие, текстильные и ламинированные. Испытание с применением кресла на роликах (Resilient, textile and laminate floor coverings - Castor chair test) |
[9] | ИСО 105-В02 | Материалы текстильные. Определение устойчивости окраски. Часть В02. Устойчивость окраски к искусственному свету. Испытание на выцветание с применением ксеноновой дуговой лампы (Textiles - Tests for colour fastness - Part B02: Colour fastness to artificial light: Xenon arc fading lamp test) |
[10] | АСТМ Ф 1515 | Стандартный метод тестирования для измерения легкой устойчивости устойчивого настила цветным изменением (Standard test method for measuring light stability of resilient flooring by colour change) |
[11] | ИСО 16906 | Покрытия напольные эластичные. Определение прочности швов (Resilient floor coverings - Determination of seam strength) |
[12] | ИСО 26987 | Покрытия напольные упругие. Определение загрязнения и стойкости кхимикатам (Resilient floor coverings - Determination of staining and resistance to chemicals) |
[13] | АСТМ Ф 1514 | Стандартный метод испытаний для измерения устойчивости теплоэластичных напольных покрытий от изменения цвета (Standard Test Method for Measuring Heat Stability of Resilient Flooring by Color Change) |
УДК 692.535:006.354 | ОКС 91.060.30; 97.150 |
Ключевые слова: эластичные напольные покрытия, эффект кресла на роликах, напольное гетерогенное поливинилхлоридное покрытие | |
Редакция документа с учетом
изменений и дополнений подготовлена


















