ГОСТ IEC 61034-2-2024
МЕЖГОСУДАРСТВЕННЫЙ СТАНДАРТ
ИЗМЕРЕНИЕ ПЛОТНОСТИ ДЫМА ПРИ ГОРЕНИИ КАБЕЛЕЙ В ЗАДАННЫХ УСЛОВИЯХ
Часть 2
Метод испытания и требования к нему
Measurement of smoke density of cables burning under defined conditions. Part 2. Test procedure and requirements
МКС 29.060
13.220.40
Дата введения 2025-07-01
Предисловие
Цели, основные принципы и общие правила проведения работ по межгосударственной стандартизации установлены ГОСТ 1.0 "Межгосударственная система стандартизации. Основные положения" и ГОСТ 1.2 "Межгосударственная система стандартизации. Стандарты межгосударственные, правила и рекомендации по межгосударственной стандартизации. Правила разработки, принятия, обновления и отмены"
Сведения о стандарте
1 ПОДГОТОВЛЕН Открытым акционерным обществом "Всероссийский научно-исследовательский, проектно-конструкторский и технологический институт кабельной промышленности" (ОАО "ВНИИКП") на основе собственного перевода на русский язык англоязычной версии стандарта, указанного в пункте 5
2 ВНЕСЕН Межгосударственным техническим комитетом по стандартизации МТК 46 "Кабельные изделия"
3 ПРИНЯТ Межгосударственным советом по стандартизации, метрологии и сертификации (протокол от 31 мая 2024 г. № 173-П)
За принятие проголосовали:
Краткое наименование страны по МК (ИСО 3166) 004-97 | Код страны по МК (ИСО 3166) 004-97 | Сокращенное наименование национального органа по стандартизации |
Армения | AM | ЗАО "Национальный орган по стандартизации и метрологии" Республики Армения |
Беларусь | BY | Госстандарт Республики Беларусь |
Казахстан | KZ | Госстандарт Республики Казахстан |
Киргизия | KG | Кыргызстандарт |
Россия | RU | Росстандарт |
Таджикистан | TJ | Таджикстандарт |
Узбекистан | UZ | Узбекское агентство по техническому регулированию |
4 Приказом Федерального агентства по техническому регулированию и метрологии от 29 августа 2024 г. № 1132-ст межгосударственный стандарт ГОСТ IEC 61034-2-2024 введен в действие в качестве национального стандарта Российской Федерации с 1 июля 2025 г.
5 Настоящий стандарт идентичен международному стандарту IEC 61034-2:2019* "Измерение плотности дыма при горении кабелей в заданных условиях. Часть 2. Метод испытания и требования к нему" ("Measurement of smoke density of cables burning under defined conditions - Part 2: Test procedure and requirements", IDT).
Международный стандарт разработан Техническим комитетом TC 20 "Электрические кабели" Международной Электротехнической комиссии (IEC).
При применении настоящего стандарта рекомендуется использовать вместо ссылочных международных стандартов соответствующие им межгосударственные стандарты, сведения о которых приведены в дополнительном приложении ДА
6 ВЗАМЕН ГОСТ IEC 61034-2-2011
Информация о введении в действие (прекращении действия) настоящего стандарта и изменений к нему на территории указанных выше государств публикуется в указателях национальных стандартов, издаваемых в этих государствах, а также в сети Интернет на сайтах соответствующих национальных органов по стандартизации.
В случае пересмотра, изменения или отмены настоящего стандарта соответствующая информация будет опубликована на официальном интернет-сайте Межгосударственного совета по стандартизации, метрологии и сертификации в каталоге "Межгосударственные стандарты"
Введение
Измерение плотности дыма является важным аспектом при оценке характеристик кабелей при их горении, так как это связано с необходимостью эвакуации персонала и организации борьбы с огнем.
Настоящий стандарт опубликован в двух частях, которые совместно устанавливают метод испытания для измерения плотности дыма при горении кабеля в заданных условиях. При проведении этого испытания следует иметь в виду, что образцы кабеля (т.е. испытуемые отрезки или пучки испытуемых отрезков) не в полной мере моделируют действительные условия прокладки.
Во второй части приведены метод проведения испытания и справочное приложение, содержащее рекомендуемые требования в том случае, если в стандарте или технических условиях на кабель такие требования не установлены.
1 Область применения
Настоящий стандарт устанавливает требования к методу испытания, применяемого для измерения плотности дыма, выделяемого кабелями при их горении в заданных условиях. Приведены также описание способов подготовки и крепления кабелей для испытания, метод горения кабелей и даны рекомендации по оценке результатов испытания.
2 Нормативные ссылки
В настоящем стандарте использованы нормативные ссылки на следующие стандарты [для датированных ссылок применяют только указанное издание ссылочного стандарта, для недатированных - последнее издание (включая все изменения)]:
ISO/IEC 13943, Fire safety - Vocabulary (Пожаробезопасность. Словарь)
IEC 60695-4, Fire hazard testing - Part 4: Terminology concerning fire tests for electrotechnical products (Испытания на пожароопасность. Часть 4. Терминология, относящаяся к испытаниям на огнестойкость)
IEC 60811-203, Electric and optical fibre cables - Test methods for non-metallic materials - Part 203: General tests - Measurement of overall dimensions (Кабели электрические и волоконно-оптические. Методы испытаний неметаллических материалов. Часть 203. Общие испытания. Измерение наружных размеров)
IEC 61034-1, Measurement of smoke density of cables burning under defined conditions - Part 1: Test apparatus (Измерение плотности дыма при горении кабелей в заданных условиях. Часть 1. Испытательное оборудование)
IEC Guide 104, The preparation of safety publications and the use of basic safety publications and group safety publications (Подготовка публикаций по безопасности и применение базовых и групповых публикаций по безопасности)
3 Термины и определения
В настоящем стандарте применены термины по IEC 60695-4 и ISO/IEC 13943.
4 Испытательное оборудование
Испытание, приведенное в настоящем стандарте, проводят на испытательном оборудовании (испытательная камера, фотометрическая система и стандартный источник пламени), приведенном в ГОСТ IEC 61034-1.
5 Подготовка кабеля для испытания
5.1 Образцы кабеля
Испытуемый образец кабеля должен состоять из одного или нескольких отрезков кабеля длиной (1,00±0,05) м каждый, которые должны быть выпрямлены, а затем выдержаны не менее 16 ч при температуре (23±5)°С.
5.2 Отбор отрезков кабеля и подготовка испытуемых образцов
5.2.1 Определение числа испытуемых отрезков
5.2.1.0 Общие положения
Диаметр кабеля измеряют с использованием метода указанного в IEC 60811-203. Измерение проводят в каждом из трех мест, отстоящих друг от друга на длине не менее чем 1 м.
Для получения наружного диаметра среднюю величину трех полученных значений округляют. Если при расчете получают вторую десятичную цифру 5 или более, то первую десятичную цифру увеличивают, например, 5,75 округляют до 5,8 и 5,74 округляют до 5,7.
Полученное значение наружного диаметра используют для выбора количества испытуемых отрезков.
5.2.1.1 Кабели наружным диаметром более 5,0 мм
Для кабелей наружным диаметром более 5,0 мм число испытуемых отрезков, необходимое для формирования испытуемого образца, должно соответствовать указанному в таблице 1.
Таблица 1 - Число испытуемых отрезков
Наружный диаметр кабеля, D, мм | Число испытуемых отрезков |
D>40,0 | 1 |
20,0< D 40,0 | 2 |
10,0< D 20,0 | 3 |
5,0< D 10,0 | |
- число испытуемых отрезков кабеля. Значение округляют в сторону меньшего целого значения. | |
5.2.1.2 Кабели наружным диаметром от 1,0 мм до 5,0 мм включительно
Семь отрезков кабеля в каждом пучке скручивают между собой с шагом скрутки 20-30 D и скрепляют двумя витками проволоки диаметром, приблизительно равным 0,5 мм в центре и на расстоянии через каждые 100 мм по обе стороны от центра (см. рисунок 1).
![]() |
1 - проволочный бандаж; 2 - центр; 3 - пучок из семи отрезков кабеля
Рисунок 1 - Способ скрепления пучка из испытуемых отрезков
5.2.1.3 Кабели некруглого сечения
Испытуемый образец для кабелей некруглого поперечного сечения представляет собой плоский блок из параллельно уложенных в один ряд отрезков кабеля, в котором меньшая ось каждого отрезка обращена к источнику пламени.
Блок скрепляют двумя витками проволоки диаметром, приблизительно равным 0,5 мм, в центре и через каждые 100 мм по обе стороны от центра (см. рисунок 3). Число испытуемых отрезков, которое требуется для составления плоского блока, должно соответствовать таблице 1; для кабелей наружным диаметром до 5 мм включительно скрепленные испытуемые отрезки не должны формироваться в пучок, и число испытуемых отрезков в плоском горизонтальном блоке рассчитывают в соответствии с формулой
Для определения наружного диаметра D, который используют для вычисления количества испытуемых отрезков при испытании кабелей, у которых меньшая ось равна 2,0 мм и более, применяют следующие критерии:
a) для кабелей, у которых отношение большей оси к меньшей оси равно или менее 3, номинальное значение меньшей оси принимают за наружный диаметр;
Для кабелей, у которых меньшая ось менее 2,0 мм или отношение большей оси к меньшей оси превышает 16, критерии испытания должны быть указаны в стандарте на конкретное кабельное изделие или, если в таком стандарте данные критерии не указаны, устанавливаются по соглашению между изготовителем и заказчиком.
5.2.2 Крепление образца
Испытуемый образец должен надежно крепиться следующим способом:
- отдельные испытуемые отрезки кабеля или испытуемые пучки из отрезков кабеля скрепляют вместе проволочными бандажами на концах и на расстоянии 300 мм от каждого конца в местах, где они должны крепиться к опоре посредством проволочных стяжек.
При возможности расхождения во время испытаний отрезки кабеля или пучки скрепляют двумя витками проволоки диаметром около 0,5 мм по центру и на расстоянии через каждые 100 мм по обе стороны от центра. Дополнительно отрезки кабеля или пучки могут быть растянуты за один или за оба конца с помощью соответствующего устройства, например, пружиной или нагрузкой.
5.3 Расположение образцов
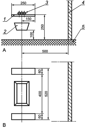
Поддон со спиртом должен быть приподнят над поверхностью пола для обеспечения циркуляции воздуха под ним и вокруг него. Испытуемые образцы (отрезки кабеля или пучки) должны быть уложены в горизонтальной плоскости в контакте друг с другом и расположены по центру над поддоном так, чтобы расстояние от нижней точки образцов до дна поддона было (150±5) мм (см. рисунок 2).
![]() |
А - вид сбоку; В - вид сверху; 1 - опора; 2 - металлический поддон; 3 - испытуемый образец; 4 - задняя стенка; 5 - пол
Рисунок 2 - Расположение образцов на опоре
![]() |
1 - меньшая ось кабеля; 2 - проволочный бандаж; 3 - большая ось кабеля; 4 - n-е количество испытуемых отрезков
Рисунок 3 - Способ формирования плоского горизонтального блока из некруглых кабелей
6 Проведение испытания
Примечание - Перед каждым испытанием следует очистить окна фотометрической системы, чтобы восстановить 100%-ное светопропускание после стабилизации напряжения (см. ГОСТ IEC 61034-1, раздел А.2).
6.1 Непосредственно перед началом испытания температура внутри камеры, измеренная со стороны внутренней поверхности двери на высоте 1,5-2,0 м и на расстоянии не менее 0,2 м от стен, должна быть (25±5)°С.
6.2 Перед испытанием при необходимости проводят подготовительную процедуру в соответствии с ГОСТ IEC 61034-1 (раздел 8) для предварительного нагрева испытательной камеры.
6.3 Источник пламени при испытании должен соответствовать указанному в ГОСТ IEC 61034-1 (раздел 6).
6.4 После закрепления испытуемых образцов над поддоном включают вентилятор и поджигают спирт. После этого весь персонал должен срочно покинуть испытательную камеру; дверь должна быть закрыта.
6.5 Испытание считают законченным, если нет уменьшения светопропускания в течение 5 мин после того, как погас источник зажигания, или если продолжительность испытания достигла 40 мин.
Примечание - Если требуется информация о плотности дыма для более углубленной оценки риска или для технических расчетов пожарной безопасности, может быть необходимо рассчитать другие параметры. Руководство по таким расчетам приведено в приложении А.
6.7 Продукты сгорания после каждого испытания удаляют.
7 Оценка результатов испытания
Требование должно быть установлено в технических условиях на конкретный кабель.
N - число испытуемых отрезков кабеля в соответствии с таблицей 1;
D - наружный диаметр кабеля, мм.
Если в технических условиях на конкретный кабель значение не нормировано, за минимальное рекомендуется принять значение, указанное в приложении В.
8 Проведение повторного испытания
В случае несоответствия результатов испытаний кабеля требованиям соответствующего стандарта на конкретный кабель, испытывают еще два образца, отобранных от той же испытуемой длины кабеля. Если оба результата этих испытаний соответствуют требованиям, то испытание кабеля на соответствие требованиям стандарта считается пройденным успешно.
9 Протокол испытания
Протокол испытания должен содержать следующую информацию:
a) полное описание испытуемого кабеля;
b) наименование изготовителя испытуемого кабеля;
c) наружный диаметр испытуемого кабеля;
d) число и расположение испытуемых отрезков в испытуемом образце;
e) подробное описание бандажа или растяжения испытуемых отрезков в испытуемом образце;
f) минимальное значение светопропускания, зарегистрированное в течение испытания.
Приложение A
(справочное)
Руководство по использованию результатов измерений плотности дыма
A.1 Справочная информация
A.1.1 Закон Бугера
Дым представляет собой аэрозоль частиц, которые могут быть охарактеризованы либо как функция их гравиметрических параметров, или как функция характеристик ослабления света, либо в виде сочетания обеих функций. В настоящем стандарте при измерении плотности дыма используют функцию характеристик ослабления света, которые являются функцией числа и размера частиц на пути прохождения света. Если считать, что частицы не прозрачны, то способность дыма ослаблять свет зависит от суммы поперечных сечений частиц на пути прохождения света. Она измеряется в единицах площади, например в квадратных метрах, и называется площадью ослабления (см. A.1.2).
Оптические характеристики дыма установлены по закону Бугера на основе затухания монохроматического света в дыме
L - длина пути прохождения света через дым;
k - линейный коэффициент поглощения (или коэффициент ослабления).
В некоторых случаях, в том числе в настоящем стандарте, используют десятичные логарифмы для определения оптической плотности D’
а также для определения оптической плотности на единицу длины пути прохождения света D, которая также определяется как линейный десятичный коэффициент поглощения или десятичный коэффициент ослабления.
A.1.2 Площадь ослабления
Измерение количества дыма, применяемое в частности для технических расчетов пожарной безопасности, это есть измерение общей фактической площади поперечных сечений всех частиц дыма, называемой площадью ослабления дыма S.
Площадь ослабления связана с коэффициентом ослабления дыма и объемом, который он занимает, следующим уравнением
где V - объем камеры, в которой находится дым.
Площадь ослабления дыма может быть также определена через D по формуле
A.1.3 Видимость
Была выявлена корреляция между уровнями видимости в дыму и измеренным коэффициентом ослабления дыма для объектов с установленными контрастностью и освещением.
A.2 Использование параметров, измеренных по методу настоящего стандарта
и линейный десятичный коэффициент поглощения D
где L - длина пути прохождения света в испытательной камере (номинальное значение 3 м).
Площадь ослабления дыма определяется по формуле
где n - число испытуемых отрезков.
Таким образом, данные, полученные по результатам испытания, можно использовать для прогнозирования видимости для определенных условий пожара.
Примечание - Общее руководство приведено в стандарте IEC 60695-6-1 "Испытание на пожароопасность. Часть 6-1. Коэффициент непрозрачности дыма. Общее руководство".
Приложение B
(справочное)
Рекомендуемые требования по оценке результатов
Требования по оценке результатов для конкретного типа или класса изолированного провода или кабеля должны предпочтительно быть указаны в стандарте на соответствующий кабель.
В случае отсутствия каких-либо требований рекомендуется за минимальное значение светопропускания для кабеля, испытываемого по настоящему стандарту, принять значение равное 60%.
Приложение ДА
(справочное)
Сведения о соответствии ссылочных международных стандартов межгосударственным стандартам
Таблица ДА.1
Обозначение ссылочных международных стандартов | Степень соответствия | Обозначение и наименование соответствующего межгосударственного стандарта |
ISO/IEC 13943 | - | * |
IEC 60695-4 | - | * |
IEC 60811-203 | IDT | ГОСТ IEC 60811-203-2015 "Кабели электрические и волоконно-оптические. Методы испытаний неметаллических материалов. Часть 203. Общие испытания. Измерение наружных размеров" |
IEC 61034-1 | IDT | ГОСТ IEC 61034-1-2011 "Измерение плотности дыма при горении кабелей в заданных условиях. Часть 1. Испытательное оборудование" |
IEC Guide 104 | IDT | ГОСТ IEC Guide 104-2017 "Подготовка публикаций по безопасности и использование основополагающих и групповых публикаций по безопасности" |
* Соответствующий межгосударственный стандарт отсутствует. До его принятия рекомендуется использовать перевод на русский язык данного международного стандарта. | ||
Примечание - В настоящей таблице использовано следующее условное обозначение степени соответствия стандарта: - IDT - идентичные стандарты. | ||
Библиография
IEC 60695-6-1 | Fire hazard testing - Part 6-1: Smoke obscuration - General guidance (Испытание на пожароопасность. Часть 6-1. Коэффициент непрозрачности дыма. Общее руководство) |
УДК 621.315.2.001.4:006.354 | МКС 29.060 | |
13.220.40 | ||
Ключевые слова: электрические кабели, светопропускание, проведение испытания, плотность дыма при горении кабелей | ||


