ГОСТ 21174-2024
МЕЖГОСУДАРСТВЕННЫЙ СТАНДАРТ
ШПАЛЫ ЖЕЛЕЗОБЕТОННЫЕ ПРЕДВАРИТЕЛЬНО НАПРЯЖЕННЫЕ ДЛЯ ТРАМВАЙНЫХ ПУТЕЙ ШИРОКОЙ КОЛЕИ
Общие технические условия
Prestressed concrete sleepers for wide gauge tram tracks. General technical specifications
МКС 93.100
Дата введения 2025-06-01
Предисловие
Цели, основные принципы и общие правила проведения работ по межгосударственной стандартизации установлены ГОСТ 1.0 "Межгосударственная система стандартизации. Основные положения" и ГОСТ 1.2 "Межгосударственная система стандартизации. Стандарты межгосударственные, правила и рекомендации по межгосударственной стандартизации. Правила разработки, принятия, обновления и отмены"
Сведения о стандарте
1 РАЗРАБОТАН Акционерным обществом "ЦНИИПромзданий" (АО "ЦНИИПромзданий", Общеросcийской общественной организацией "Российская академия транспорта" (ОО "Российская академия транспорта", Акционерным обществом "БЭТ" (АО "БЭТ")
2 ВНЕСЕН Техническим комитетом по стандартизации ТК 465 "Строительство"
3 ПРИНЯТ Межгосударственным советом по стандартизации, метрологии и сертификации (протокол от 27 декабря 2024 г. № 180-П)
За принятие проголосовали:
Краткое наименование страны по МК (ИСО 3166) 004-97 | Код страны по МК (ИСО 3166) 004-97 | Сокращенное наименование национального органа по стандартизации |
Азербайджан | AZ | Азстандарт |
Армения | AM | ЗАО "Национальный орган по стандартизации и метрологии" Республики Армения |
Казахстан | KZ | Госстандарт Республики Казахстан |
Россия | RU | Росстандарт |
Таджикистан | TJ | Таджикстандарт |
Узбекистан | UZ | Узбекское агентство по техническому регулированию |
(Поправка. ИУС № 1-2026).
4 Приказом Федерального агентства по техническому регулированию и метрологии от 28 декабря 2024 г. № 2048-ст межгосударственный стандарт ГОСТ 21174-2024 введен в действие в качестве национального стандарта Российской Федерации с 1 июня 2025 г.
5 ВЗАМЕН ГОСТ 21174-75
Информация о введении в действие (прекращении действия) настоящего стандарта и изменений к нему на территории указанных выше государств публикуется в указателях национальных стандартов, издаваемых в этих государствах, а также в сети Интернет на сайтах соответствующих национальных органов по стандартизации.
В случае пересмотра, изменения или отмены настоящего стандарта соответствующая информация будет опубликована на официальном интернет-сайте Межгосударственного совета по стандартизации, метрологии и сертификации в каталоге "Межгосударственные стандарты"
ВНЕСЕНА поправка, опубликованная в ИУС № 1, 2026 год
1 Область применения
Настоящий стандарт распространяется на железобетонные предварительно напряженные шпалы для скоростных и обычных трамвайных линий, применяемые в прямых и кривых участках бесстыковых трамвайных путей широкой колеи и трамвайных путей широкой колеи со стыками, с дорожным покрытием и без него, и устанавливает общие технические условия к ним.
2 Нормативные ссылки
В настоящем стандарте использованы нормативные ссылки на следующие межгосударственные стандарты:
ГОСТ 12.1.005 Система стандартов безопасности труда. Общие санитарно-гигиенические требования к воздуху рабочей зоны
ГОСТ 12.1.007 Система стандартов безопасности труда. Вредные вещества. Классификация и общие требования безопасности
ГОСТ 12.2.003 Система стандартов безопасности труда. Оборудование производственное. Общие требования безопасности
ГОСТ 12.3.002 Система стандартов безопасности труда. Процессы производственные. Общие требования безопасности
ГОСТ 12.3.009 Система стандартов безопасности труда. Работы погрузочно-разгрузочные. Общие требования безопасности
ГОСТ 162 Штангенглубиномеры. Технические условия
ГОСТ 166-89 (ИСО 3599-76) Штангенциркули. Технические условия
ГОСТ 427-75 Линейки измерительные металлические. Технические условия
ГОСТ 5378-88 Угломеры с нониусом. Технические условия
ГОСТ 6727 Проволока из низкоуглеродистой стали холоднотянутая для армирования железобетонных конструкций. Технические условия
ГОСТ 7473 Смеси бетонные. Технические условия
ГОСТ 8267-93 Щебень и гравий из плотных горных пород для строительных работ. Технические условия
ГОСТ 8269.0 Щебень и гравий из плотных горных пород и отходов промышленного производства для строительных работ. Методы физико-механических испытаний
ГОСТ 8736-2014 Песок для строительных работ. Технические условия
ГОСТ 10060-2012 Бетоны. Методы определения морозостойкости
ГОСТ 10180-2012 Бетоны. Методы определения прочности по контрольным образцам
ГОСТ 12730.5 Бетоны. Методы определения водонепроницаемости
ГОСТ 13015-2012 Изделия бетонные и железобетонные для строительства. Общие технические требования. Правила приемки, маркировки, транспортирования и хранения
ГОСТ 16017 Болты закладные для рельсовых скреплений железнодорожного пути. Технические условия
ГОСТ 18105 Бетоны. Правила контроля и оценки прочности
________________
ГОСТ 22904 Конструкции железобетонные. Магнитный метод определения толщины защитного слоя бетона и расположения арматуры
ГОСТ 23706-93 (МЭК 51-6-84) Приборы аналоговые показывающие электроизмерительные прямого действия и вспомогательные части к ним. Часть 6. Особые требования к омметрам (приборам для измерения полного сопротивления) и приборам для измерения активной проводимости
ГОСТ 23732 Вода для бетонов и строительных растворов. Технические условия
ГОСТ 24211 Добавки для бетонов и строительных растворов. Общие технические условия
________________
ГОСТ 26633 Бетоны тяжелые и мелкозернистые. Технические условия
ГОСТ 30108-94 Материалы и изделия строительные. Определение удельной эффективной активности естественных радионуклидов
ГОСТ 31108 Цементы общестроительные. Технические условия
ГОСТ 31424 Материалы строительные нерудные из отсевов дробления плотных горных пород при производстве щебня. Технические условия
Примечание - При пользовании настоящим стандартом целесообразно проверить действие ссылочных стандартов и классификаторов на официальном интернет-сайте Межгосударственного совета по стандартизации, метрологии и сертификации (www.easc.by) или по указателям национальных стандартов, издаваемым в государствах, указанных в предисловии, или на официальных сайтах соответствующих национальных органов по стандартизации. Если на документ дана недатированная ссылка, то следует использовать документ, действующий на текущий момент, с учетом всех внесенных в него изменений. Если заменен ссылочный документ, на который дана датированная ссылка, то следует использовать указанную версию этого документа. Если после принятия настоящего стандарта в ссылочный документ, на который дана датированная ссылка, внесено изменение, затрагивающее положение, на которое дана ссылка, то это положение применяется без учета данного изменения. Если ссылочный документ отменен без замены, то положение, в котором дана ссылка на него, применяется в части, не затрагивающей эту ссылку.
3 Термины и определения
В настоящем стандарте применены следующие термины с соответствующими определениями:
3.1
агрессивная среда: Среда, вызывающая интенсивное ухудшение свойств или разрушение материалов и изделий из них, в том числе воздействующая на участки железнодорожного пути, расположенные в тоннелях, на мостах и подходах к ним, а также в местах повышенной влажности [при средней годовой влажности более 80% по ГОСТ 15150-69 (приложение 11)]. [ГОСТ Р 59428-2021, пункт 3.1] |
3.2
анкер: Металлическая деталь, забетонированная в теле шпалы и выступающая над поверхностью, предназначенная для крепления рельса клеммами рельсового скрепления. [ГОСТ 33320-2015, пункт 3.1] |
3.3 верхнее строение трамвайного пути: Рельсы, контррельсы, стыковые и промежуточные скрепления, противоугоны, путевые и междупутные тяги, температурные компенсаторы (уравнительные приборы), подрельсовые основания - шпалы, брусья, рамы, лежни, балласт, а также спецчасти - стрелочные переводы и глухие пересечения; кроме того, на совмещенном и обособленном полотнах - дорожное покрытие пути, а на мостах, путепроводах, эстакадах и насыпях - охранные рельсы и брусья.
3.4
вкладыш-пустотообразователь: Полимерная деталь, забетонированная в шпалу для установки в проектное положение закладного болта и обеспечения электрической изоляции. [ГОСТ 33320-2015, пункт 3.2] |
3.5
выкружка в подрельсовой площадке: Местная полукруглая выемка в бетоне подрельсовой площадки, предназначенная для размещения конца клеммы или подкладки пружинного рельсового скрепления. [ГОСТ 33320-2015, пункт 3.3] |
3.6
дюбель: Деталь из полимерного материала, забетонированная в шпалу при ее изготовлении, имеющая внутри продольный канал с резьбой для закручивания шурупа. [ГОСТ 33320-2015, пункт 3.4] |
3.7
железобетонная шпала: Шпала специального профиля и армирования, изготовленная из напряженного железобетона, предназначенная для опирания рельсов в железнодорожном пути. [Адаптировано из ГОСТ 33320-2015, пункт 3.5] |
3.8
закладная шайба: Металлическая деталь, забетонированная в шпалу при ее изготовлении для фиксации головки закладного болта рельсового скрепления. [ГОСТ 33320-2015, пункт 3.6] |
3.9
закладной элемент: Деталь, конструктивно изготовленная в зависимости от типа шпалы, замоноличенная в бетон и служащая для установки скрепления. [ГОСТ 33320-2015, пункт 3.7] |
3.10
защитный слой бетона: Расстояние от поверхности изделия до ближайшего ряда рабочей арматуры. [ГОСТ 33320-2015, пункт 3.8] |
3.11
кромка углубления: Верхняя линия поперечной наклонной плоскости углубления подрельсовой площадки. [ГОСТ 33320-2015, пункт 3.9] |
3.12
наклонная плоскость: Поперечная плоскость, формирующая углубление подрельсовой площади. [ГОСТ 32942-2022, пункт 3.9] |
3.13 осевая нагрузка; нагрузка на ось: Вертикальная статическая нагрузка единицы железнодорожного подвижного состава на рельсы, отнесенная к одной колесной паре, с учетом фактического расположения центра тяжести надрессорного строения.
3.14
отпускная прочность: Прочность бетона шпал к моменту отпуска с предприятия. [ГОСТ 33320-2015, пункт 3.10] |
3.15
передаточная прочность бетона: Прочность бетона напряженно армируемых шпал к моменту передачи на него предварительного напряжения арматуры. [ГОСТ Р 54747-2011, пункт 3.16] |
3.16
подрельсовая площадка: Верхняя плоскость участка шпалы, в пределах которого размещаются рельс и детали рельсового скрепления. [ГОСТ 33320-2015, пункт 3.12] |
3.17
подрельсовое сечение: Поперечное сечение шпалы посередине подрельсовой площадки, перпендикулярное к продольной оси шпалы. [ГОСТ 33320-2015, пункт 3.13] |
3.18
подукпонка: Угол наклона плоскости подрельсовой площадки к продольной оси шпалы, измеряемый в вертикальной плоскости. [ГОСТ 33320-2015, пункт 3.14] |
3.19
подшпальная прокладка: Прокладка из эластомерного материала, предназначенная для установки под подошву железобетонных шпал и брусьев стрелочных переводов в целях снижения деформации пути, снижения напряженности подшпального основания и повышения его несущей способности. [ГОСТ 32942-2022, пункт 3.16] |
3.20
пропеллерность: Разность углов наклона подрельсовых площадок на разных концах шпалы в поперечном к оси шпалы направлении. [ГОСТ Р 54747-2011, пункт 3.13] |
3.21
распалубка: Извлечение железобетонных конструкций из формы после набора бетоном требуемой прочности. [ГОСТ 33320-2015, пункт 3.16] |
3.22
среднее сечение: Поперечное сечение посередине шпалы, расположенное на участке между подрельсовыми площадками. [ГОСТ Р 54747-2011, пункт 3.4] |
3.23
упорная плоскость углубления: Поперечная наклонная плоскость углубления подрельсовой площадки, ближайшая к торцевой поверхности шпалы. [ГОСТ 33320-2015, пункт 3.18] |
4 Классификация по типам и основные параметры
4.1 Шпалы в зависимости от применяемого типа рельсового скрепления подразделяют:
- на тип I для раздельного рельсового скрепления с резьбовым прикреплением рельса и подкладки к шпале;
- тип II для нераздельного анкерного рельсового скрепления с безрезьбовым прикреплением рельса к шпале;
- тип III для нераздельного рельсового скрепления с резьбовым прикреплением рельса к шпале.
Каждый из указанных типов шпал включает в себя подтипы шпал с отдельными конструктивными особенностями. Обозначения подтипов шпал приводят в конструкторской документации.
Схемы шпал типов I, II, III представлены на рисунках 1-3.
![]() |
Рисунок 1 - Схема шпал типа I
![]() |
Рисунок 2 - Схема шпал типа II
![]() |
Рисунок 3 - Схема шпал типа III
Шпалы всех типов изготавливают в двух исполнениях:
- исполнение 1 - базовая шпала;
- исполнение 2 - шпала, стойкая к воздействию агрессивных сред (коррозии).
4.2 Для снижения деформации пути, снижения напряженности подшпального основания и повышения его несущей способности шпалы могут быть изготовлены с подшпальными прокладками.
4.3 По применимости в кривых участках трамвайного пути разного радиуса шпалы всех типов относят к двум видам:
- для прямых и кривых участков трамвайного пути радиусом не менее 76 м;
- для кривых малого радиуса (75 м и менее) и переходных кривых.
4.4 Основным параметром A, который определяет ширину рельсовой колеи S, мм, для всех типов шпал является расстояние между двумя фиксированными точками на подрельсовых площадках противоположных концов шпалы, которое измеряют по продольной оси шпалы.
4.4.1 Для шпал типа I (см. рисунок 1) основным параметром А является расстояние между упорными плоскостями углублений противоположных концов шпалы, которое измеряют на уровне кромок углублений.
4.4.2 Для шпал типа II (см. рисунок 2) основным параметром А является расстояние между внутренними плоскостями наружных выступов на головках анкеров противоположных концов шпалы, которое измеряют на уровне их выхода из бетона.
4.4.3 Для шпал типа III (см. рисунок 3) основным параметром А является расстояние между упорными плоскостями углублений противоположных концов шпалы, которое измеряют на уровне подрельсовых площадок.
Таблица 1 - Ширина колеи на разных участках пути
В миллиметрах | ||||||
Участок пути | Ширина колеи, при рельсах | |||||
желобчатых | железнодорожного типа | |||||
S | K | S | K | |||
Прямой и кривой радиусом более 200 м | 1524 | 0 | - | 1524 | 0 | - |
Кривой радиусом, м: | ||||||
от 76 до 200 включ. | 1524 | 0 | - | 1524 | 0 | - |
от 26 до 75 включ. | 1532 | 8 | К32 | 1532 | 8 | К32 |
св. 21 до 25 включ. | 1528 | 4 | К28 | 1532 | 8 | К32 |
до 20 | 1526 | 2 | К26 | 1532 | 8 | К32 |
Примечание - В таблице используют следующие условные обозначения: S - номинальная ширина рельсовой колеи, мм; | ||||||
K - обозначение поправки на шпале; - поправка к расстоянию A , мм. | ||||||
а) для шпал типа I, представленных на рисунке 4:
![]() |
а - для болтового скрепления
![]() |
б - для шурупно-дюбельного скрепления
Рисунок 4 - Подрельсовая часть шпал типа I
б) для шпал типа III, представленных на рисунке 5:
![]() |
а - для болтового скрепления
![]() |
б - для шурупно-дюбельного скрепления
Рисунок 5 - Подрельсовая часть шпал типа III
![]() |
а
б
Рисунок 6 - Предрельсовая часть шпал типа II
4.6 Для всех типов шпал основным параметром, который влияет на трещиностойкость, является высота шпалы:
5 Технические требования
5.1 Общие требования к шпалам
5.1.1 Шпалы изготавливают в соответствии с требованиями настоящего стандарта, технической документацией и утвержденной предприятием-изготовителем технологической документацией, содержащей требования по изготовлению шпал на всех стадиях производственного процесса.
5.1.2 Шпалы подлежат изготовлению в формах, обеспечивающих соблюдение установленных настоящим стандартом требований к качеству и точности изготовления шпал.
5.1.3 Форма шпалы, расположение подрельсовых площадок и закладных элементов в зависимости от типа должны соответствовать типовой схеме данной шпалы, представленной на рисунках 1-6.
5.1.4 Допустимые отклонения размеров шпал не должны превышать значений, указанных в таблице 2, для данного типа и сорта шпал.
Таблица 2 - Допустимые отклонения размеров шпалы
Наименование геометрического параметра, обозначение размеров шпал | Тип шпалы | ||
I | II | Ill | |
Расстояние по оси шпалы между наружными кромками углублений подрельсовых площадок A, мм | ±2 | ±2 | ±1,5 |
Расстояние по оси шпалы между кромками углублений одной подрельсовой площадки , мм | + 1; -2 | - | +1,5; -0,5 |
Расстояние между центрами отверстий на одной подрельсовой площадке , мм | - | - | ±1 |
Расстояние от упорной кромки углубления одной подрельсовой площадки до центра ближайшего отверстия, измеряемое на уровне кромки углубления , мм | - | - | ±0,5 |
Глубина выкружки в подрельсовой площадке с, мм | - | - | +1; -0,5 |
Отклонения от прямолинейности профиля подрельсовых площадок шпал, мм: | |||
- по ширине площадки | +1 | ||
- длине площадки | +1 | ||
Расстояние от рабочей поверхности закладной шайбы до подрельсовой площадки шпалы , мм | +4; -1 | - | +4; -1 |
Высота шпалы в подрельсовом сечении , мм | +8; -3 | ||
Высота шпалы в среднем сечении , мм | +8; -3 | ||
Высота головки анкера , мм | - | ±1,5 | - |
Угол наклона упорных плоскостей углублений к плоскости подрельсовых площадок , град | -2 | - | -2 |
Угол наклона оси дюбеля в продольном и поперечном направлениях относительно перпендикуляра к плоскости подрельсовой площадки , град | - | - | ±1,5 |
Разница углов наклона пары подрельсовых площадок в поперечном к оси шпалы направлении (пропеллерность), П | ±1/180 | ||
Размер обеспечивается формооснасткой, в готовом изделии не контролируется. | |||
5.1.5 Подуклонка подрельсовых площадок равна 1/20. Допускается отклонение величины подуклонки в пределах 1/18-1/22.
5.1.6 Шпалы должны удовлетворять требованиям по трещиностойкости. При испытании на трещиностойкость шпалы должны выдерживать без появления видимых трещин контрольные нагрузки, указанные в таблице 3.
Таблица 3 - Контрольные нагрузки при испытаниях шпал на трещиностойкость
Испытываемое сечение | Направление изгиба | Величина контрольной нагрузки, кН(тс) |
Подрельсовое | Вниз | 70,0 (7) |
Среднее | Вверх | 80,0 (8) |
5.1.7 Толщина защитного слоя бетона от верхней поверхности шпалы до крайнего ряда рабочей арматуры - не менее 25 мм, от нижней поверхности - не менее 30 мм.
5.1.8 На бетонной поверхности шпал не допускаются:
- трещины, за исключением усадочных, с раскрытием не более 0,1 мм по ГОСТ 13015-2012 (пункт 5.5.2);
- местные наплывы бетона на подрельсовых площадках, вокруг головок анкеров;
- раковины (на бетонных поверхностях и вокруг головок анкеров) и околы кромок бетона с размерами и глубиной, превышающими указанные в таблице 4.
Таблица 4 - Предельные размеры раковин и околов бетона
Вид поверхности шпалы | Предельный размер | |||
Раковины | Околы бетона | |||
Глубина | Наибольший размер | Глубина | Длина по кромке | |
Наклонные плоскости и выкружки подрельсовых площадок, мм | 10 | 15 | 10 | 30 |
Подрельсовые площадки и верхняя поверхность шпалы между подрельсовыми площадками, мм | 10 | 30 | 15 | 60 |
Прочие участки верхней, боковой и торцевой поверхностей, мм | 15 | 60 | 30 | Не регламентируется |
Допускается заделка раковин и околов бетона на шпалах.
5.1.9 В каналах для закладных болтов или шурупов необходимо установить вкладыши из полимерного материала или дюбели соответственно, обеспечивающие геометрические размеры канала и электрическое сопротивление шпал.
5.1.10 В каналах для болтов и шурупов не допускаются наплывы бетона, препятствующие установке закладных болтов и путевых шурупов в рабочее положение.
5.1.11 Электрическое сопротивление шпал в сухом состоянии, измеренное между парами закладных элементов, установленных на противоположных концах шпалы, в зависимости от температуры воздуха при измерении должно быть не менее указанного в таблице 5.
Таблица 5 - Нормативные значения электрического сопротивления шпал
Температура воздуха при измерении, °C | Минимальное электрическое сопротивление, кОм |
До 5 | 20 |
От 6 до 10 включ. | 15 |
От 11 до 15 включ. | 12,5 |
От 16 | 10 |
5.1.12 Дюбель не должен быть выше уровня подрельсовой площадки. При этом глубина заложения дюбеля в шпалах относительно уровня подрельсовой площадки - не более 3 мм.
5.1.13 Нижняя поверхность шпал должна быть шероховатой, образованной выступающими из бетона частицами крупного заполнителя и обеспечиваемой технологией изготовления шпал, за исключением случаев изготовления шпал с подшпальными прокладками.
5.1.14 Диаметр и класс прочности арматуры, число и расположение арматурных элементов, отклонения от номинального числа арматурных элементов и значение начального натяжения всей арматуры должны соответствовать указанному в конструкторской документации на шпалы.
5.1.15 Допустимое отклонение от номинального положения арматурных проволок - не более ±3 мм в любом направлении.
Для обеспечения номинального положения проволок допускается применять разделительные проставки, остающиеся в теле шпал.
5.1.16 Концы стержневой арматуры не должны выступать за торцевые поверхности шпал. Для шпал с проволочной арматурой допускается выступ концов арматуры не более 20 мм.
5.1.17 Допускается дополнительное армирование подрельсовой площадки в зоне закладных элементов и дополнительное армирование торцов шпал.
Для дополнительного армирования следует применять проволоку по ГОСТ 6727. Допускается применять другие виды арматуры.
5.2 Требования к сырью и материалам
5.2.1 Основные требования к бетону
5.2.1.1 Шпалы всех типов изготавливать из тяжелого бетона по ГОСТ 26633. Материалы, применяемые для изготовления бетонной смеси, должны соответствовать настоящему стандарту и ГОСТ 26633.
Шпалы всех типов изготавливают из бетона класса прочности на сжатие не ниже:
- B40 - для шпал исполнения 1;
- B50 - для шпал исполнения 2.
5.2.1.2 Необходимо, чтобы марка бетона по морозостойкости была для всех типов шпал не ниже:
5.2.1.3 Передаточную прочность бетона, определяемую по ГОСТ 18105, устанавливают в соответствии с технической документацией в зависимости от принятой конструкции шпал и типа арматуры. Передаточная прочность бетона должна быть не менее:
Отпускная прочность бетона для шпал должна быть не менее:
- передаточной прочности - для шпал исполнения 1;
5.2.1.5 Все материалы, применяемые для изготовления бетона, должны отвечать требованиям настоящего стандарта.
5.2.1.6 В сопроводительной документации к материалам необходимо наличие информации о содержании хлоридов, щелочей и реакционноспособного кремнезема.
5.2.1.7 Марка бетона по водонепроницаемости для шпал исполнения 2 - не менее W12 по ГОСТ 12730.5.
5.2.2 Требования к вяжущим материалам
5.2.2.1 В качестве вяжущего материала следует применять портландцемент ЦЕМ 0, полученный на основе клинкера нормированного состава по ГОСТ 31108:
- для бетона В 40 класса не ниже 42,5;
- для бетонов В 50 и выше класса не ниже 52,5.
Допускается применение портландцемента ЦЕМ I по ГОСТ 31108 при условии его соответствия требованиям, указанным в 5.2.2.2, 5.2.2.5, и применение цемента, изготовленного по техническим условиям, согласованным с заказчиком и разработчиком конструкции.
5.2.2.2 Дополнительные (обязательные) требования к цементу для производства шпал:
- содержание трехкальциевого алюмината (C3A) в количестве не более 7% по массе;
- содержание хлорид-иона CI - не более 0,1% массы цемента;
- содержание оксида магния MgO в клинкере - не более 5,0% массы клинкера;
- цемент должен выдерживать испытания на равномерность изменения объема, расширение - не более 10 мм;
- не допускаются признаки ложного схватывания цемента.
5.2.2.3 При производстве цемента для интенсификации процесса помола допускается введение технологических добавок, не ухудшающих качества цемента, в количестве не более 1%, в том числе органических - не более 0,15% массы цемента. Информацию о наличии, составе и концентрации в цементе специальных и технологических добавок указывает производитель в товаросопроводительной документации.
5.2.2.4 Применение специальных добавок при изготовлении цементов допускается только по согласованию с потребителем и должно быть указано в договорах (контрактах) на поставку цемента.
5.2.3 Требования к заполнителям
5.2.3.1 В качестве крупного заполнителя для бетона шпал следует применять щебень плотных горных пород (плотностью 2,0-2,8 г/см) по ГОСТ 8267 из изверженных пород марки не ниже 1200 и метаморфических пород марки не ниже 1000, с наибольшей крупностью 20 мм. Применение гравия не допускается.
5.2.3.2 Крупный заполнитель следует применять в виде фракций. Рекомендуемое содержание отдельных фракций в крупном заполнителе в составе бетона: 5-10 мм - 25%-40% и 10-20 мм - 60%-75% от общей массы крупного заполнителя. Допускается применять заполнитель в виде смеси двух смежных фракций.
5.2.3.3 Содержание в щебне зерен пластинчатой (лещадной) и игловатой формы - не выше 15% по массе.
5.2.3.5 Количество пылевидных и глинистых частиц, определяемых методом отмучивания или методом мокрого просеивания по ГОСТ 8269.0, - не выше 1% от массы щебня.
5.2.3.6 В качестве мелкого заполнителя для бетонов следует применять природный, обогащенный, дробленый песок и песок из отсевов дробления, отвечающий требованиям ГОСТ 26633, ГОСТ 8736 и ГОСТ 31424. Допускается применять готовые смеси фракций в требуемом соотношении, а также смеси природных и дробленых песков или из отсевов дробления.
5.2.3.7 Использование в качестве мелкого заполнителя песка из отсевов дробления или их смесей с природным песком допускается при условии обеспечения установленной удобоукладываемости бетонной смеси согласно ГОСТ 7473.
5.2.3.8 Для бетона шпал следует использовать пески I класса с модулем крупности 2,0-3,25. Допускается применение песка с модулем крупности 1,5-2,0 при соответствующем технико-экономическом обосновании.
5.2.3.9 Содержание в песке пылевидных, глинистых и илистых частиц, определяемых методом мокрого просеивания по ГОСТ 8269.0, - не выше 2% по массе, а содержание глины в комках - не более 0,25% по массе.
5.2.3.10 На применяемые заполнители поставщик обязан предоставлять изготовителю шпал информацию по петрографическому и химическому анализам, включая:
- максимальное содержание хлоридов;
- максимальное содержание сульфатов;
- максимальное содержание органических веществ.
Перечень вредных компонентов и примесей в заполнителях и их предельно допустимое содержание приведены в ГОСТ 8267-93 (приложение А) и ГОСТ 8736-2014 (приложение А).
5.2.4 Требования к воде
Вода для затворения бетонной смеси должна соответствовать требованиям ГОСТ 23732. Общее содержание растворенных солей в воде, применяемой при изготовлении бетонной смеси для предварительно напряженных железобетонных конструкций, - не выше 2000 мг/л, хлорид-ионов - 500 мг/л, сульфат-ионов - 600 мг/л. Вода не должна содержать более 100 мг/л сахаратов, фенолов и других органических поверхностно-активных веществ, которые могут ухудшать качество бетона, а показатель pH должен быть не менее 4 и не более 12,5.
5.2.5 Требования к добавкам
5.2.5.1 Для регулирования и улучшения свойств бетонной смеси и бетона, снижения расхода цемента и энергетических затрат рекомендуется применять химические добавки, удовлетворяющие требованиям ГОСТ 24211.
5.2.5.2 Общее количество химических добавок при их применении для приготовления бетона - не более 5% массы цемента.
5.2.6 Требования к арматурной стали
5.2.6.1 В качестве напрягаемой арматуры следует применять материалы в соответствии с технической документацией на шпалы.
5.2.6.2 Для армирования шпал допускается применять:
- гладкую стальную холоднотянутую арматурную проволоку и проволоку периодического профиля диаметром от 3 до 8 мм, не ниже класса прочности 1400;
- гладкую стальную горячекатаную и термомеханически упрочненную арматуру или арматуру периодического профиля диаметром от 3 до 12 мм класса прочности не ниже 1400 К;
- арматурные канаты диаметром от 6 до 14 мм класса прочности не ниже 1500 К.
Арматуру с гладким профилем допускается применять только с концевыми анкерами (торцевыми пластинами).
5.2.7 Требования к закладным элементам
5.2.7.1 Вид закладных элементов в шпалах определяют соответственно типу рельсового скрепления, применяемого потребителем.
5.2.7.2 Закладные элементы должны соответствовать требованиям действующих нормативных документов страны - производителя этих деталей.
5.2.7.3 Поверхность закладных элементов, находящихся в контакте с бетоном, необходимо очистить от грязи, масла, ржавчины, спекания и других загрязнений.
5.2.7.4 Закладные элементы должны выдерживать испытания на вырыв из шпал прикладываемой нагрузкой не менее 90 кН.
5.3 Маркировка
5.3.1 Маркировку шпал выполняют в соответствии с требованиями настоящего стандарта. Допускается ранее принятая маркировка шпал до полного износа формооснастки. Способы нанесения маркировки - по ГОСТ 13015-2012 (пункты 7.6-7.14).
Схема маркировки шпал представлена на рисунке 7.
![]() |
1 - тип шпалы; 2 - товарный знак предприятия-изготовителя; 3 - год изготовления; 4 - обозначение кривой; 5 - знак обращения на рынке; 6 - обозначение шпал исполнения 2; 7 - штамп ОТК и номер партии; 8, 9 - обозначение некондиционной шпалы
Рисунок 7 - Схема маркировки шпал
5.3.2 На скосе верхней поверхности одного конца шпалы всех типов штампованием в бетоне при формировании необходимо нанести обозначение типа шпалы:
- цифрой I - для шпал типа I;
- цифрой II - для шпал типа II;
- цифрой III - для шпал типа III.
Рекомендуется дополнительно наносить номер шпальной формы и ячейки.
5.3.3 В необходимых случаях к обозначению типа шпалы может быть добавлена характеристика подтипа шпалы одной - тремя буквами. Допускается в дополнение к обозначению типа шпалы или вместо него наносить условное обозначение подтипа шпалы.
5.3.4 На скосах верхней поверхности в средней части шпалы штампованием в бетоне наносят:
- товарный знак предприятия-изготовителя на 100% шпал;
- год изготовления (двумя последними цифрами) не менее чем у 20% шпал каждой партии;
5.3.5 В концевой части каждой шпалы на верхней или боковой поверхности несмываемой краской наносят штамп ОТК и номер партии.
5.3.6 В концевой части шпал исполнения 2 на верхней поверхности не менее чем у 80% шпал наносят номер партии способом, обеспечивающим идентификацию в течение всего срока службы шпал. Номер партии наносят шрифтом высотой не менее 10 мм.
Допускаются дополнительные способы маркировки, обеспечивающие идентификацию шпалы в течение всего срока службы шпал.
5.3.7 Маркировочные надписи наносят шрифтом высотой не менее 50 мм.
5.3.8 На обоих концах шпал, признанных несоответствующими требованиям настоящего стандарта, наносят несмываемой краской две поперечные полосы шириной от 15 до 20 мм.
5.4 Требования безопасности персонала, охраны окружающей среды и утилизации
5.4.1 При изготовлении железобетонных шпал следует руководствоваться требованиями техники безопасности и производственной санитарии в соответствии с ГОСТ 12.1.005, ГОСТ 12.1.007, ГОСТ 12.1.019, ГОСТ 12.2.003, ГОСТ 12.3.002.
5.4.2 При выполнении погрузочно-разгрузочных работ со шпалами должны обеспечиваться требования ГОСТ 12.3.009.
5.4.3 В условиях хранения и эксплуатации шпалы не выделяют в окружающую среду токсичных веществ и не оказывают вредного действия на организм человека при непосредственном контакте. Работа с ними не требует применения специальных средств индивидуальной защиты.
5.4.4 По истечении назначенного срока службы (назначенного ресурса) шпалы подлежат утилизации в соответствии с порядком накопления, транспортирования, обезвреживания и захоронения промышленных отходов.
5.5 Требования ремонтопригодности
Ремонтопригодность шпал определяется разработчиком конструкции на этапе проектирования и указывается в конструкторской документации на шпалы.
6 Правила приемки
6.1 Основные положения
6.1.1 Приемку шпал проводят партиями в соответствии с ГОСТ 13015-2012 (раздел 6) и настоящим стандартом.
6.1.2 За партию принимают шпалы, изготовленные по одной технологии, в течение одной смены из материалов одного вида. Испытания проводят для каждого типа и подтипа.
6.1.3 Шпалы принимают по результатам:
- приемо-сдаточных испытаний;
- периодических испытаний.
6.1.4 Шпалы должны сопровождаться паспортом качества (см. приложение А).
6.2 Приемо-сдаточные и периодические испытания
Приемо-сдаточные и периодические испытания проводят по показателям и в объеме, указанным в таблице 6. Выборку комплектуют методом отбора "вслепую" по ГОСТ 18321.
Таблица 6 - Показатели шпал, определяемые при приемо-сдаточных и периодических испытаниях
Наименование показателя | Вид испытаний | Номер структурного элемента | Объем выборки из партии (число образцов) | |||
Приемо- сдаточные | Периоди- ческие | Технических требований | Методов испытаний | шт. | % | |
Передаточная прочность бетона шпал на сжатие | + | - | 5.2.1.3 | 7.1 | 3 | - |
Морозостойкость бетона шпал | - | + | 5.2.1.2 | 7.2 | 18/12/6 | - |
Водонепроницаемость бетона шпал | - | + | 5.2.1.7 | 7.22 | 6 | - |
Коррозионная стойкость бетона шпал | - | + | - | - | - | - |
Отклонение от прямолинейности подрельсовых площадок | - | + | 5.1.5 | 7.7 | - | |
Трещиностойкость шпал | + | - | 5.1.6 | 7.13 | 3/6 | - |
Положение дюбелей и закладных шайб в шпалах | - | + | 5.1.4, 5.1.12 | 7.8, 7.18 | - | |
Состояние каналов для болтов и шурупов | + | - | 5.1.9 | 7.19, 7.20 | - | 100 |
Электрическое сопротивление шпал | - | + | 5.1.11 | 7.16 | 3 | - |
Основные геометрические параметры шпал: A , , , , с , , | - | + | 5.1.3, 5.1.4 | 7.4-7.6, 7.8-7.10 | - | |
Подуклонка и пропеллерность шпал | - | + | 5.1.4 | 7.12 | - | |
Угол наклона оси дюбеля | - | + | 5.1.3, 5.1.4 | 7.10 | - | |
Толщина защитного слоя бетона | - | + | 5.1.7 | 7.15 | - | |
Качество бетонных поверхностей | + | - | 5.1.8 | 7.17 | - | 100 |
Маркировка | + | - | 5.3 | 7.21 | - | 100 |
Усилие вырыва закладного элемента | - | - | 5.2.7.4 | 7.14 | 3 | - |
Образцы бетона с размерами 100 100 100 мм. Объем выборки зависит от применяемого метода определения морозостойкости по ГОСТ 10060. | ||||||
Образцы бетона - по ГОСТ 12730.5. Объем выборки - по ГОСТ 13015-2012 (пункт 6.6.3, таблица 5). | ||||||
В числе образцов 3/6 числитель означает объем выборки при первом испытании, а знаменатель - при повторном. Размеры , , в готовом изделии контролируют только на шпалах с шурупно-дюбельным прикреплением. На шпалах с закладным болтом в готовом изделии не контролируют, точность размеров при этом обеспечивается формооснасткой. | ||||||
Данный вид испытаний проводят при постановке новой продукции на производство, внесении изменений в существующую конструкцию, изменении материала, а также при смене технологии изготовления шпал и (или) закладных элементов. Испытания проводят в аккредитованной и включенной в Единый реестр органов по сертификации и испытательных лабораторий (центров) испытательной лаборатории (центре). | ||||||
6.2.2 Приемку шпал по прочности бетона проводят на основании результатов испытаний на сжатие бетонных образцов-кубов партии. Шпалы принимают, если фактическая передаточная прочность бетона по результатам испытаний не ниже указанной в 5.2.1.3.
6.2.3 Для испытания на трещиностойкость от каждой партии шпал отбирают методом отбора "вслепую" по ГОСТ 18321 три шпалы.
Партию принимают по трещиностойкости, если при испытании шпалы выдержали контрольные нагрузки, указанные в таблице 3.
Шпалы считают выдержавшими испытание на трещиностойкость, если при контрольных нагрузках не обнаружены видимые трещины в подрельсовом и среднем сечениях. За видимую трещину принимают поперечную трещину в бетоне длиной более 30 мм от кромки шпалы по боковой поверхности и раскрытием у основания более 0,05 мм.
6.2.3.1 При отрицательном результате испытаний на трещиностойкость допускается разделять партию на более мелкие (2-5 партий) и предъявлять их к повторным испытаниям на тех же основаниях.
6.2.3.2 При отрицательном результате повторного испытания партию бракуют по трещиностойкости. Допускается проводить поштучные испытания на трещиностойкость всех шпал партии.
6.2.4 Периодические испытания геометрических размеров шпал проводят один раз в месяц путем выборочного контроля шпал одной из партий, методом отбора "вслепую" по ГОСТ 18321. Браковочное число при приемочном уровне дефектности не допускается. При этом контролируют размеры, допустимые отклонения которых представлены в таблице 2 и пунктах 5.1.8, 5.1.11, 5.1.15.
6.2.5 Периодические испытания на электрическое сопротивление шпал проводят один раз в месяц путем выборочного контроля шпал одной из партий. Методом отбора "вслепую" по ГОСТ 18321 от каждой партии отбирают три шпалы. Если при испытании электрическое сопротивление всех трех шпал удовлетворяет нормативному значению, указанному в 5.1.11, то партию принимают по электрическому сопротивлению.
Если хотя бы у одной шпалы электрическое сопротивление не соответствует нормативному значению, указанному в 5.1.11, то партию бракуют. Допускается проводить поштучные испытания шпал на электрическое сопротивление.
6.2.6 Периодические испытания морозостойкости бетона шпал проводят не реже одного раза в 6 мес, а также при изменении вида материалов для бетона, технологии приготовления и укладки бетонной смеси, условий твердения бетона.
6.2.7 Приемку шпал исполнения 2 на водонепроницаемость проводят по ГОСТ 12730.5 на основании результатов периодических испытаний шести бетонных образцов не реже одного раза в 6 мес или при изменении состава бетонной смеси.
6.3 Испытания для обязательного подтверждения соответствия
6.3.1 Испытания для обязательного подтверждения соответствия железобетонных шпал проводят по показателям и в объеме, указанным в таблице 7. Выборку комплектуют методом отбора "вслепую" по ГОСТ 18321 из партии, прошедшей приемо-сдаточные испытания.
Таблица 7 - Показатели шпал, определяемые при испытаниях для обязательного подтверждения соответствия
Наименование показателя | Номер структурного элемента | Объем выборки | |
Технических требований | Методов испытаний | из партии (число образцов), шт. | |
Передаточная прочность бетона шпал на сжатие | 5.2.1.3 | 7.1 | 3 |
Морозостойкость бетона шпал | 5.2.1.2 | 7.2 | 18/12/6 |
Отклонение от прямолинейности подрельсовых площадок | 5.1.4 | 7.7 | 4) |
Трещиностойкость шпал | 5.1.6 | 7.13 | 3 |
Электрическое сопротивление шпал | 5.1.11 | 7.16 | 3 |
Основные геометрические параметры шпал: A , , , , с , , | 5.1.3, 5.1.4 | 7.4-7.6, 7.8-7.10 | |
Подуклонка и пропеллерность шпал | 5.1.4 | 7.12 | |
Угол наклона оси дюбеля | 5.1.3, 5.1.4 | 7.10 | |
Толщина защитного слоя бетона | 5.1.7 | 7.15 | |
Качество бетонных поверхностей | 5.1.8 | 7.17 | |
Маркировка | 5.3 | 7.21 | |
Образцы бетона с размерами 100 100 100 мм. | |||
Заявитель представляет документы по результатам испытаний, проведенных аккредитованной и включенной в Единый реестр органов по сертификации и испытательных лабораторий (центров) испытательной лабораторией (центром) по ГОСТ 10060 с подтверждением метрологического обеспечения испытаний. | |||
Объем выборки зависит от применяемого метода определения морозостойкости. Объем выборки - по ГОСТ 13015-2012 (пункт 6.6.3, таблица 5). | |||
6.3.2 Железобетонные шпалы считают выдержавшими испытания, если по всем показателям получены положительные результаты.
7 Методы контроля
7.1 Прочность бетона на сжатие определяют по ГОСТ 10180-2012 (подраздел 7.2) на серии образцов, изготовленных из смеси рабочего состава.
7.2 Морозостойкость бетона следует определять по ГОСТ 10060 первым базовым, вторым и третьим ускоренными методами. Допускается применение других методов определения марок по морозостойкости при условии обязательного определения коэффициента перехода в соответствии с ГОСТ 10060-2012 (приложение Б).
7.3 Линейные размеры шпал следует определять в соответствии с требованиями ГОСТ 26433.1.
7.4 Расстояние A - штангенциркулем по ГОСТ 166-89 (пункт 1.1) по продольной оси шпалы.
7.4.1 В шпалах типа I губки штангенциркуля должны касаться по линии пересечения в точках упорных кромок углублений в соответствии с рисунком 8 а.
![]() |
а - на уровне кромок упорных плоскостей углублений в подрельсовых площадках в шпалах типа I
![]() |
б - на уровне подрельсовых площадок в шпалах типа III
![]() |
в - между наружными выступами головок анкеров в шпалах типа II
Рисунок 8 - Схема измерения размера A по оси шпалы
7.4.2 В шпалах типа III ножки штангенциркуля должны касаться шпалы по линии пересечения плоскости углубления с плоскостью подрельсовой площадки в соответствии с рисунком 8 б. Линию пересечения этих плоскостей определяют наложением металлического шаблона (см. рисунок 9) на подрельсовую площадку с упором острого конца шаблона в упорную плоскость углубления. Допускается применение другого вспомогательного оборудования, позволяющего определять линию пересечения плоскостей.
![]() |
Рисунок 9 - Металлический шаблон
7.4.3 В шпалах типа II ножки штангенциркуля должны касаться внутренних плоскостей наружных головок анкеров на противоположных концах шпалы на уровне выхода головок из бетона [см. рисунок 8 в].
![]() |
а - на уровне кромок в шпалах типа I
![]() |
б - на уровне подрельсовой площадки в шпалах типа III
![]() |
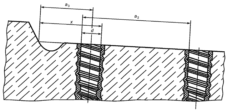
Рисунок 11 - Схема контроля расположения дюбелей на подрельсовой площадке в шпалах типа II
где d - диаметр отверстия в дюбеле;
х - расстояние от упорной плоскости углубления в площадке до ближайшего отверстия.
7.6 Глубину выкружки c в шпалах типа III измеряют штангенциркулем типа Г по ГОСТ 166-89 (пункт 1.1) от уровня подрельсовой площадки по схеме, приведенной на рисунке 12.
![]() |
Рисунок 12 - Схема контроля глубины выкружки в подрельсовой площадке шпал типа III
Размер c вычисляют по формуле
где S - толщина пластины, мм;
V - расстояние от верха пластины до центра выкружки, мм.
7.7 Отклонения от прямолинейности подрельсовой площадки контролируют по ГОСТ 26433.1-89 (приложение 1, таблица 1, пункт 3.1.2) измерением наибольшего зазора между плоскостью площадки и ребром металлической линейки по ГОСТ 427-75 (разделы 1, 2).
7.8 Глубину заделки в бетоне закладных шайб контролируют штангенциркулем типа I по ГОСТ 166-89 (пункт 1.1) или штангенглубиномером типа ШГ по ГОСТ 162.
7.9 Высоту шпалы в подрельсовом и среднем сечениях контролируют штангенциркулем по ГОСТ 166.
![]() |
где Z - угол наклона оси дюбеля к плоскости подрельсовой площадки по шкале угломера, град.
где F - толщина металлической пластины, мм;
m - расстояние от верха металлической пластины до верха подрельсовой площадки, мм.
![]() |
Рисунок 14 - Схема контроля высоты головки анкера
где A - базовая длина, мм;
y - нормативное значение подуклонки;
Значение пропеллерности подрельсовых площадок шпал П, полученное при измерении прибором ПКП, вычисляют по формуле
где A - базовая длина, мм;
7.13 Испытания шпал на трещиностойкость следует проводить при положительной температуре воздуха и не ранее чем после набора бетоном отпускной прочности на сжатие, указанной в конструкторской документации.
Шпалы, хранившиеся при отрицательной температуре или поступившие на испытания непосредственно после термовлажностной обработки, необходимо предварительно выдержать в течение не менее одних суток в помещении при температуре не ниже 15°С.
Для испытания на трещиностойкость отбирают три шпалы.
Шпалы испытывают в подрельсовом и среднем сечениях путем приложения статической нагрузки на прессе по схемам, представленным на рисунке 15.
![]() |
а - в подрельсовом сечении
![]() |
б - в среднем сечении при изгибе вверх
1 - стальная пластина толщиной не менее 25 мм, с уклоном нижнего основания 1:20; 2 - стальная пластина; 3 - упругая прокладка: деревянная толщиной не менее 25 мм или резиновая толщиной не менее 10 мм; 4 - стальная опора; 5 - стальная пластина толщиной не менее 75 мм (для шпал типа II)
Рисунок 15 - Схема испытаний шпалы на трещиностойкость
В каждом сечении нагрузку равномерно, с приращением не более 2 кН/с (200 кгс/с), доводят до контрольного значения, указанного в таблице 3, поддерживают ее постоянной в течение не менее 2 мин и осматривают с двух сторон боковые поверхности шпалы с целью обнаружения видимых трещин. За видимую трещину принимают поперечную трещину в бетоне длиной более 30 мм от кромки шпалы по боковой поверхности и раскрытием у основания более 0,05 мм. Измерение длины и раскрытия трещин - по ГОСТ 26433.1.
Освещенность поверхности бетона должна быть не менее 3000 лк.
7.14 Определение усилия вырыва закладного элемента проводят на трех шпалах (один элемент на каждой шпале). Испытанию подвергается ближайший к торцу шпалы закладной элемент крайней подрельсовой площадки. Схема испытания приведена на рисунке 16. Нагрузку прикладывают по оси болта или шурупа со скоростью (50±10) кН/мин, пока не будет достигнуто необходимое значение. Требуемая нагрузка указывается разработчиком в конструкторской документации на шпалы и должна быть не менее 90 кН. Прикладываемую нагрузку выдерживают в течение (180±15) сек и плавно снимают. Глубина заложения закладного элемента после испытаний должна соответствовать 5.1.4 и 5.1.12. На поверхности шпал не допускаются трещины.
Результат считают положительным, если все три закладных элемента выдержали требуемую нагрузку.
![]() |
Рисунок 16 - Схема испытания на усилие вырыва закладного элемента
7.15 Толщину защитного слоя бетона t над верхним рядом арматуры контролируют по ГОСТ 22904 или штангенциркулем типа I по ГОСТ 166-89 (пункт 1.1) на торцах шпал по схеме, приведенной на рисунке 17.
![]() |
Рисунок 17 - Схема определения толщины t защитного слоя бетона
7.16 Для измерения электрического сопротивления шпал на каждую подрельсовую площадку укладывают резиновую прокладку и металлическую пластину толщиной от 2 до 4 мм, прикрепляя ее двумя шурупами или закладными болтами. Измерение проводят омметром по ГОСТ 23706-93 (подразделы 5.1-5.3) по схеме, представленной на рисунке 18, в закрытом помещении. Шпала должна быть изолирована от земли и находиться в сухом состоянии не менее 6 ч после распалубки. Места контакта пластины со щупами омметра зачищают до металлического блеска.
![]() |
Рисунок 18 - Схема измерения электрического сопротивления шпалы
Отсчеты по шкале омметра проводят дважды с изменением полярности прибора. Наименьшее значение электрического сопротивления между пластинами принимают за действительное сопротивление шпалы и сравнивают с нормативным значением, указанным в 5.1.11.
7.17 Качество бетонных поверхностей по наплывам бетона контролируют путем сплошного визуального контроля. Глубину и наибольший размер раковин и околов бетона контролируют штангенциркулем типа I по ГОСТ 166-89 (пункт 1.1).
7.18 Глубину заложения дюбеля в шпале относительно уровня подрельсовой площадки контролируют штангенциркулем с глубиномером типа I по ГОСТ 166-89 (пункт 1.1).
7.19 Отсутствие в каналах шпалы наплывов бетона, препятствующих установке и повороту болта в рабочее положение, проверяют контрольным инструментом, рабочий орган которого имеет форму закладного болта по ГОСТ 16017 с наибольшим верхним допуском в размерах головки. Проверяют все четыре канала контролируемой шпалы.
7.20 Отсутствие в каналах дюбелей наплывов бетона, препятствующих установке путевых шурупов в рабочее положение, проверяют шаблоном (см. рисунок 19) для контроля прямолинейности внутреннего канала в дюбеле.
Рисунок 19 - Схема шаблона для контроля прямолинейности внутреннего канала в дюбеле
7.21 Маркировку шпал контролируют путем сплошного визуального контроля.
7.22 Испытательное оборудование должно быть аттестовано, а средства измерений поверены.
7.23 Марку бетона по водонепроницаемости определяют по ГОСТ 12730.5.
7.24 Подтверждение назначенного ресурса при постановке на производство проводят в соответствии с методикой, утвержденной владельцем инфраструктуры.
8 Оформление результатов приемо-сдаточных и периодических испытаний
8.1 Результаты приемо-сдаточных и приемочных испытаний подлежат регистрации.
8.2 Срок хранения результатов испытаний устанавливается равным гарантийному сроку эксплуатации шпал.
9 Транспортирование и хранение
9.1 Транспортирование и хранение шпал следует проводить в соответствии с требованиями ГОСТ 13015-2012 (подразделы 8.4, 8.5).
9.2 Шпалы при складировании укладывают в рабочем положении (подошвой вниз).
Допускается складирование шпал другим способом, обеспечивающим сохранность изделий, согласно разработанной технологической документации.
9.4 По высоте в штабелях должно быть не более 16 рядов шпал. Расстояния между штабелями - не менее 1 м.
9.5 Шпалы разных типов, подтипов и исполнений транспортируют и складируют отдельно.
9.6 При выполнении погрузочно-разгрузочных работ с железобетонными шпалами следует руководствоваться требованиями ГОСТ 12.3.009.
10 Гарантия изготовителя
10.1 Предприятия - изготовители шпал гарантируют соответствие выпускаемых железобетонных шпал требованиям настоящего стандарта при соблюдении заказчиком условий транспортирования, хранения и эксплуатации в соответствии с ГОСТ 13015-2012 (раздел 8).
10.2 Гарантийный срок эксплуатации железобетонных шпал в трамвайном пути при условии выполнения установленных правил транспортирования, выгрузки, хранения, сборки, укладки, периодичности ремонтов и эксплуатации верхнего строения пути составляет два года со дня укладки.
11 Назначенный ресурс
Назначенный ресурс железобетонных шпал устанавливается разработчиком конструкции на этапе проектирования и указывается в конструкторской документации на шпалы.
УДК 625.142:006.354 | МКС 93.100 | ||
Ключевые слова: шпалы железобетонные предварительно напряженные для трамвайных путей широкой колеи, скоростные трамвайные линии, обычные трамвайные линии, технические условия, методы контроля, правила приемки | |||























